TOP
|
特許
|
意匠
|
商標
特許ウォッチ
Twitter
他の特許を見る
公開番号
2025146300
公報種別
公開特許公報(A)
公開日
2025-10-03
出願番号
2024046992
出願日
2024-03-22
発明の名称
光学的パターン表示システム
出願人
株式会社村田製作所
代理人
個人
,
個人
,
個人
主分類
A47F
7/02 20060101AFI20250926BHJP(家具;家庭用品または家庭用設備;コーヒーひき;香辛料ひき;真空掃除機一般)
要約
【課題】意匠性への影響を最低限に抑えつつ、光学的パターンを表示することができる光学的パターン表示システムを提供する。
【解決手段】本開示の光学的パターン表示システムは、レーザー光を照射する照射装置2と、照射装置2からの光が照射されて光学的パターンPを生じさせるコロイド構造物CSを有する物品と、を備えている。
【選択図】図1
特許請求の範囲
【請求項1】
レーザー光を照射する照射装置と、
前記照射装置からの光が照射されて光学的パターンを生じさせるコロイド構造物を有する物品と、
を備えた、光学的パターン表示システム。
続きを表示(約 380 文字)
【請求項2】
前記物品に、光学的パターンを表示するスクリーンをさらに備えた、請求項1に記載の光学的パターン表示システム。
【請求項3】
前記コロイド構造物は、フィルム状の基材に設けられている、請求項1に記載の光学的パターン表示システム。
【請求項4】
前記照射装置は、筐体内に設けられており、
前記筐体には、前記照射装置からの光が照射される位置に、前記物品を収容する収容空間が設けられている、請求項1に記載の光学的パターン表示システム。
【請求項5】
前記コロイド構造物は、1つのコロイド粒子の周囲に6つのコロイド粒子が配置されて平面視で六角形状に並んでいる、または、1つのコロイド粒子の周囲に4つのコロイド粒子が配置されて平面視で四角形状に並んでいる、請求項1に記載の光学的パターン表示システム。
発明の詳細な説明
【技術分野】
【0001】
本開示は、光学的パターン表示システムに関する。
続きを表示(約 1,500 文字)
【背景技術】
【0002】
特許文献1には、支持部上に配置および保持される少なくとも1つの透明又は半透明の装飾要素を含み、装飾要素は、宝石の形態および外観をとり、装飾要素によって光の反射または屈折を生じさせて視覚効果をもたらすように、支持部と装飾要素との間に配置された発光材料層を含む、携行用物品が開示されている。
【先行技術文献】
【特許文献】
【0003】
特表2011-527198号公報
【発明の概要】
【発明が解決しようとする課題】
【0004】
特許文献1に開示された携行用物品は、支持部上に装飾要素を含むため、携行用物品の上方から支持部を視認すると、宝石の形態および外観である装飾要素を識別することが可能である。そのため、宝石の形態および外観である装飾要素が携行用物品の意匠性に多かれ少なかれ影響を及ぼしていた。
【0005】
本願発明者はかかる点に着目し、装飾要素が携行用物品の意匠性への影響を最低限に抑える発明を着想し、具体化するに至った。したがって、本開示の主たる目的は、意匠性への影響を最低限に抑えつつ、光学的パターンを表示することができる光学的パターン表示システムを提供することである。
【課題を解決するための手段】
【0006】
本開示の光学的パターン表示システムは、
レーザー光を照射する照射装置と、
前記照射装置からの光が照射されて光学的パターンを生じさせるコロイド構造物を有する物品と、
を備えている。
【発明の効果】
【0007】
本開示の光学的パターン表示システムによれば、光源からの光がコロイド構造物に照射されることによって、光学的パターンを表示することができる。一方で、照射装置からの光が照射されていないときは、数μmオーダーのコロイド構造物を視認することが困難であり、コロイド構造物が意匠性に影響を及ぼすことを最低限に抑えることができる。
【図面の簡単な説明】
【0008】
図1は、本開示の光学的パターン表示システムを構成する物品および照射装置の斜視図である。
図2(a)は、本開示の光学的パターン表示システムに用いられる物品の斜視図であり、図2(b)は、図2(a)の破線領域のコロイド構造物の拡大図であり、図2(c)は、文字盤、短針及び長針、ケースの位置関係を説明する模式図である。
図3Aは、コロイド構造物の表面図である。
図3Bは、コロイド構造物の表面図である。
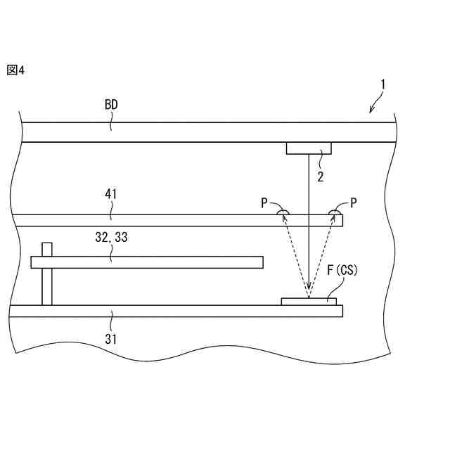
図4は、本開示の光学的パターン表示システムにおいて、光学的パターンを表示させている状態の模式図である。
【発明を実施するための形態】
【0009】
以下では、本開示の一実施形態に係る光学的パターン表示システムをより詳細に説明する。必要に応じて図面を参照して説明を行うものの、図面における各種の要素は、本開示の理解のために模式的かつ例示的に示したにすぎず、外観や寸法比などは実物と異なり得る。
【0010】
(本開示の光学的パターン表示システムについて)
本開示の光学的パターン表示システム1は、レーザー光を照射する照射装置2と、照射装置2からの光が照射されて光学的パターンPを生じさせるコロイド構造物CSを有する物品3と、を備えている。また、任意の構成として照射装置2または物品3に光学的パターンを表示するスクリーンを設けてよい。以下、本開示の光学的パターン表示システムを構成する構成要素(照射装置2および物品3)について、詳述する。
(【0011】以降は省略されています)
この特許をJ-PlatPat(特許庁公式サイト)で参照する
関連特許
株式会社村田製作所
電池
10日前
株式会社村田製作所
釣り具
9日前
株式会社村田製作所
電子部品
2日前
株式会社村田製作所
噴霧ノズル
4日前
株式会社村田製作所
フィルタ回路
6日前
株式会社村田製作所
インダクタ部品
16日前
株式会社村田製作所
積層インダクタ
6日前
株式会社村田製作所
複合型電子部品
2日前
株式会社村田製作所
呼吸検出システム
6日前
株式会社村田製作所
多層基板及び電子機器
6日前
株式会社村田製作所
多層基板及び電子機器
6日前
株式会社村田製作所
積層セラミック電子部品
2日前
株式会社村田製作所
積層セラミック電子部品
3日前
株式会社村田製作所
積層セラミック電子部品
3日前
株式会社村田製作所
光学的パターン表示物品
2日前
株式会社村田製作所
樹脂多層基板及び電子機器
6日前
株式会社村田製作所
樹脂多層基板及び電子機器
6日前
株式会社村田製作所
積層セラミックコンデンサ
6日前
株式会社村田製作所
積層セラミックコンデンサ
9日前
株式会社村田製作所
積層セラミックコンデンサ
6日前
株式会社村田製作所
タブおよび電池モジュール
2日前
株式会社村田製作所
積層セラミックコンデンサ
4日前
株式会社村田製作所
積層セラミックコンデンサ
3日前
株式会社村田製作所
電池および電池の製造方法
2日前
株式会社村田製作所
タブおよび電池モジュール
2日前
株式会社村田製作所
積層インダクタの製造方法
2日前
株式会社村田製作所
光学的パターン表示システム
2日前
株式会社村田製作所
電子部品およびその製造方法
2日前
株式会社村田製作所
モジュール基板及び電子機器
6日前
株式会社村田製作所
高周波モジュール及び通信装置
2日前
株式会社村田製作所
弾性波フィルタ及び高周波回路
2日前
株式会社村田製作所
高周波モジュール及び通信装置
2日前
株式会社村田製作所
転倒検知装置、及び転倒検知方法
3日前
株式会社村田製作所
弾性波フィルタ及び高周波モジュール
9日前
株式会社村田製作所
弾性波フィルタ及び高周波モジュール
9日前
株式会社村田製作所
多層基板、モジュール基板及び電子機器
6日前
続きを見る
他の特許を見る