TOP
|
特許
|
意匠
|
商標
特許ウォッチ
Twitter
他の特許を見る
公開番号
2025145258
公報種別
公開特許公報(A)
公開日
2025-10-03
出願番号
2024045346
出願日
2024-03-21
発明の名称
電子部品
出願人
株式会社村田製作所
代理人
個人
,
個人
主分類
H01F
27/29 20060101AFI20250926BHJP(基本的電気素子)
要約
【課題】金属層の外表面と基板等との間に空気が残存することがある。
【解決手段】電子部品10は、素体11と、第1下地電極21Aと、第1金属層22Aと、を備える。第1下地電極21Aの外表面23は、平坦面24と、当該平坦面24に対して窪んだ凹部25とを有している。第1金属層22Aは凹部25を埋めており、且つ当該第1金属層22Aの外表面は平坦である。第1金属層22Aのうち最も外側の最外層の融点は、240℃以下である。
【選択図】図1
特許請求の範囲
【請求項1】
素体と、
前記素体の外面の少なくとも一部を覆う下地電極と、
前記下地電極の外表面を覆う金属層と、
を備え、
前記下地電極の外表面は、平坦面と、当該平坦面に対して窪んだ凹部とを有し、
前記金属層は前記凹部を埋めており、且つ当該金属層の外表面は平坦であり、
前記金属層のうち最も外側の最外層の融点は、240℃以下である
電子部品。
続きを表示(約 1,000 文字)
【請求項2】
前記金属層は、第1層と、当該第1層を覆う前記最外層としての第2層と、を有し、
前記第2層の融点は、前記第1層の融点よりも低く、
前記第1層の前記凹部を覆う部分の外表面は、前記第1層の前記平坦面を覆う部分の外表面に対して窪んでおり、
前記第2層は、前記第1層における窪んだ部分を埋めており、且つ、当該第2層の外表面は平坦である
請求項1に記載の電子部品。
【請求項3】
前記下地電極は銀を含んでおり、
前記第1層はニッケル及び金のうち1以上を含んでおり、
前記第2層はスズを含んでいる
請求項2に記載の電子部品。
【請求項4】
前記第1層における窪んだ部分の幅は、当該第1層の厚みの1倍以上6.0倍以下である
請求項2に記載の電子部品。
【請求項5】
前記凹部の中心線の寸法は、当該中心線に直交する方向の寸法である当該凹部の幅の最大値に対して5倍以上である
請求項1に記載の電子部品。
【請求項6】
前記幅は、4μm以上26μm以下である
請求項5に記載の電子部品。
【請求項7】
前記素体は、矩形状の外面を有しており、
前記下地電極は前記矩形状の外面の少なくとも一部を覆っており、
前記矩形状の外面に直交する方向を向いて透視したとき、
前記凹部の中心線は、前記矩形状の外面の辺に沿っている
請求項1に記載の電子部品。
【請求項8】
前記矩形状の外面が有する辺のうち特定の辺を第1辺とし、当該第1辺に交差する方向に延びる辺を第2辺としたとき、
前記矩形状の外面に直交する方向を向いて透視した場合に、
前記凹部は、前記第1辺に沿って延びる第1凹部と、前記第2辺に沿って延びる第2凹部と、を含む
請求項7に記載の電子部品。
【請求項9】
前記平坦面に直交する方向を向いて透視したとき、
前記凹部の外縁は、前記下地電極の外縁と交わらない
請求項1に記載の電子部品。
【請求項10】
前記平坦面に直交する断面で断面視した場合に、
前記凹部は、前記平坦面に対して矩形状に窪んでいる
請求項1に記載の電子部品。
(【請求項11】以降は省略されています)
発明の詳細な説明
【技術分野】
【0001】
本発明は、電子部品に関する。
続きを表示(約 1,500 文字)
【背景技術】
【0002】
特許文献1に開示されている電子部品は、素体と、外部電極とを備えている。素体の材質は、セラミックスである。外部電極は、素体の外表面を覆っている。外部電極は、凹部を有している。凹部は、外部電極における他の部分に対して素体側へと窪んだ部分である。電子部品を基板等に実装する際には、はんだによって外部電極と基板等とを接合する。
【先行技術文献】
【特許文献】
【0003】
特開2020-141079号公報
【発明の概要】
【発明が解決しようとする課題】
【0004】
特許文献1に記載されているような電子部品において、当該電子部品を基板等に実装する際、外部電極の凹部の空間内にはんだが行き渡らずに、当該凹部内に気泡が残存することがある。はんだが凝固した後にもこの気泡が残留していると、外部電極が基板から剥がれる原因となり得る。
【課題を解決するための手段】
【0005】
上記課題を解決するため、本発明は、素体と、前記素体の外面の少なくとも一部を覆う下地電極と、前記下地電極の外表面を覆う金属層と、を備え、前記下地電極の外表面は、平坦面と、当該平坦面に対して窪んだ凹部とを有し、前記金属層は前記凹部を埋めており、且つ当該金属層の外表面は平坦であり、前記金属層のうち最も外側の最外層の融点は、240℃以下である電子部品である。
【発明の効果】
【0006】
金属層の外表面と基板等との間に空気が残存しにくくできる。
【図面の簡単な説明】
【0007】
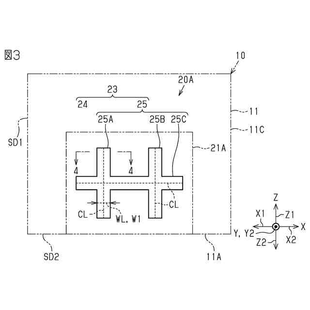
図1は、第1実施形態における電子部品の斜視図である。
図2は、第1実施形態における電子部品の内部構造を示す斜視図である。
図3は、第1実施形態における電子部品の側面図である。
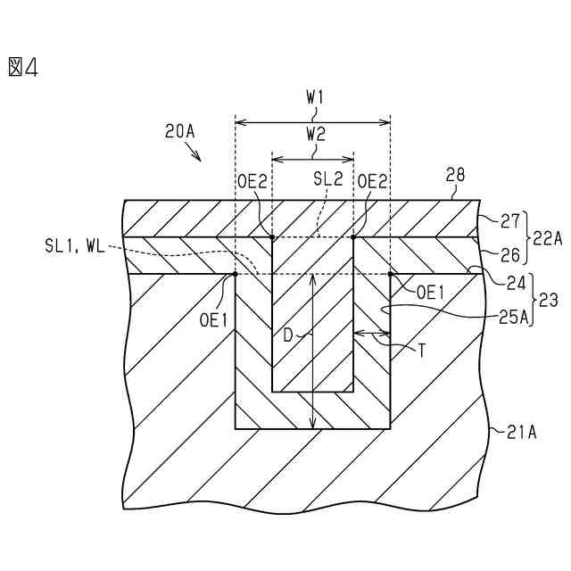
図4は、第1実施形態における外部電極の拡大断面図である。
図5は、第2実施形態における電子部品の斜視図である。
図6は、変更例における外部電極の拡大断面図である。
【発明を実施するための形態】
【0008】
以下、電子部品の第1実施形態及び第2実施形態を説明する。なお、図面は理解を容易にするための模式図であり、構成要素を拡大及び省略している場合がある。そのため、構成要素の寸法比率は実際のものと異なる場合がある。
【0009】
<電子部品の第1実施形態>
(全体構成について)
図1に示すように、電子部品10は、素体11を備えている。また、図2に示すように、電子部品10は、素体11の一部としてインダクタ配線12を備えている。すなわち、第1実施形態における電子部品10は、積層型のインダクタ部品である。
【0010】
図面において図示は省略しているが、素体11は、全体として複数の板状の層が積層された構造となっている。これらの層は、平面視で略長方形状である。図1に示すように、素体11は、略直方体状である。そのため、素体11が有する外面の外縁形状は、平面視においていずれも矩形状である。これら外面のうち、特定の方向を向く面を実装面11Aとする。そして、当該実装面11Aに平行な面を天面11Bとする。実装面11Aに垂直な外面のうち、特定の面を第1端面11Cとする。当該第1端面11Cに平行な面を第2端面11Dとする。また、実装面11A及び第1端面11Cのいずれにも垂直な2つの外面を側面11Eとする。
(【0011】以降は省略されています)
この特許をJ-PlatPat(特許庁公式サイト)で参照する
関連特許
株式会社村田製作所
電池
10日前
株式会社村田製作所
釣り具
9日前
株式会社村田製作所
電子部品
2日前
株式会社村田製作所
高周波回路
1か月前
株式会社村田製作所
噴霧ノズル
4日前
株式会社村田製作所
コイル部品
16日前
株式会社村田製作所
高周波回路
1か月前
株式会社村田製作所
流体制御装置
17日前
株式会社村田製作所
フィルタ回路
6日前
株式会社村田製作所
弾性波フィルタ
16日前
株式会社村田製作所
インダクタ部品
16日前
株式会社村田製作所
グラビア印刷版
24日前
株式会社村田製作所
複合型電子部品
2日前
株式会社村田製作所
積層インダクタ
6日前
株式会社村田製作所
呼吸検出システム
6日前
株式会社村田製作所
多層基板及び電子機器
6日前
株式会社村田製作所
多層基板及び電子機器
6日前
株式会社村田製作所
積層セラミック電子部品
18日前
株式会社村田製作所
光学的パターン表示物品
2日前
株式会社村田製作所
積層セラミック電子部品
18日前
株式会社村田製作所
積層セラミック電子部品
2日前
株式会社村田製作所
積層セラミック電子部品
3日前
株式会社村田製作所
積層セラミック電子部品
25日前
株式会社村田製作所
積層セラミック電子部品
3日前
株式会社村田製作所
積層セラミック電子部品
18日前
株式会社村田製作所
積層セラミックコンデンサ
1か月前
株式会社村田製作所
積層セラミックコンデンサ
3日前
株式会社村田製作所
積層セラミックコンデンサ
4日前
株式会社村田製作所
電池および電池の製造方法
2日前
株式会社村田製作所
積層インダクタの製造方法
2日前
株式会社村田製作所
積層セラミックコンデンサ
6日前
株式会社村田製作所
積層セラミックコンデンサ
18日前
株式会社村田製作所
樹脂多層基板及び電子機器
6日前
株式会社村田製作所
樹脂多層基板及び電子機器
6日前
株式会社村田製作所
タブおよび電池モジュール
2日前
株式会社村田製作所
タブおよび電池モジュール
2日前
続きを見る
他の特許を見る