TOP
|
特許
|
意匠
|
商標
特許ウォッチ
Twitter
他の特許を見る
10個以上の画像は省略されています。
公開番号
2025153924
公報種別
公開特許公報(A)
公開日
2025-10-10
出願番号
2024056645
出願日
2024-03-29
発明の名称
チャック付き包装袋
出願人
味の素株式会社
代理人
個人
,
個人
,
個人
,
個人
,
個人
,
個人
,
個人
,
個人
,
個人
主分類
B65D
33/25 20060101AFI20251002BHJP(運搬;包装;貯蔵;薄板状または線条材料の取扱い)
要約
【課題】開口部が上から見たときに長手方向に対して垂直方向に大きく開いた状態が維持される包装袋を提供すること。とりわけ、開口部が上から見たときにチャックの延在する方向に対して垂直方向に大きく開き、かつ、その状態で維持される、チャック付き包装袋を提供すること。
【解決手段】チャック付き包装袋の包装袋本体の正面および背面に縦方向の山折り線を少なくとも一組設けることによって、上記課題を解決した。
【選択図】図1
特許請求の範囲
【請求項1】
包装袋本体の開口部に該開口部を開放可能に封止するチャックを有し、
包装袋本体の正面および背面に縦方向の山折り線を少なくとも一組設けてなり、該山折り線は、
i)包装袋本体の上端から、少なくともチャックの下端に至る長さを有するか;または、
ii)包装袋本体の下端から、包装袋本体の長さの少なくとも50%の長さを有する、
チャック付き包装袋。
続きを表示(約 140 文字)
【請求項2】
チャックに少なくとも1つの低嵌合部を有する、請求項1に記載のチャック付き包装袋。
【請求項3】
包装袋本体の内部空間に内容物が収容されており、
開口部がシールされている、
請求項1または2に記載のチャック付き包装袋。
発明の詳細な説明
【技術分野】
【0001】
本発明は、開口部を大きく広げ、かつ、維持することが可能なチャック付き包装袋に関する。
続きを表示(約 2,200 文字)
【背景技術】
【0002】
従来より、プラスチックフィルムを用いた包装袋が様々な用途で用いられてきた。
とりわけ、チャック付き包装袋は、安価であり、かつ、開封および密封が容易であることから、従来より様々な用途で用いられてきた。
例えば、特許文献1には、チャックの一部に非嵌合部を設けることで開口部が8角形を保持することが可能となった、チャック付き包装袋が開示されている。
また、特許文献2には、チャック(ファスナー)に低嵌合強度部を設けることで開封時に発生する音の大きさを小さくすることが可能となった、チャック付き包装袋(パウチ)が開示されている。
【先行技術文献】
【特許文献】
【0003】
特許第6565150号明細書
特開2015-067160号公報
【発明の概要】
【発明が解決しようとする課題】
【0004】
しかしながら、従来の包装袋における開口部は、チャックの有無に関わらず、上から見たときに長手方向に対して垂直方向に開いた状態を維持しにくく(使用者が手を離すと元の状態に戻ってしまい)、内容物の投入や取り出しのための操作性に課題があった。
とりわけ、従来のチャック付き包装袋における開口部は、チャックの剛性が包装袋本体に比べて大きいことに起因して、上から見たときにチャックの延在する方向に対して垂直方向には開きにくく、また、開いた状態を維持しにくいという課題があった。
【0005】
そこで、本発明は、開口部が上から見たときに長手方向に対して垂直方向に大きく開いた状態で維持される包装袋を提供することを目的とする。
とりわけ、本発明は、開口部が上から見たときにチャックの延在する方向に対して垂直方向に大きく開き、かつ、その状態で維持される、チャック付き包装袋を提供することを目的とする。
【課題を解決するための手段】
【0006】
本発明者らは、上記の課題を解決すべく鋭意検討した結果、チャック付き包装袋の包装袋本体の正面および背面に縦方向の山折り線を少なくとも一組設けることで、開口部を上から見たときにチャックの延在する方向に対して垂直方向に大きく開くこと、および、その状態を維持することに初めて成功し、本発明を完成するに至った。
【0007】
本発明の主たる構成は、次の通りである。
[1]
包装袋本体の開口部に該開口部を開放可能に封止するチャックを有し、
包装袋本体の正面および背面に縦方向の山折り線を少なくとも一組設けてなり、該山折り線は、
i)包装袋本体の上端から、少なくともチャックの下端に至る長さを有するか;または、
ii)包装袋本体の下端から、包装袋本体の長さの少なくとも50%の長さを有する、
チャック付き包装袋。
[2]
チャックに少なくとも1つの低嵌合部を有する、[1]に記載のチャック付き包装袋。
[3]
包装袋本体の内部空間に内容物が収容されており、
開口部がシールされている、
[1]または[2]に記載のチャック付き包装袋。
【発明の効果】
【0008】
本発明によれば、開口部が上から見たときにチャックの延在する方向に対して垂直方向に大きく開き、かつ、その状態で維持される、チャック付き包装袋を提供することができる。
【図面の簡単な説明】
【0009】
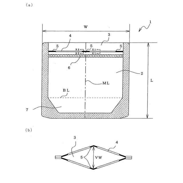
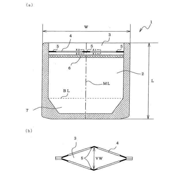
図1(a)は、本発明のチャック付き包装袋の一実施形態の正面図である。図1(a)中、BLは包装袋本体の内部空間と底ガセットとの間の境界線を示す。また、図1(a)に示されているハッチングは、シール部を示している。図1(b)は、本発明のチャック付き包装袋の一実施形態の開封した状態における開口部を上から見たときの模式図である。
図2は、本発明のチャック付き包装袋のチャックの概念図である。
図3-1は、実施例1~3のパウチの外観正面図である。なお、各図はパウチの外観を模式的に表すためのものであり、縮尺、縦横の寸法比などは必ずしも整合していない(図3-2~図5-3においても同様である)。
図3-2は、実施例4、比較例1および実施例5のパウチの外観正面図である。
図3-3は、実施例6および7ならびに比較例2のパウチの外観正面図である。
図3-4は、実施例8~10のパウチの外観正面図である。
図3-5は、実施例11および12のパウチの外観正面図である。
図3-6は、実施例13および14のパウチの外観正面図である。
図4-1は、実施例22~24のパウチの外観正面図である。
図4-2は、実施例25~27のパウチの外観正面図である。
図5-1は、参考例6~8のパウチの外観正面図である。
図5-2は、参考例9~11のパウチの外観正面図である。
図5-3は、参考例12のパウチの外観正面図である。
【発明を実施するための形態】
【0010】
以下、本発明を実施するための形態について、図面を参照しながら詳細に説明する。
(【0011】以降は省略されています)
この特許をJ-PlatPat(特許庁公式サイト)で参照する
関連特許
味の素株式会社
樹脂シート
20日前
味の素株式会社
樹脂組成物
5日前
味の素株式会社
樹脂組成物
10日前
味の素株式会社
樹脂組成物
24日前
味の素株式会社
樹脂組成物
5日前
味の素株式会社
樹脂組成物
24日前
味の素株式会社
樹脂組成物
5日前
味の素株式会社
樹脂組成物
5日前
味の素株式会社
樹脂シート
20日前
味の素株式会社
樹脂組成物
10日前
味の素株式会社
エポキシ樹脂
10日前
味の素株式会社
基板の製造方法
9日前
味の素株式会社
マレイミド樹脂
10日前
味の素株式会社
ミネラル強化食品
9日前
味の素株式会社
積層体の製造方法
1か月前
味の素株式会社
配線板の製造方法
9日前
味の素株式会社
感光性樹脂組成物
1か月前
味の素株式会社
感光性樹脂組成物
16日前
味の素株式会社
感光性樹脂組成物
16日前
味の素株式会社
チャック付き包装袋
9日前
味の素株式会社
熱硬化性樹脂組成物
24日前
味の素株式会社
ポリアミドイミド樹脂
10日前
味の素株式会社
ベーカリー食品食感向上剤
4日前
味の素株式会社
高含水米飯食品の製造方法
9日前
味の素株式会社
プリント配線板の製造方法
1か月前
味の素株式会社
包餡麺帯食品及びその製造方法
9日前
味の素株式会社
酵母培養物処理物を含む静菌剤
2日前
味の素株式会社
集電層に用いられる金属箔積層体
11日前
味の素株式会社
集電層に用いられる金属箔積層体
11日前
味の素株式会社
包餡麺帯食品の焼き目形成用組成物
10日前
味の素株式会社
コーヒー抽出液の香味を改善する方法
11日前
味の素株式会社
洋風調味料およびそれを含有する食品
9日前
味の素株式会社
電子レンジ加熱調理用容器入り即席食品
10日前
東洋濾紙株式会社
アミノ酸定量用試験紙
12日前
味の素株式会社
皮の硬化性が抑制された包餡食品の製造方法
1か月前
味の素株式会社
調味料および加熱調理における離水の抑制方法
1か月前
続きを見る
他の特許を見る