TOP
|
特許
|
意匠
|
商標
特許ウォッチ
Twitter
他の特許を見る
公開番号
2025141845
公報種別
公開特許公報(A)
公開日
2025-09-29
出願番号
2025034588
出願日
2025-03-05
発明の名称
樹脂シート
出願人
味の素株式会社
代理人
弁理士法人酒井国際特許事務所
主分類
B32B
27/00 20060101AFI20250919BHJP(積層体)
要約
【課題】低い線膨張係数並びに低誘電正接、かつ膨れの発生を抑制された硬化物を得ることができる樹脂シート等の提供。
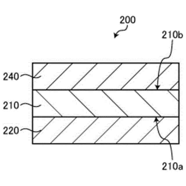
【解決手段】第1面を有する樹脂組成物層と、該樹脂組成物層の第1面と接合している支持体と、を含み、樹脂組成物層は、無機充填材を含み、樹脂シートを内層基板にラミネートした後、支持体を剥離せずに180℃で30分間樹脂組成物層を熱硬化させ、支持体の一辺の端部から樹脂組成物層の外縁部に向かっての距離が1.5mmにおける、第1面に垂直な方向における断面において、樹脂組成物層の硬化物中の単位面積当たりの無機充填材部分面積の割合(%)をSi(A)とし、該端部から該端部とは反対側の辺の端部方向に向かっての距離が1.5mmにおける、第1面に垂直な方向における断面において、樹脂組成物層の硬化物中の単位面積当たりの無機充填材部分面積をSi(B)の割合(%)としたとき、Si(A)-Si(B)が、5%以下の樹脂シート。
【選択図】図1
特許請求の範囲
【請求項1】
第1面を有する樹脂組成物層と、
該樹脂組成物層の第1面と接合している支持体と、を含む樹脂シートであって、
樹脂組成物層は、無機充填材を含み、
樹脂シートを内層基板にラミネートした後、支持体を剥離せずに180℃で30分間樹脂組成物層を熱硬化させて樹脂組成物層の硬化物を得、
支持体の一辺の端部から樹脂組成物層の硬化物の外縁部に向かっての距離が1.5mmにおける、第1面に垂直な方向における断面において、樹脂組成物層の硬化物中の単位面積当たりの無機充填材部分面積の割合(%)をSi(A)とし、
支持体の一辺の端部から該端部とは反対側の辺の端部方向に向かっての距離が1.5mmにおける、第1面に垂直な方向における断面において、樹脂組成物層の硬化物中の単位面積当たりの無機充填材部分面積の割合(%)をSi(B)としたとき、
Si(A)-Si(B)が、5%以下の関係を満たす、樹脂シート。
続きを表示(約 740 文字)
【請求項2】
樹脂組成物層を200℃で90分間熱硬化させた硬化物の誘電正接が、0.0030以下である、請求項1に記載の樹脂シート。
【請求項3】
樹脂組成物層を200℃で90分間熱硬化させた硬化物の熱膨張係数が、20ppm/℃以下である、請求項1に記載の樹脂シート。
【請求項4】
樹脂組成物層は、(B)エポキシ樹脂を含む、請求項1に記載の樹脂シート。
【請求項5】
樹脂組成物層は、(C)活性エステル系硬化剤を含む、請求項1に記載の樹脂シート。
【請求項6】
樹脂組成物層は、(C)活性エステル系硬化剤、及び(D)硬化剤を含み、(B)成分のエポキシ基数M(B)と(C)成分及び(D)成分の活性基数M(C+D)との比(M(C+D)/M(B))が0.7以上である、請求項4に記載の樹脂シート。
【請求項7】
無機充填材の含有量が、樹脂組成物層中の不揮発成分を100質量%としたとき、70質量%以上である、請求項1に記載の樹脂シート。
【請求項8】
請求項1~7のいずれか1項に記載の樹脂シートの樹脂組成物層を硬化した硬化物層を含む、回路基板。
【請求項9】
内層基板と請求項1~7のいずれか1項に記載の樹脂シートとを、内層基板と樹脂組成物層とが接するように、ラミネートする工程と、
樹脂組成物層を硬化させる工程と、を含み;
内層基板と樹脂シートとをラミネートする工程が、樹脂組成物層の一部が内層基板と支持体との間の間隙部から染み出ることを含む、回路基板の製造方法。
【請求項10】
請求項8に記載の回路基板を備える、半導体装置。
発明の詳細な説明
【技術分野】
【0001】
本発明は、樹脂シートに関する。さらには、当該樹脂シートを用いて得られる回路基板、及び半導体装置に関する。
続きを表示(約 2,800 文字)
【背景技術】
【0002】
プリント配線板等の回路基板は、各種電子機器に広く使用されている。回路基板の製造方法としては、内層基板に絶縁層と導体層とを交互に積み重ねるビルドアップ方式による製造方法が知られている。絶縁層は、例えば、樹脂組成物を含む樹脂組成物層を形成し、その樹脂組成物層を硬化させることにより形成される。内層基板上に樹脂組成物層を形成する方法としては、支持体及び樹脂組成物層を備える樹脂シートを内層基板とラミネートする方法が知られている(特許文献1参照)。
【先行技術文献】
【特許文献】
【0003】
特開2022-172221号公報
【発明の概要】
【発明が解決しようとする課題】
【0004】
内層基板は、部品及び導体層をその表面に備えることがある。ラミネートの際に前記の部品及び導体層を樹脂組成物層で良好に埋め込む観点から、樹脂組成物層に含まれる樹脂組成物はラミネート時に高い流動性を有することが求められる。
【0005】
他方、回路基板の反りを抑制する観点から、絶縁層には低い熱膨張係数を有することが求められる。また、近年の高度な要求に応える観点から、回路基板の絶縁層には誘電正接が低いことが更に求められる。
【0006】
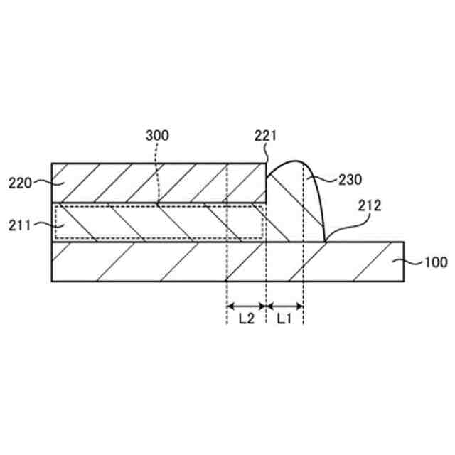
回路基板の製造過程において、内層基板と樹脂シートとをラミネートする工程では、樹脂組成物層に熱及び圧力が加えられ、樹脂組成物層が流動化する。よって、内層基板と支持体との間の間隙部から樹脂組成物層の一部が染み出ることがある。このように内層基板と支持体との間の間隙部から染み出た樹脂組成物層又は絶縁層の部分が「ブリードアウト部」と呼ばれる。特に低い線膨張係数並びに低誘電正接である樹脂組成物層において、この絶縁層のブリードアウト部に膨れが生じる課題が発生することを知見した。一般に、絶縁層上には導体層が形成され、その導体層の形成後にアニール処理が行われる。このアニール処理を行うと、絶縁層のブリードアウト部に膨れが生じうる。かかる膨れは、当該膨れが生じた後の工程(例えば、更なる絶縁層及び導体層の形成工程、など)の円滑な実施を妨げるおそれがある。
【0007】
本発明の課題は、前記の課題に鑑みて創案されたもので、低い線膨張係数並びに低誘電正接、かつ膨れの発生を抑制された硬化物を得ることができる樹脂シート;当該樹脂シートを用いて形成された絶縁層を備える回路基板、及び半導体装置を提供することにある。
【課題を解決するための手段】
【0008】
本発明者らは、上記課題につき鋭意検討した結果、樹脂シートを内層基板にラミネートした後、支持体を剥離せずに180℃で30分間樹脂組成物層を熱硬化させて樹脂組成物層の硬化物を得、支持体の一辺の端部から硬化物の外縁部に向かっての距離が1.5mmにおける、第1面に垂直な方向における断面において、硬化物中の単位面積当たりの無機充填材部分面積の割合(%)をSi(A)とし、該端部から該端部とは反対側の辺の端部方向に向かっての距離が1.5mmにおける、第1面に垂直な方向における断面において、硬化物中の単位面積当たりの無機充填材部分面積の割合(%)をSi(B)としたとき、Si(A)-Si(B)が、5以下の関係を満たすように樹脂組成物層を調整することで、上記課題を解決し得ることを見出し、本発明を完成するに至った。
【0009】
すなわち、本発明は以下の内容を含む。
[1] 第1面を有する樹脂組成物層と、
該樹脂組成物層の第1面と接合している支持体と、を含む樹脂シートであって、
樹脂組成物層は、無機充填材を含み、
樹脂シートを内層基板にラミネートした後、支持体を剥離せずに180℃で30分間樹脂組成物層を熱硬化させて樹脂組成物層の硬化物を得、
支持体の一辺の端部から樹脂組成物層の硬化物の外縁部に向かっての距離が1.5mmにおける、第1面に垂直な方向における断面において、樹脂組成物層の硬化物中の単位面積当たりの無機充填材部分面積の割合(%)をSi(A)とし、
支持体の一辺の端部から該端部とは反対側の辺の端部方向に向かっての距離が1.5mmにおける、第1面に垂直な方向における断面において、樹脂組成物層の硬化物中の単位面積当たりの無機充填材部分面積の割合(%)をSi(B)としたとき、
Si(A)-Si(B)が、5%以下の関係を満たす、樹脂シート。
[2] 樹脂組成物層を200℃で90分間熱硬化させた硬化物の誘電正接が、0.0030以下である、[1]に記載の樹脂シート。
[3] 樹脂組成物層を200℃で90分間熱硬化させた硬化物の熱膨張係数が、20ppm/℃以下である、[1]または[2]に記載の樹脂シート。
[4] 樹脂組成物層は、(B)エポキシ樹脂を含む、[1]~[3]のいずれかに記載の樹脂シート。
[5] 樹脂組成物層は、(C)活性エステル系硬化剤を含む、[1]~[4]のいずれかに記載の樹脂シート。
[6] 樹脂組成物層は、(C)活性エステル系硬化剤、及び(D)硬化剤を含み、(B)成分のエポキシ基数M(B)と(C)成分及び(D)成分の活性基数M(C+D)との比(M(C+D)/M(B))が0.7以上である、[4]又は[5]に記載の樹脂シート。
[7] 無機充填材の含有量が、樹脂組成物層中の不揮発成分を100質量%としたとき、70質量%以上である、[1]~[6]のいずれかに記載の樹脂シート。
[8] [1]~[7]のいずれかに記載の樹脂シートの樹脂組成物層を硬化した硬化物層を含む、回路基板。
[9] 内層基板と[1]~[7]のいずれかに記載の樹脂シートとを、内層基板と樹脂組成物層とが接するように、ラミネートする工程と、
樹脂組成物層を硬化させる工程と、を含み;
内層基板と樹脂シートとをラミネートする工程が、樹脂組成物層の一部が内層基板と支持体との間の間隙部から染み出ることを含む、回路基板の製造方法。
[10] [8]に記載の回路基板を備える、半導体装置。
【発明の効果】
【0010】
本発明によれば、低い線膨張係数並びに低誘電正接、かつ膨れの発生を抑制された硬化物を得ることができる樹脂シート;当該樹脂シートを用いて形成された絶縁層を備える回路基板、及び半導体装置を提供することができる。
【図面の簡単な説明】
(【0011】以降は省略されています)
この特許をJ-PlatPat(特許庁公式サイト)で参照する
関連特許
味の素株式会社
樹脂組成物
23日前
味の素株式会社
樹脂組成物
2か月前
味の素株式会社
樹脂組成物
9日前
味の素株式会社
樹脂組成物
2か月前
味の素株式会社
樹脂組成物
2か月前
味の素株式会社
樹脂組成物
2か月前
味の素株式会社
樹脂組成物
2か月前
味の素株式会社
樹脂シート
2か月前
味の素株式会社
樹脂組成物
1か月前
味の素株式会社
樹脂組成物
23日前
味の素株式会社
樹脂組成物
1か月前
味の素株式会社
樹脂組成物
4日前
味の素株式会社
樹脂組成物
4日前
味の素株式会社
樹脂組成物
4日前
味の素株式会社
樹脂組成物
4日前
味の素株式会社
樹脂シート
19日前
味の素株式会社
樹脂シート
19日前
味の素株式会社
樹脂組成物
9日前
味の素株式会社
エポキシ樹脂
9日前
味の素株式会社
冷凍米飯弁当
2か月前
味の素株式会社
マレイミド樹脂
9日前
味の素株式会社
基板の製造方法
8日前
味の素株式会社
積層体の製造方法
29日前
味の素株式会社
感光性樹脂組成物
1か月前
味の素株式会社
感光性樹脂組成物
15日前
味の素株式会社
感光性樹脂組成物
15日前
味の素株式会社
配線板の製造方法
8日前
味の素株式会社
ミネラル強化食品
8日前
味の素株式会社
感光性樹脂組成物
2か月前
味の素株式会社
チャック付き包装袋
8日前
味の素株式会社
熱硬化性樹脂組成物
23日前
味の素株式会社
ポリアミドイミド樹脂
9日前
味の素株式会社
プリント配線板の製造方法
1か月前
味の素株式会社
ベーカリー食品食感向上剤
3日前
味の素株式会社
高含水米飯食品の製造方法
8日前
味の素株式会社
乾燥麺の製造方法及び酵素製剤
1か月前
続きを見る
他の特許を見る