TOP
|
特許
|
意匠
|
商標
特許ウォッチ
Twitter
他の特許を見る
10個以上の画像は省略されています。
公開番号
2025136998
公報種別
公開特許公報(A)
公開日
2025-09-19
出願番号
2024035956
出願日
2024-03-08
発明の名称
積層体の製造方法
出願人
味の素株式会社
代理人
弁理士法人酒井国際特許事務所
主分類
H05K
3/46 20060101AFI20250911BHJP(他に分類されない電気技術)
要約
【課題】フィラメントの密度が疎な繊維基材を含むプリプレグを用いて、プリプレグの端部からのフィラメントの露出を抑制しながら、当該プリプレグの平坦性に優れる積層体を製造できる、積層体の製造方法を提供する。
【解決手段】2ステージラミネーターを用いた積層体の製造方法であって、第一ステージにおいて減圧環境で押圧する工程(II)の前のプリプレグの最低溶融粘度と、当該工程(II)の後のプリプレグの最低溶融粘度とを、特定の要件を満たすように制御する。
【選択図】図1
特許請求の範囲
【請求項1】
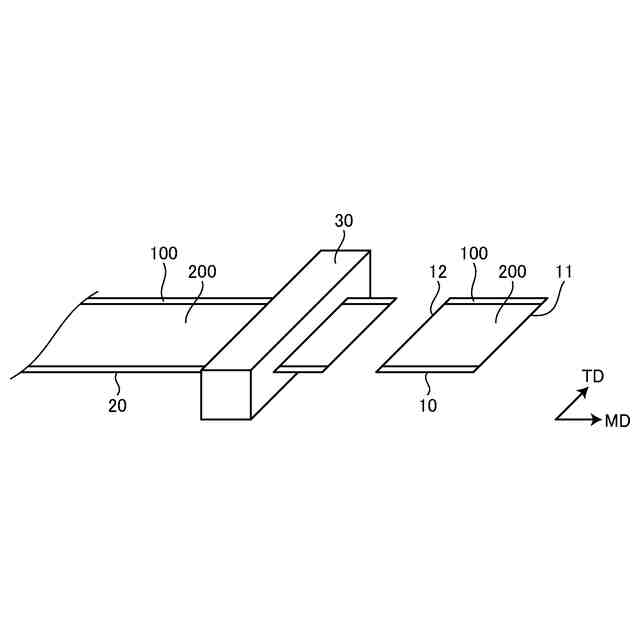
支持体及びプリプレグを備える樹脂シート片を、ラミネーターを用いて内層基板とラミネートして、積層体を製造する、積層体の製造方法であって;
プリプレグが、複数のフィラメントを含む繊維基材と、繊維基材に含浸され熱硬化性樹脂を含む樹脂組成物と、を含み;
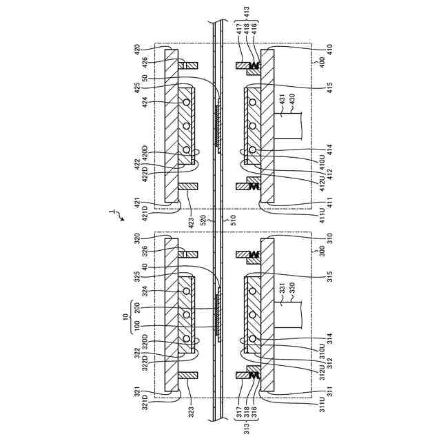
ラミネーターが、
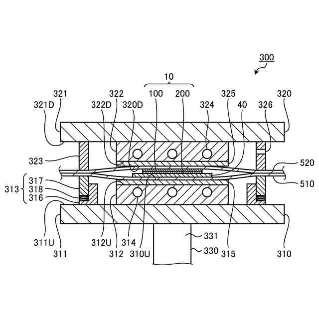
内層基板とプリプレグとをラミネートできる第一ステージと、
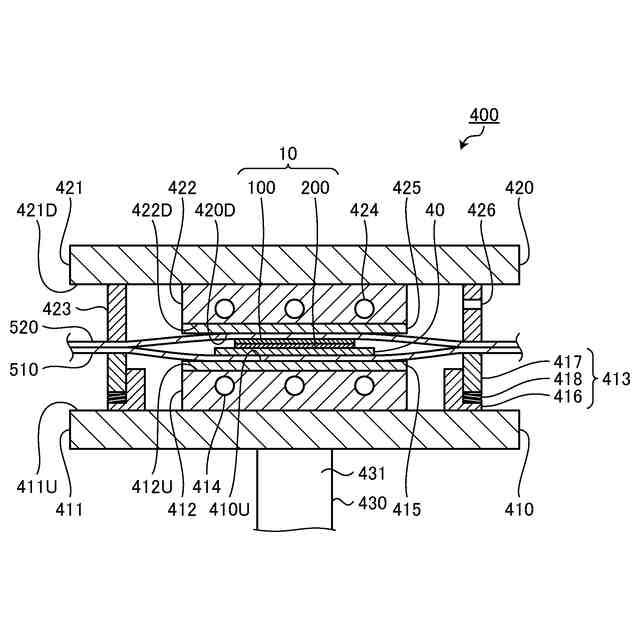
プリプレグを平坦化できる第二ステージと、
第一ステージ及び第二ステージの順で内層基板及び樹脂シート片を搬送できる搬送フィルムと、
を備え;
前記製造方法が、
樹脂シート片及び内層基板を第一ステージに供給して、搬送フィルム、支持体、プリプレグ及び内層基板がこの順に重なった状態を得る工程(I)と、
第一ステージにおいて、樹脂シート片及び内層基板を、減圧環境で熱を加えながら押圧する工程(II)と、
搬送フィルムによって樹脂シート片及び内層基板を第二ステージに搬送する工程(III)と、
第二ステージにおいて、樹脂シート片及び内層基板を、熱を加えながら押圧して、積層体を得る工程(IV)と、
搬送フィルムから積層体を取り外す工程(V)と、
をこの順に含み;
TD方向における1インチ当たりの繊維基材のフィラメント数が、10,000本未満であり;
工程(II)前のプリプレグの最低溶融粘度Xと、工程(II)の後であって工程(IV)前のプリプレグの最低溶融粘度Yと、の比Y/Xが、1.2より大きく;
最低溶融粘度Yが、10,000poise未満である、積層体の製造方法。
続きを表示(約 650 文字)
【請求項2】
内層基板が、樹脂シート片に対向した面に露出した導体層を備え、
導体層の算術平均粗さが、250nm以下である、請求項1に記載の積層体の製造方法。
【請求項3】
樹脂組成物が、熱硬化性樹脂と相溶した高分子樹脂を含み;
高分子樹脂の量が、樹脂組成物の樹脂成分100質量%に対して、10質量%以下である、請求項1に記載の積層体の製造方法。
【請求項4】
樹脂組成物が、無機充填材を含み;
無機充填材の量が、樹脂組成物の不揮発成分100質量%に対して、50質量%以上である、請求項1に記載の積層体の製造方法。
【請求項5】
最低溶融粘度Xが、5,000poise以下である、請求項1に記載の積層体の製造方法。
【請求項6】
工程(I)において、プリプレグは、支持体のMD方向の全体に形成されている、請求項1に記載の積層体の製造方法。
【請求項7】
工程(I)より前に、支持体及びプリプレグを備える長尺樹脂シートを切断して、樹脂シート片を得る工程(VI)を含む、請求項1に記載の積層体の製造方法。
【請求項8】
プリプレグが、100μm以下の厚みを有する、請求項1に記載の積層体の製造方法。
【請求項9】
請求項1~8のいずれか一項に記載の製造方法によって積層体を製造する工程と、
プリプレグを硬化する工程と、を含む、回路基板の製造方法。
発明の詳細な説明
【技術分野】
【0001】
本発明は、内層基板及びプリプレグを備える積層体の製造方法、並びに、回路基板の製造方法、に関する。
続きを表示(約 1,800 文字)
【背景技術】
【0002】
半導体チップパッケージ等の回路基板は、一般に、内層基板及び絶縁層を備える積層構造を有する。例えば、回路基板は、内部又は表面に配線及び部品を備えた内層基板と、この内層基板上に形成された絶縁層と、を備えうる。前記の絶縁層は、プリプレグを用いて形成されることがあった。
【0003】
プリプレグは、一般に、繊維基材と、この繊維基材に含浸された樹脂組成物と、を含む。樹脂組成物は、通常、熱硬化性樹脂を含むので、熱硬化性を有する。よって、内層基板上にプリプレグを圧着し、樹脂組成物を熱硬化させることで、繊維基材と樹脂組成物の硬化物とを含む絶縁層を内層基板上に形成できる。
【0004】
従来は、内層基板のプリプレグへの圧着は、真空プレス法によって行うことが通常であった(特許文献1)。真空プレス法では、一般に、型内のキャビティに内層基板及びプリプレグを設置し、キャビティ内を減圧した後、型締めする。型締めにより、キャビティ内には閉空間が形成される。真空プレス法ではプリプレグに高温高圧力が与えられるので、プリプレグ中の樹脂組成物は、流動して閉空間の全体を隙間なく充填し、その後、硬化する。よって、繊維基材と樹脂組成物の硬化物とを含む絶縁層を内層基板上に形成できる。
【先行技術文献】
【特許文献】
【0005】
特開2024-003007号公報
【発明の概要】
【発明が解決しようとする課題】
【0006】
従来のプリプレグは、当該プリプレグ単独でハンドリングされることが一般的であったが、出願人は、支持体と、この支持体上に設けられたプリプレグとを備える樹脂シートを開発した。この樹脂シートを用いれば、真空プレス法ではなく、ラミネート法を用いて内層基板上にプリプレグを設けることが可能である。例えば、ラミネート用の第一ステージ及び平坦化用の第二ステージを備える2ステージラミネーターを用いて、内層基板上にプリプレグを設けて、それら内層基板及びプリプレグを備える積層体を得ることができる。よって、この積層体のプリプレグを熱硬化することにより、内層基板上に絶縁層を形成して、回路基板を得ることができる。
【0007】
一般に、ラミネーターにおいて使用される搬送フィルムには、プリプレグが含む樹脂組成物が付着しやすい。よって、支持体を備えない従来のプリプレグは、ラミネート法への適用が困難であった。これに対し、支持体を備える樹脂シートを用いれば、プリプレグと搬送フィルムとの間に支持体がある状態でラミネートを行えるので、プリプレグが含む樹脂組成物が搬送フィルムに付着することを抑制して、ラミネート法による積層体の製造を可能にできる。よって、ラミネート法の使用は、支持体を備える樹脂シートを用いて初めて実現されたものである。2ステージラミネーターを用いたラミネート法によれば、第一ステージによって内層基板上に積層されたプリプレグは、第二ステージによって平坦化されることができるので、ラミネート後のプリプレグの平坦性を向上させることができる。よって、平坦性に優れる絶縁層を形成することができる。
【0008】
近年、回路基板の小型化及び薄型化の要求が高まっていることから、プリプレグを薄くすることが求められている。そこで、本発明者は、繊維基材の単位寸法当たりのフィラメント数を少なくすることを試みた。この場合、繊維基材のフィラメントの密度が疎になり、プリプレグを薄くすることが可能となる。
【0009】
ところが、フィラメントの密度が疎な繊維基材を用いると、製造される積層体に含まれるプリプレグの端部からフィラメントがはみ出て露出することがあった。露出したフィラメントは、異物となって回路基板の歩留まり低下の原因となることがあった。
【0010】
本発明は、前記の課題に鑑みて創案されたもので、フィラメントの密度が疎な繊維基材を含むプリプレグを用いて、プリプレグの端部からのフィラメントの露出を抑制しながら、当該プリプレグの平坦性に優れる積層体を製造できる、積層体の製造方法;並びに、当該製造方法を含む回路基板の製造方法;を提供することを目的とする。
【課題を解決するための手段】
(【0011】以降は省略されています)
この特許をJ-PlatPat(特許庁公式サイト)で参照する
関連特許
味の素株式会社
樹脂シート
1か月前
味の素株式会社
樹脂組成物
1か月前
味の素株式会社
樹脂組成物
1か月前
味の素株式会社
樹脂組成物
15日前
味の素株式会社
樹脂組成物
15日前
味の素株式会社
樹脂シート
11日前
味の素株式会社
樹脂シート
11日前
味の素株式会社
樹脂組成物
1日前
味の素株式会社
樹脂組成物
1日前
味の素株式会社
エポキシ樹脂
1日前
味の素株式会社
基板の製造方法
今日
味の素株式会社
マレイミド樹脂
1日前
味の素株式会社
感光性樹脂組成物
7日前
味の素株式会社
感光性樹脂組成物
29日前
味の素株式会社
配線板の製造方法
今日
味の素株式会社
ミネラル強化食品
今日
味の素株式会社
感光性樹脂組成物
7日前
味の素株式会社
積層体の製造方法
21日前
味の素株式会社
チャック付き包装袋
今日
味の素株式会社
熱硬化性樹脂組成物
15日前
味の素株式会社
ポリアミドイミド樹脂
1日前
味の素株式会社
高含水米飯食品の製造方法
今日
味の素株式会社
プリント配線板の製造方法
1か月前
味の素株式会社
包餡麺帯食品及びその製造方法
今日
味の素株式会社
乾燥麺の製造方法及び酵素製剤
1か月前
味の素株式会社
集電層に用いられる金属箔積層体
2日前
味の素株式会社
集電層に用いられる金属箔積層体
2日前
味の素株式会社
包餡麺帯食品の焼き目形成用組成物
1日前
味の素株式会社
洋風調味料およびそれを含有する食品
今日
味の素株式会社
コーヒー抽出液の香味を改善する方法
2日前
味の素株式会社
電子レンジ加熱調理用容器入り即席食品
1日前
東洋濾紙株式会社
アミノ酸定量用試験紙
3日前
味の素株式会社
紅茶飲料及びインスタント紅茶飲料用組成物
1か月前
味の素株式会社
皮の硬化性が抑制された包餡食品の製造方法
1か月前
味の素株式会社
調味料および加熱調理における離水の抑制方法
1か月前
味の素株式会社
半導体パッケージ基板の絶縁層形成用の樹脂シート
1か月前
続きを見る
他の特許を見る