TOP
|
特許
|
意匠
|
商標
特許ウォッチ
Twitter
他の特許を見る
10個以上の画像は省略されています。
公開番号
2025154195
公報種別
公開特許公報(A)
公開日
2025-10-10
出願番号
2024057067
出願日
2024-03-29
発明の名称
電気化学素子の製造方法、電気化学素子、電気化学モジュール、固体酸化物形燃料電池、固体酸化物形電解セル、電気化学装置およびエネルギーシステム
出願人
大阪瓦斯株式会社
代理人
弁理士法人R&C
主分類
H01M
8/1226 20160101AFI20251002BHJP(基本的電気素子)
要約
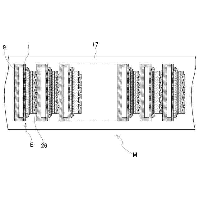
【課題】耐久性及び性能を向上した電気化学素子の製造方法を提供する。
【解決手段】貫通孔1aを有する金属支持体1の上に電極層2が形成された電気化学素子Eを製造する方法であって、貫通孔1a内に金属支持体1の表裏面に開口する空間Sが形成されるように、貫通孔1aの少なくとも内壁に保護層1bを形成する保護層形成ステップと、保護層形成ステップ後に、金属支持体1の上に電極層2を形成する電極層形成ステップと、を含み、保護層形成ステップでは、電極層2と同じ材料である電極材料、又は、電極層2の材料と類似する電極類似材料からなる保護層1bを形成する。
【選択図】図1
特許請求の範囲
【請求項1】
貫通孔を有する金属支持体の上に電極層が形成された電気化学素子を製造する方法であって、
前記貫通孔内に前記金属支持体の表裏面に開口する空間が形成されるように、前記貫通孔の少なくとも内壁に保護層を形成する保護層形成ステップと、
前記保護層形成ステップ後に、前記金属支持体の上に前記電極層を形成する電極層形成ステップと、を含み、
前記保護層形成ステップでは、前記電極層と同じ材料である電極材料、又は、前記電極層の材料と類似する電極類似材料からなる前記保護層を形成する、電気化学素子の製造方法。
続きを表示(約 1,000 文字)
【請求項2】
前記保護層形成ステップでは、前記貫通孔の前記内壁と前記金属支持体の裏面とに保護層を形成する、請求項1に記載の電気化学素子の製造方法。
【請求項3】
前記保護層形成ステップでは、前記金属支持体の全面に保護層を形成する、請求項2に記載の電気化学素子の製造方法。
【請求項4】
前記保護層形成ステップは、
前記電極材料又は前記電極類似材料を含有するペーストを準備する準備ステップと、
前記ペーストに前記金属支持体を浸漬する浸漬ステップと、を含み、
前記準備ステップにおいて、前記ペーストの粘度が、前記浸漬ステップの実行時に前記ペーストが前記貫通孔内に入り込む程度に調整される、請求項1に記載の電気化学素子の製造方法。
【請求項5】
前記電極層形成ステップは、
前記金属支持体の上に前記電極材料を含有するペーストを塗布する塗布ステップと、
前記塗布ステップでペーストが塗布された前記金属支持体を焼成する焼成ステップと、含む、請求項4に記載の電気化学素子の製造方法。
【請求項6】
前記電極材料及び前記電極類似材料は、ニッケル系化合物及びコバルト系化合物の少なくともいずれか一方と、セリア系酸化物及びジルコニア系酸化物の少なくともいずれか一方との組み合わせからなる、請求項1に記載の電気化学素子の製造方法。
【請求項7】
貫通孔を有する金属支持体と、
前記金属支持体の上に配置された電極層と、
前記金属支持体における少なくとも前記貫通孔の内壁に形成された保護層と、を備え、
前記貫通孔内には、前記金属支持体の表裏面に開口する空間が形成されており、
前記保護層は、前記電極層と同じ材料である電極材料、又は、前記電極層の材料と類似する電極類似材料からなる、電気化学素子。
【請求項8】
前記保護層は、前記貫通孔の内壁と、前記金属支持体の裏面とに形成されている、請求項7に記載の電気化学素子。
【請求項9】
前記保護層は、前記金属支持体の全面に形成されている、請求項8に記載の電気化学素子。
【請求項10】
前記電極材料及び前記電極類似材料は、ニッケル系化合物及びコバルト系化合物の少なくともいずれか一方と、セリア系酸化物及びジルコニア系酸化物の少なくともいずれか一方との組み合わせからなる、請求項7に記載の電気化学素子。
(【請求項11】以降は省略されています)
発明の詳細な説明
【技術分野】
【0001】
本発明は、電気化学素子の製造方法、電気化学素子、電気化学モジュール、固体酸化物形燃料電池、固体酸化物形電解セル、電気化学装置およびエネルギーシステムに関する。
続きを表示(約 1,400 文字)
【背景技術】
【0002】
従来の電解質支持型の固体酸化物形燃料電池(SOFC)や電極支持型のSOFCでは、層間の十分な密着強度や良質な電極層や電解質層を得るために、高温(例えば1400℃程度)での焼成が行われる。
【0003】
近年では、堅牢性向上のため、金属基板上に燃料極、空気極及び電解質層を支持させる金属支持型のSOFCが開発されている。
【0004】
特許文献1には、金属支持体の上に電極層や電解質層、対極電極層が形成された電気化学素子や、当該電気化学素子を備えた固体酸化物形燃料電池が開示されている。この固体酸化物形燃料電池において、金属支持体には、表裏に貫通した複数の貫通孔が形成され、部分的に気体の透過が可能になっている。
【先行技術文献】
【特許文献】
【0005】
特開2021-163764号公報
【発明の概要】
【発明が解決しようとする課題】
【0006】
ところで、上記のような金属支持体は、電気化学素子製造時における熱処理や、固体酸化物形燃料電池の動作時における高温ガスへの曝露によって表面が劣化する可能性がある。とりわけ、金属支持体の貫通孔の周囲や内部は、穿孔時に表面が荒らされやすいことや、貫通孔の開口部にエッジがあることで、他の部位と比較して劣化が促進されやすい。
【0007】
金属支持体の貫通孔周囲の劣化を抑える手段として、例えば、電気化学素子製造時に金属支持体の上面に電極層を形成する際に、電極層の材料を含むペーストが貫通孔内に入り込むように金属支持体の表面に塗布し、その後に金属支持体を焼成する手段をとり得る。このようにすれば、貫通孔の周囲や内部において、電極層の一部が保護層として機能することで、これらの部位での劣化を抑制できる。
【0008】
しかしながら、上記手段を採用した場合、貫通孔の内部が電極層によって埋まるため、当該貫通孔内をガスが流通しにくい。そのため、電気化学素子での発電反応や電解反応を生じさせやすくして性能の向上を図るという点において改善の余地がある。
【0009】
本発明は上記実情に鑑みなされたものであり、耐久性及び性能を向上した電気化学素子、電気化学モジュール、固体酸化物形燃料電池、固体酸化物形電解セル、電気化学装置、エネルギーシステム、並びに耐久性及び性能を向上した電気化学素子の製造方法の提供を、その目的とする。
【課題を解決するための手段】
【0010】
上記目的を達成するための本発明に係る電気化学素子の製造方法の特徴構成は、
貫通孔を有する金属支持体の上に電極層が形成された電気化学素子を製造する方法であって、
前記貫通孔内に前記金属支持体の表裏面に開口する空間が形成されるように、前記貫通孔の少なくとも内壁に保護層を形成する保護層形成ステップと、
前記保護層形成ステップ後に、前記金属支持体の上に前記電極層を形成する電極層形成ステップと、を含み、
前記保護層形成ステップでは、前記電極層と同じ材料である電極材料、又は、前記電極層の材料と類似する電極類似材料からなる前記保護層を形成する点にある。
(【0011】以降は省略されています)
この特許をJ-PlatPat(特許庁公式サイト)で参照する
関連特許
大阪瓦斯株式会社
蓄電装置
1か月前
大阪瓦斯株式会社
給湯装置
16日前
大阪瓦斯株式会社
燃焼装置
7日前
大阪瓦斯株式会社
探査装置
6日前
大阪瓦斯株式会社
撥水性塗料
5日前
大阪瓦斯株式会社
フライヤー
13日前
大阪瓦斯株式会社
ガスコンロ
16日前
大阪瓦斯株式会社
異常診断装置
27日前
大阪瓦斯株式会社
地中給電設備
26日前
大阪瓦斯株式会社
ガラス複合体
8日前
大阪瓦斯株式会社
音声出力装置
7日前
大阪瓦斯株式会社
警報システム
7日前
大阪瓦斯株式会社
管理システム
7日前
大阪瓦斯株式会社
蓄電制御装置
20日前
大阪瓦斯株式会社
鮮度維持装置
26日前
大阪瓦斯株式会社
蓄電制御装置
6日前
大阪瓦斯株式会社
高耐熱組成物
6日前
大阪瓦斯株式会社
酸化物複合体
6日前
大阪瓦斯株式会社
ガラス複合体
8日前
大阪瓦斯株式会社
動作制御装置
6日前
大阪瓦斯株式会社
異常診断装置
27日前
大阪瓦斯株式会社
異常診断装置
27日前
大阪瓦斯株式会社
異常診断装置
27日前
大阪瓦斯株式会社
異常診断装置
27日前
大阪瓦斯株式会社
異常診断装置
27日前
大阪瓦斯株式会社
異常診断装置
27日前
大阪瓦斯株式会社
警報システム
7日前
大阪瓦斯株式会社
異常診断装置
27日前
大阪瓦斯株式会社
燃料電池装置
26日前
大阪瓦斯株式会社
異常診断装置
27日前
大阪瓦斯株式会社
蓄電池管理装置
20日前
大阪瓦斯株式会社
熱供給システム
16日前
大阪瓦斯株式会社
加熱調理システム
13日前
大阪瓦斯株式会社
燃料電池システム
16日前
大阪瓦斯株式会社
燃料電池システム
14日前
大阪瓦斯株式会社
燃料電池システム
14日前
続きを見る
他の特許を見る