TOP
|
特許
|
意匠
|
商標
特許ウォッチ
Twitter
他の特許を見る
10個以上の画像は省略されています。
公開番号
2025154422
公報種別
公開特許公報(A)
公開日
2025-10-10
出願番号
2024057415
出願日
2024-03-29
発明の名称
情報管理装置、情報管理方法及びプログラム
出願人
株式会社CoLife
代理人
個人
,
個人
主分類
G06Q
50/163 20240101AFI20251002BHJP(計算;計数)
要約
【課題】受益者に対して提供されたサービスの記録を複数の事業者間で共有でき、サービスの提供を円滑に進めることに資する技術を提供する。
【解決手段】情報管理装置1は、所定の目的について所定のサービスプロダクトの提供をし、かつ、所定の目的の受益者との直接取引契約をしない事業者であるプロダクト提供者から、所定の目的の受益者に対する所定のサービスプロダクトの提供記録に関するサービス記録情報の入力を受け付けたことに応じて、サービス記録情報を記憶するサービス記録情報記憶部31と、所定の目的の受益者とプロダクト提供者との契約関係を連携させる取引契約が可能な事業者である管理事業者又は管理事業者以外の他のプロダクト提供者から、所定の目的の受益者に対するプロダクト提供者によるサービス記録情報の閲覧希望を受け付けたことに応じて、サービス記録情報を出力するサービス記録情報出力部33と、を備える。
【選択図】図4
特許請求の範囲
【請求項1】
所定の目的について所定のサービスプロダクトの提供をし、かつ、前記所定の目的の受益者との直接取引契約をしない第一の特定事業者から、前記所定の目的の受益者に対する前記所定のサービスプロダクトの提供記録に関するサービス記録情報の入力を受け付けたことに応じて、前記サービス記録情報を記憶するサービス記録情報記憶手段と、
前記所定の目的の受益者と前記第一の特定事業者との契約関係を連携させる取引契約が可能な第二の特定事業者又は前記第一特定事業者以外の他の第一特定事業者から、前記所定の目的の受益者に対する前記第一の特定事業者による前記サービス記録情報の閲覧希望を受け付けたことに応じて、前記サービス記録情報を出力するサービス記録情報出力手段と、
を備える情報管理装置。
続きを表示(約 1,300 文字)
【請求項2】
前記所定の目的の受益者の前記所定のサービスプロダクトの提供記録に関する前記サービス記録情報を前記第一の特定事業者に対して提供することを許諾する旨のオプトイン情報を前記所定の目的の受益者から受け付けたことに応じて、前記サービス記録情報を前記第一の特定事業者に出力することを可能とするオプトイン管理手段を更に備える、
請求項1に記載の情報管理装置。
【請求項3】
前記サービス記録情報出力手段は、前記受益者から前記サービス記録情報の閲覧希望を受け付けたことに応じて、前記サービス記録情報を出力する、
請求項1又は2に記載の情報管理装置。
【請求項4】
前記サービス記録情報出力手段は、前記第一の特定事業者から、前記受益者による前記サービス記録情報の閲覧の制限希望を受け付けたことに応じて、前記サービス記録情報の出力を制限する、
請求項1又は2に記載の情報管理装置。
【請求項5】
前記目的にかかる物件の設備にかかる前記サービス記録情報を分析して前記設備にかかる故障予測情報の出力を行う設備故障予測情報出力手段を更に備える、
請求項1又は2に記載の情報管理装置。
【請求項6】
前記所定のサービスプロダクトは、前記所定の目的について異なる時期に異なる事業者から前記受益者に提供する複数のサービスプロダクトを含む、
請求項1又は2に記載の情報管理装置。
【請求項7】
コンピュータに実行される情報管理方法であって、
所定の目的について所定のサービスプロダクトの提供をし、かつ、前記所定の目的の受益者との直接取引契約をしない第一の特定事業者から、前記所定の目的の受益者に対する前記所定のサービスプロダクトの提供記録に関するサービス記録情報の入力を受け付けたことに応じて、前記サービス記録情報を記憶するサービス記録情報ステップと、
前記所定の目的の受益者と前記第一の特定事業者との契約関係を連携させる取引契約が可能な第二の特定事業者又は前記第一特定事業者以外の他の第一特定事業者から、前記所定の目的の受益者に対する前記第一の特定事業者による前記サービス記録情報の閲覧希望を受け付けたことに応じて、前記サービス記録情報を出力するサービス記録情報出力ステップと、
を含む情報管理方法。
【請求項8】
所定の目的について所定のサービスプロダクトの提供をし、かつ、前記所定の目的の受益者との直接取引契約をしない第一の特定事業者から、前記所定の目的の受益者に対する前記所定のサービスプロダクトの提供記録に関するサービス記録情報の入力を受け付けたことに応じて、前記サービス記録情報を記憶するサービス記録情報ステップと、
前記所定の目的の受益者と前記第一の特定事業者との契約関係を連携させる取引契約が可能な第二の特定事業者又は前記第一特定事業者以外の他の第一特定事業者から、前記所定の目的の受益者に対する前記第一の特定事業者による前記サービス記録情報の閲覧希望を受け付けたことに応じて、前記サービス記録情報を出力するサービス記録情報出力ステップと、
を含む制御処理をコンピュータによって実行させるためのプログラム。
発明の詳細な説明
【技術分野】
【0001】
本発明は、情報管理装置、情報管理方法及びプログラムに関する。
続きを表示(約 1,900 文字)
【背景技術】
【0002】
従来、施設等のユーザに対して適切なサービスを提供する事業者を選定するための技術が知られている。この種の技術が記載されるものとして例えば特許文献1がある。
【0003】
特許文献1では、サービスのエリアや提供方法を管理することで、選択肢を減らし、顧客にとって適したサービスを提供している。また、特許文献1によれば、集合施設に含まれる施設の場合、共用部または専有部などを提供場所として選択することで、適切な場所にサービスを提供することができる。更に、提供されるサービスに対して複数の提供方法を指定する機能も提供されており、顧客には自由な選択権が与えられる。
【先行技術文献】
【特許文献】
【0004】
特開2023-102695号公報
【発明の概要】
【発明が解決しようとする課題】
【0005】
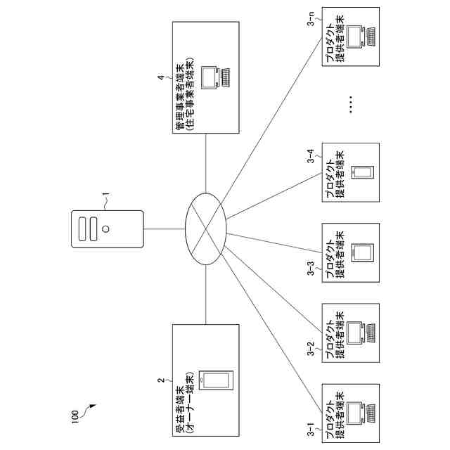
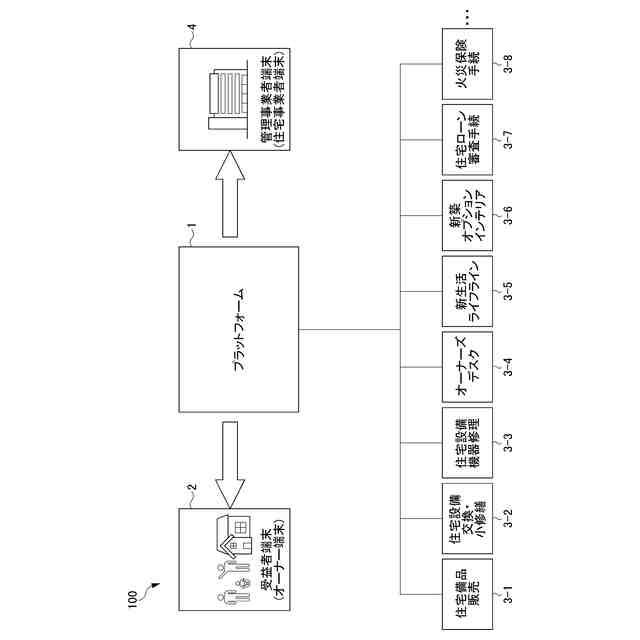
しかしながら、集合住宅や戸建等の売買又はメンテナンスには、オーナーと契約するディベロッパ等の管理事業者のもと、様々なサービスプロダクトを提供する事業者が関わる。新たにサービスプロダクトの提供を行う事業者が、過去に別の事業者が行ったサービスの内容が知りたくても、別の事業者によって行われたサービスの情報を把握することは難しい。
【0006】
本発明は、このような状況に鑑みてなされたものであり、受益者に対して提供されたサービスの記録を複数の事業者間で共有でき、サービスの提供を円滑に進めることに資する技術を提供することを目的とする。
【課題を解決するための手段】
【0007】
上記目的を達成するため、本発明の一態様は、所定の目的について所定のサービスプロダクトの提供をし、かつ、前記所定の目的の受益者との直接取引契約をしない第一の特定事業者から、前記所定の目的の受益者に対する前記所定のサービスプロダクトの提供記録に関するサービス記録情報の入力を受け付けたことに応じて、前記サービス記録情報を記憶するサービス記録情報記憶手段と、前記所定の目的の受益者と前記第一の特定事業者との契約関係を連携させる取引契約が可能な第二の特定事業者又は前記第一特定事業者以外の他の第一特定事業者から、前記所定の目的の受益者に対する前記第一の特定事業者による前記サービス記録情報の閲覧希望を受け付けたことに応じて、前記サービス記録情報を出力するサービス記録情報出力手段と、を備える情報管理装置である。
【0008】
また、本発明の一態様は、コンピュータに実行される情報管理方法であって、所定の目的について所定のサービスプロダクトの提供をし、かつ、前記所定の目的の受益者との直接取引契約をしない第一の特定事業者から、前記所定の目的の受益者に対する前記所定のサービスプロダクトの提供記録に関するサービス記録情報の入力を受け付けたことに応じて、前記サービス記録情報を記憶するサービス記録情報ステップと、前記所定の目的の受益者と前記第一の特定事業者との契約関係を連携させる取引契約が可能な第二の特定事業者又は前記第一特定事業者以外の他の第一特定事業者から、前記所定の目的の受益者に対する前記第一の特定事業者による前記サービス記録情報の閲覧希望を受け付けたことに応じて、前記サービス記録情報を出力するサービス記録情報出力ステップと、を含む情報管理方法である。
【0009】
また、本発明の一態様は、所定の目的について所定のサービスプロダクトの提供をし、かつ、前記所定の目的の受益者との直接取引契約をしない第一の特定事業者から、前記所定の目的の受益者に対する前記所定のサービスプロダクトの提供記録に関するサービス記録情報の入力を受け付けたことに応じて、前記サービス記録情報を記憶するサービス記録情報ステップと、前記所定の目的の受益者と前記第一の特定事業者との契約関係を連携させる取引契約が可能な第二の特定事業者又は前記第一特定事業者以外の他の第一特定事業者から、前記所定の目的の受益者に対する前記第一の特定事業者による前記サービス記録情報の閲覧希望を受け付けたことに応じて、前記サービス記録情報を出力するサービス記録情報出力ステップと、を含む制御処理をコンピュータによって実行させるためのプログラムである。
【発明の効果】
【0010】
本発明によれば、受益者に対して提供されたサービスの記録を複数の事業者間で共有でき、サービスの提供を円滑に進めること資する技術を提供することができる。
【図面の簡単な説明】
(【0011】以降は省略されています)
この特許をJ-PlatPat(特許庁公式サイト)で参照する
関連特許
個人
詐欺保険
10日前
個人
縁伊達ポイン
10日前
個人
地球保全システム
23日前
個人
QRコードの彩色
14日前
個人
残土処理システム
16日前
個人
農作物用途分配システム
9日前
個人
表変換編集支援システム
1か月前
個人
タッチパネル操作指代替具
3日前
個人
知的財産出願支援システム
17日前
個人
携帯端末障害問合せシステム
2日前
個人
行動時間管理システム
1か月前
個人
スケジュール調整プログラム
2日前
個人
パスワード管理支援システム
1か月前
株式会社キーエンス
受発注システム
22日前
個人
AIキャラクター制御システム
1か月前
株式会社キーエンス
受発注システム
22日前
株式会社キーエンス
受発注システム
22日前
個人
食品レシピ生成システム
22日前
個人
システム及びプログラム
1か月前
個人
海外支援型農作物活用システム
1か月前
大同特殊鋼株式会社
疵判定方法
29日前
個人
未来型家系図構築システム
1か月前
キヤノン株式会社
表示システム
22日前
キヤノン株式会社
印刷システム
2日前
個人
SaaS型勤務調整支援システム
1か月前
個人
帳票自動生成型SaaSシステム
17日前
個人
社会還元・施設向け供給支援構造
1か月前
個人
音声・通知・再配達UX制御構造
17日前
トヨタ自動車株式会社
通知装置
今日
個人
音声対話型帳票生成支援システム
1か月前
サクサ株式会社
中継装置
1か月前
個人
人格進化型対話応答制御システム
1か月前
エッグス株式会社
情報処理装置
3日前
大同特殊鋼株式会社
棒材計数方法
15日前
株式会社竹中工務店
管理システム
1か月前
フリー株式会社
情報処理システム
29日前
続きを見る
他の特許を見る