TOP
|
特許
|
意匠
|
商標
特許ウォッチ
Twitter
他の特許を見る
公開番号
2025154516
公報種別
公開特許公報(A)
公開日
2025-10-10
出願番号
2024057565
出願日
2024-03-29
発明の名称
粉粒体処理装置および乾燥方法
出願人
株式会社カワタ
代理人
個人
主分類
F26B
5/04 20060101AFI20251002BHJP(乾燥)
要約
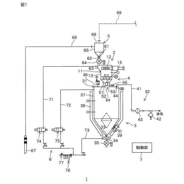
【課題】粉粒体を効率的に乾燥させることができる、粉粒体処理装置および乾燥方法を提供する。
【解決手段】加熱部2(加熱工程)で粉粒体が加熱され、その加熱された粉粒体が減圧乾燥部3に供給される。そして、減圧乾燥部3(減圧乾燥工程)では、減圧環境下において、粉粒体の熱量を増加させることなく、粉粒体が乾燥される。減圧環境下では、空気中の水蒸気分圧が低いので、加熱部2で加熱された粉粒体が減圧環境下に置かれることにより、粉粒体に含まれる水分の沸点が下がり、粉粒体に含まれる水分が速やかに気化する。したがって、加熱部2で粉粒体が十分に加熱されていれば、減圧乾燥部3で粉粒体の熱量を増加させなくとも、粉粒体が良好に乾燥する。
【選択図】図1
特許請求の範囲
【請求項1】
粉粒体を加熱する加熱部と、
減圧環境下で粉粒体の熱量を増加させずに粉粒体を乾燥させる減圧乾燥部と、
前記加熱部で加熱された粉粒体を前記減圧乾燥部に供給する供給部と、を含む、粉粒体処理装置。
続きを表示(約 860 文字)
【請求項2】
前記加熱部は、
粉粒体を収容する加熱容器と、
前記加熱容器内に収容された粉粒体を加熱するヒータと、
前記加熱容器内に収容された粉粒体を撹拌する撹拌機構と、を備えている、請求項1に記載の粉粒体処理装置。
【請求項3】
前記ヒータは、赤外線ヒータである、請求項2に記載の粉粒体処理装置。
【請求項4】
前記撹拌機構は、
前記加熱容器内に回転軸線を中心に回転可能に設けられるアジテータと、
前記アジテータを回転させる回転機構と、を含む、請求項3に記載の粉粒体処理装置。
【請求項5】
前記加熱容器は、円筒状の周壁を有し、前記周壁の中心線を中心に回転可能に設けられる加熱ドラムであり、
前記撹拌機構は、前記加熱ドラムを回転させる回転機構を含む、請求項3に記載の粉粒体処理装置。
【請求項6】
前記減圧乾燥部は、
粉粒体を収容する減圧乾燥容器と、
前記減圧乾燥容器内を減圧する減圧機構と、を備えている、請求項2に記載の粉粒体処理装置。
【請求項7】
前記減圧乾燥容器内から粉粒体を排出するためのエアを前記減圧乾燥容器内に供給するエア供給機構をさらに含む、請求項6に記載の粉粒体処理装置。
【請求項8】
前記加熱容器は、前記減圧乾燥容器の上方に配置される、請求項6に記載の粉粒体処理装置。
【請求項9】
前記減圧乾燥部は、前記減圧乾燥容器を加熱する容器ヒータをさらに備えている、請求項6に記載の粉粒体処理装置。
【請求項10】
加熱容器内で粉粒体を加熱する加熱工程と、
前記加熱容器から減圧乾燥容器に粉粒体を供給する供給工程と、
前記供給工程後、前記減圧乾燥容器内を減圧し、減圧環境下で粉粒体の熱量を増加させずに粉粒体を乾燥させる減圧乾燥工程と、を含む、乾燥方法。
(【請求項11】以降は省略されています)
発明の詳細な説明
【技術分野】
【0001】
本発明は、粉粒体処理装置および乾燥方法に関する。
続きを表示(約 1,400 文字)
【背景技術】
【0002】
たとえば、プラスチック製品の製造工程では、プラスチック材料の粉粒体が成形機に投入されるまでに、その粉粒体から水分を除去するための乾燥処理が行われる。
【0003】
従来、乾燥処理に用いられる装置には、熱風加熱乾燥機および減圧伝熱乾燥機などがある。熱風加熱乾燥機では、ヒータにより高温の熱風が生成されて、その熱風が粉粒体を収容する容器内に供給され、粉粒体の水分が粉粒体を通過する熱風により奪われる。減圧伝熱乾燥機では、粉粒体を収容する容器の壁面がヒータにより加熱される。粉粒体を収容した容器内が減圧されつつ、粉粒体が容器の壁面からの伝熱により加熱され、粉粒体から水分が蒸発する。
【0004】
しかし、熱風加熱乾燥機および減圧伝熱乾燥機のどちらの装置においても、粉粒体が乾燥するまでヒータを使用するため、エネルギー消費量が大きいという問題がある。
【0005】
乾燥処理に用いられる装置として、熱風加熱乾燥機と減圧伝熱乾燥機とを組み合わせた構成の装置が提案されている(たとえば、特許文献1参照)。この装置には、予備加熱ホッパおよび減圧乾燥ホッパが設けられている。ヒータにより高温の熱風が生成されて、粉粒体を収容した予備加熱ホッパ内に熱風が供給され、粉粒体が熱風により加熱される。一方、減圧乾燥ホッパの外周には、ジャケットが設けられている。高温の熱風がジャケットに供給されることにより、減圧乾燥ホッパの壁面が加熱される。予備加熱ホッパ内で加熱された粉粒体が減圧乾燥ホッパに供給されて、減圧乾燥ホッパ内が減圧されつつ、粉粒体が減圧乾燥ホッパの壁面からの伝熱により加熱される。これにより、粉粒体が乾燥する。
【先行技術文献】
【特許文献】
【0006】
特開2001-79841号公報
【発明の概要】
【発明が解決しようとする課題】
【0007】
ところが、かかる装置では、予備加熱ホッパおよび減圧乾燥ホッパの両方を熱風により加熱しなければならないため、従来の熱風加熱乾燥機および減圧伝熱乾燥機と比較して、エネルギー消費量を大きく低減することはできない。また、熱風による加熱では、予備加熱ホッパおよび減圧乾燥ホッパの昇温に時間がかかる。
【0008】
本発明の目的は、粉粒体を効率的に乾燥させることができる、粉粒体処理装置および乾燥方法を提供することである。
【課題を解決するための手段】
【0009】
前記の目的を達成するため、本発明の一の局面に係る粉粒体処理装置は、粉粒体を加熱する加熱部と、減圧環境下で粉粒体の熱量を増加させずに粉粒体を乾燥させる減圧乾燥部と、加熱部で加熱された粉粒体を減圧乾燥部に供給する供給部とを含む。
【0010】
この構成によれば、加熱部で粉粒体が加熱され、その加熱された粉粒体が減圧乾燥部に供給される。そして、減圧乾燥部では、減圧環境下において、粉粒体の熱量を増加させることなく、粉粒体が乾燥される。減圧環境下では、空気中の水蒸気分圧が低いので、加熱部で加熱された粉粒体が減圧環境下に置かれることにより、粉粒体に含まれる水分の沸点が下がり、粉粒体に含まれる水分が速やかに気化する。したがって、加熱部で粉粒体が十分に加熱されていれば、減圧乾燥部で粉粒体の熱量を増加させなくとも、粉粒体を良好に乾燥させることができる。
(【0011】以降は省略されています)
この特許をJ-PlatPat(特許庁公式サイト)で参照する
関連特許
株式会社カワタ
粉粒体処理装置
3日前
株式会社カワタ
スライドゲート
1か月前
株式会社カワタ
粉粒体処理装置および乾燥方法
3日前
株式会社カワタ
粉粒体処理容器および乾燥装置
3日前
株式会社カワタ
コーティング溶液調製方法、コーティング溶液およびコーティング方法
3日前
個人
ハンディ傘乾燥丸め器
1か月前
株式会社サタケ
循環式穀物乾燥機
17日前
株式会社サタケ
粒状物の乾燥装置
3日前
株式会社チノー
乾燥システム
2か月前
株式会社ダイソー
乾熱減容処理装置
1か月前
株式会社クレブ
ブーツ乾燥装置
7か月前
株式会社カワタ
粉粒体処理装置
3日前
東レエンジニアリング株式会社
乾燥装置
2か月前
東レ株式会社
塗膜付きシートの加熱装置
4か月前
東レエンジニアリング株式会社
乾燥装置
12か月前
東レエンジニアリング株式会社
乾燥装置
4日前
東レエンジニアリング株式会社
乾燥装置
12か月前
東レエンジニアリング株式会社
乾燥装置
12か月前
エイ・エス・デイ株式会社
乾燥装置
2か月前
大東電子株式会社
傘水滴除去装置
8か月前
株式会社サタケ
穀物乾燥機
2か月前
株式会社ヨシカワ
乾燥装置
1か月前
クリーン・テクノロジー株式会社
乾燥装置
7か月前
クリーン・テクノロジー株式会社
乾燥装置
8か月前
クリーン・テクノロジー株式会社
乾燥装置
11か月前
高砂工業株式会社
凍結乾燥装置
6か月前
アントム株式会社
搬送式乾燥炉
5か月前
株式会社ワカミヤ商会
乾燥装置
3か月前
セイコーエプソン株式会社
乾燥機
4か月前
株式会社カワタ
粉粒体処理装置および乾燥方法
3日前
株式会社カワタ
粉粒体処理容器および乾燥装置
3日前
個人
常服乾燥装置
24日前
株式会社大川原製作所
乾燥システム
6か月前
株式会社大川原製作所
乾燥システム
6か月前
株式会社マクニカ
乾熱減容処理装置
1か月前
クリーン・テクノロジー株式会社
熱風式乾燥装置
7か月前
続きを見る
他の特許を見る