TOP
|
特許
|
意匠
|
商標
特許ウォッチ
Twitter
他の特許を見る
公開番号
2025123841
公報種別
公開特許公報(A)
公開日
2025-08-25
出願番号
2024019558
出願日
2024-02-13
発明の名称
スライドゲート
出願人
株式会社カワタ
代理人
個人
主分類
B65G
65/40 20060101AFI20250818BHJP(運搬;包装;貯蔵;薄板状または線条材料の取扱い)
要約
【課題】粉粒体の輸送経路上に配置されるスライドゲートにおいて、噛み込みを効果的に抑制できる技術を提供する。
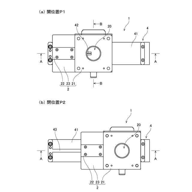
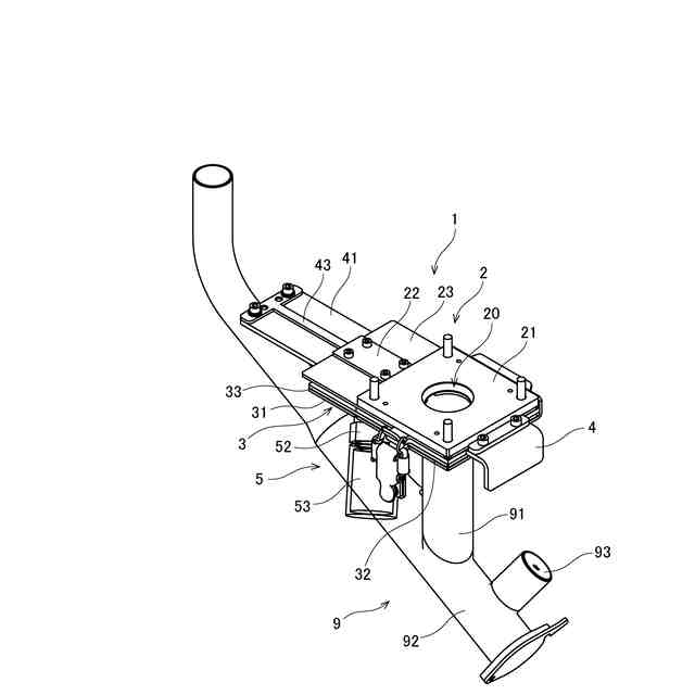
【解決手段】スライドゲート1は、開位置P1と閉位置P2との間でスライド方向にスライド移動可能な板状弁体4と、板状弁体4の上方に配置される上板2と、板状弁体4の下方に配置される下板3とを有する。閉位置P2は開位置P1のスライド方向一方側に配置される。板状弁体4は、平板上の弁体本体41と、上下に貫通する通過孔40と、通過孔40のスライド方向一方側から通過孔40内においてスライド方向他方側に延びる突起41とを有する。上板2は上側輸送孔20を有する。下板3は下側輸送孔30を有する。開位置P1において、上側輸送孔20、通過孔40および下側輸送孔30が上下に重なる。閉位置P2において、上側輸送孔20および下側輸送孔30は弁体本体41によって閉塞される。
【選択図】図3
特許請求の範囲
【請求項1】
上方から下方へと粉粒体を輸送する輸送経路に介挿されるスライドゲートであって、
開位置と閉位置との間で水平方向であるスライド方向にスライド移動可能な板状弁体と、
前記板状弁体の上方に配置される上板と、
前記板状弁体の下方に配置される下板と、
を有し、
前記板状弁体の前記閉位置は、前記開位置に対して前記スライド方向一方側に配置され、
前記板状弁体は、
平板状の弁体本体と、
前記弁体本体を上下に貫通する通過孔と、
前記通過孔の前記スライド方向一方側から、前記通過孔内に、前記スライド方向他方側に延びる突起と、
を有し、
前記上板は、上下に貫通する上側輸送孔を有し、
前記下板は、上下に貫通し、前記上側輸送孔と上下方向に重なる下側輸送孔を有し、
前記板状弁体が前記開位置に配置されると、前記上側輸送孔、前記通過孔および前記下側輸送孔が上下方向に重なり、
前記板状弁体が前記閉位置に配置されると、前記上側輸送孔および前記下側輸送孔は前記弁体本体によって塞がれる、スライドゲート。
続きを表示(約 1,000 文字)
【請求項2】
請求項1に記載のスライドゲートであって、
前記板状弁体は、
前記弁体本体の上面から上方に突出し、前記突起の前記スライド方向一方側の端部から前記スライド方向一方側へ延びる上側凸部
をさらに有し、
前記突起の上端部は、前記弁体本体よりも上方に配置され、かつ、前記上側凸部の上端以下の高さを有し、
前記上板は、
前記上板の下面から上方に凹み、前記上側輸送孔から前記スライド方向一方側へ延びる上側溝部
をさらに有し、
前記閉位置において、前記上側溝部の内部に前記上側凸部および前記突起の上部が収容される、スライドゲート。
【請求項3】
請求項2に記載のスライドゲートであって、
前記板状弁体は、
前記弁体本体の下面から下方に突出し、前記突起の前記スライド方向一方側の端部から前記スライド方向一方側へ延びる下側凸部
をさらに有し、
前記突起の下端部は、前記弁体本体よりも下方に配置され、かつ、前記下側凸部の下端以上の高さを有し、
前記下板は、
前記下板の上面から下方に凹み、前記下側輸送孔から前記スライド方向一方側へ延びる下側溝部
をさらに有し、
前記閉位置において、前記下側溝部の内部に前記下側凸部および前記突起の下部が収容される、スライドゲート。
【請求項4】
請求項1ないし請求項3のいずれか一項に記載のスライドゲートであって、
前記突起の上面は斜面である、スライドゲート。
【請求項5】
請求項1ないし請求項3のいずれか一項に記載のスライドゲートであって、
前記突起の上面は、前記スライド方向に直交する幅方向において、両端部に向かうにつれて下方へ向かう斜面を有する、スライドゲート。
【請求項6】
請求項1ないし請求項3のいずれか一項に記載のスライドゲートであって、
前記下板の下方において前記粉粒体を収集するサンプル収集部
をさらに有し、
前記下板は、上下に貫通するサンプリング孔をさらに有し、
前記板状弁体が前記閉位置に配置されると、前記上側輸送孔および前記下側輸送孔は前記弁体本体によって塞がれるとともに、前記通過孔および前記サンプリング孔が上下方向に重なり、
前記サンプル収集部は、前記サンプリング孔から下方へ落下する前記粉粒体を収集する、スライドゲート。
発明の詳細な説明
【技術分野】
【0001】
本発明は、粉粒体の輸送経路上に配置されるスライドゲートに関する。
続きを表示(約 1,700 文字)
【背景技術】
【0002】
従来、粉粒体の輸送を制御するために、輸送経路上にスライドゲートを用いる場合がある。従来のスライドゲートは、例えば、特許文献1に記載されている。特許文献1には、スライドベース(ハウジング)に対して開閉弁である弁体がスライド移動することで輸送経路を開閉するスライドゲートが開示されている。
【先行技術文献】
【特許文献】
【0003】
特開2008-107024号公報
【発明の概要】
【発明が解決しようとする課題】
【0004】
スライドゲートは簡易な構成で輸送制御を行うことができる一方で、スライド移動する弁体と、固定部材との間に粉粒体が噛み込まれて弁体の移動が抑制されてしまう場合がある。特許文献1では、弁体の通過孔の端部に切込みと呼ばれる凹部を設けることで噛み込みを抑制している。しかしながら、粉粒体の種類によっては、この構成では、噛み込みを十分に抑制できない場合がある。
【0005】
本発明の目的は、粉粒体の輸送経路上に配置されるスライドゲートにおいて、粉粒体の噛み込みを効果的に抑制できる技術を提供することを目的とする。
【課題を解決するための手段】
【0006】
上記課題を解決するため、本願の第1発明は、上方から下方へと粉粒体を輸送する輸送経路に介挿されるスライドゲートであって、開位置と閉位置との間で水平方向であるスライド方向にスライド移動可能な板状弁体と、前記板状弁体の上方に配置される上板と、前記板状弁体の下方に配置される下板と、を有し、前記板状弁体の前記閉位置は、前記開位置に対して前記スライド方向一方側に配置され、前記板状弁体は、平板状の弁体本体と、前記弁体本体を上下に貫通する通過孔と、前記通過孔の前記スライド方向一方側から、前記通過孔内に、前記スライド方向他方側に延びる突起と、を有し、前記上板は、上下に貫通する上側輸送孔を有し、前記下板は、上下に貫通し、前記上側輸送孔と上下方向に重なる下側輸送孔を有し、前記板状弁体が前記開位置に配置されると、前記上側輸送孔、前記通過孔および前記下側輸送孔が上下方向に重なり、前記板状弁体が前記閉位置に配置されると、前記上側輸送孔および前記下側輸送孔は前記弁体本体によって塞がれる。
【0007】
本願の第2発明は、第1発明のスライドゲートであって、前記板状弁体は、前記弁体本体の上面から上方に突出し、前記突起の前記スライド方向一方側の端部から前記スライド方向一方側へ延びる上側凸部をさらに有し、前記突起の上端部は、前記弁体本体よりも上方に配置され、かつ、前記上側凸部の上端以下の高さを有し、前記上板は、前記上板の下面から上方に凹み、前記上側輸送孔から前記スライド方向一方側へ延びる上側溝部をさらに有し、前記閉位置において、前記上側溝部の内部に前記上側凸部および前記突起の上部が収容される。
【0008】
本願の第3発明は、第1発明または第2発明のスライドゲートであって、前記板状弁体は、前記弁体本体の下面から下方に突出し、前記突起の前記スライド方向一方側の端部から前記スライド方向一方側へ延びる下側凸部をさらに有し、前記突起の下端部は、前記弁体本体よりも下方に配置され、かつ、前記下側凸部の下端以上の高さを有し、前記下板は、前記下板の上面から下方に凹み、前記下側輸送孔から前記スライド方向一方側へ延びる下側溝部をさらに有し、前記閉位置において、前記下側溝部の内部に前記下側凸部および前記突起の下部が収容される。
【0009】
本願の第4発明は、第1発明ないし第3発明のいずれか一発明のスライドゲートであって、前記突起の上面は斜面である。
【0010】
本願の第5発明は、第1発明ないし第3発明のいずれか一発明のスライドゲートであって、前記突起の上面は、前記スライド方向に直交する幅方向において、両端部に向かうにつれて下方へ向かう斜面を有する。
(【0011】以降は省略されています)
この特許をJ-PlatPat(特許庁公式サイト)で参照する
関連特許
個人
箱
12か月前
個人
ゴミ箱
11か月前
個人
収容箱
2か月前
個人
コンベア
4か月前
個人
段ボール箱
6か月前
個人
容器
8か月前
個人
段ボール箱
6か月前
個人
ゴミ収集器
6か月前
個人
バンド
1か月前
個人
パウチ補助具
11か月前
個人
角筒状構造体
4か月前
個人
楽ちんハンド
4か月前
個人
土嚢運搬器具
7か月前
個人
宅配システム
6か月前
個人
包装容器
19日前
個人
閉塞装置
9か月前
個人
お薬の締結装置
5か月前
個人
廃棄物収容容器
2か月前
個人
コード類収納具
7か月前
個人
蓋閉止構造
3か月前
個人
貯蔵サイロ
6か月前
個人
ゴミ処理機
8か月前
個人
蓋閉止構造
3か月前
株式会社和気
包装用箱
8か月前
個人
把手付米袋
4か月前
株式会社バンダイ
物品
今日
個人
積み重ね用補助具
2か月前
株式会社コロナ
梱包材
4か月前
株式会社新弘
容器
11か月前
株式会社新弘
容器
11か月前
三甲株式会社
容器
5か月前
三甲株式会社
容器
5か月前
個人
搬送システム
6か月前
個人
輸送積荷用動吸振器
5か月前
株式会社イシダ
搬送装置
5か月前
三甲株式会社
蓋体
8か月前
続きを見る
他の特許を見る