TOP
|
特許
|
意匠
|
商標
特許ウォッチ
Twitter
他の特許を見る
10個以上の画像は省略されています。
公開番号
2025142551
公報種別
公開特許公報(A)
公開日
2025-10-01
出願番号
2024041978
出願日
2024-03-18
発明の名称
制御プログラム、制御方法、および情報処理装置
出願人
富士通株式会社
代理人
個人
主分類
G06N
3/08 20230101AFI20250924BHJP(計算;計数)
要約
【課題】妥当な出力が得られるように中間表現の操作を制御すること。
【解決手段】制御装置201は、学習済みモデルMに入力された入力データxの中間表現Hを変更する際に、第1の指標に基づいて、学習済みモデルMにより中間表現Hから生成された今回の出力データyの妥当性を評価する。第1の指標は、学習済みモデルMの学習に用いられた学習データのデータ分布における出力データの存在確率と相関のある指標である。制御装置201は、評価した結果に基づいて、学習済みモデルMにより生成される出力データyの妥当性が高くなるように、中間表現Hを変更する。
【選択図】図6
特許請求の範囲
【請求項1】
学習済みモデルに入力された入力データの中間表現を変更する際に、
前記学習済みモデルの学習に用いられた学習データのデータ分布における出力データの存在確率と相関のある第1の指標に基づいて、前記学習済みモデルにより前記中間表現から生成された今回の出力データの妥当性を評価し、
評価した結果に基づいて、前記学習済みモデルにより生成される出力データの妥当性が高くなるように、前記中間表現を変更する、
処理をコンピュータに実行させることを特徴とする制御プログラム。
続きを表示(約 1,400 文字)
【請求項2】
前記評価する処理は、
前記第1の指標と、目標とする出力データとの近さを表す第2の指標とに基づいて、前記今回の出力データの妥当性を評価する、ことを特徴とする請求項1に記載の制御プログラム。
【請求項3】
前記学習済みモデルは、アミノ酸配列を入力データとして、タンパク質の構造を表す出力データを出力する深層学習モデルであり、
前記第1の指標は、前記学習済みモデルにより前記今回の出力データについて推定される出力構造の確信度を表す指標を含む、
ことを特徴とする請求項2に記載の制御プログラム。
【請求項4】
前記第2の指標は、目標とするタンパク質のターゲット構造に対応する電子密度分布と前記今回の出力データが表すタンパク質の構造に対応する電子密度分布との類似度を含む、ことを特徴とする請求項3に記載の制御プログラム。
【請求項5】
前記学習済みモデルは、文を表す系列情報を入力データとして、別の文を表す系列情報を出力データとして出力するモデルであり、
前記第1の指標は、前記学習済みモデルにより前記今回の出力データについて推定される文の出力確率を表すスコアを含む、
ことを特徴とする請求項2に記載の制御プログラム。
【請求項6】
前記第2の指標は、前記入力データから変換された初回の中間表現から生成された初回の出力データが表す文と、前記今回の出力データが表す文との編集距離を含む、ことを特徴とする請求項5に記載の制御プログラム。
【請求項7】
前記中間表現を変更した結果、所定の終了条件を満たすか否かを判断する処理、
前記所定の終了条件を満たさない場合、変更した前記中間表現から生成された出力データを前記今回の出力データとして、前記評価する処理および前記変更する処理、
前記所定の終了条件を満たす場合、変更した前記中間表現から生成された出力データを出力する処理、
を前記コンピュータに実行させることを特徴とする請求項1~6のいずれか一つに記載の制御プログラム。
【請求項8】
学習済みモデルに入力された入力データの中間表現を変更する際に、
前記学習済みモデルの学習に用いられた学習データのデータ分布における出力データの存在確率と相関のある第1の指標に基づいて、前記学習済みモデルにより前記中間表現から生成された今回の出力データの妥当性を評価し、
評価した結果に基づいて、前記学習済みモデルにより生成される出力データの妥当性が高くなるように、前記中間表現を変更する、
処理をコンピュータが実行することを特徴とする制御方法。
【請求項9】
学習済みモデルに入力された入力データの中間表現を変更する際に、
前記学習済みモデルの学習に用いられた学習データのデータ分布における出力データの存在確率と相関のある第1の指標に基づいて、前記学習済みモデルにより前記中間表現から生成された今回の出力データの妥当性を評価し、
評価した結果に基づいて、前記学習済みモデルにより生成される出力データの妥当性が高くなるように、前記中間表現を変更する、
制御部を有することを特徴とする情報処理装置。
発明の詳細な説明
【技術分野】
【0001】
本発明は、制御プログラム、制御方法、および情報処理装置に関する。
続きを表示(約 1,600 文字)
【背景技術】
【0002】
従来、Transformerモデルをはじめとする系列情報を扱う深層学習モデルは、入力情報の理解と構造をもつ出力予測とにおいて高い性能を発揮する(例えば、下記非特許文献1参照)。また、タンパク質構造予測を行うAlphaFold2のように、高い表現能力をもつ大規模な学習済みモデルが知られている(例えば、下記非特許文献2参照)。このような学習済みモデルの表現能力を活かし、学習済みモデルのパラメータに変更を加えることなく、質の良い多様な出力を生成したい場合がある。
【先行技術文献】
【非特許文献】
【0003】
Vaswani et al.:Attention is All You Need,NeurIPS 2017(2017)
Jumper,J. et al.Highly accurate protein structure prediction with AlphaFold.Nature 596,583-589(2021)
【発明の概要】
【発明が解決しようとする課題】
【0004】
しかしながら、従来技術では、学習済みモデルの中間表現に対して何らかの操作を行って出力に変更を加えようとするとき、妥当性のある出力に対応する中間表現の操作範囲が明らかでなく、どのように操作すれば妥当な出力が得られるのか判断することが難しい。
【0005】
一つの側面では、本発明は、妥当な出力が得られるように中間表現の操作を制御することを目的とする。
【課題を解決するための手段】
【0006】
1つの実施態様では、学習済みモデルに入力された入力データの中間表現を変更する際に、前記学習済みモデルの学習に用いられた学習データのデータ分布における出力データの存在確率と相関のある第1の指標に基づいて、前記学習済みモデルにより前記中間表現から生成された今回の出力データの妥当性を評価し、評価した結果に基づいて、前記学習済みモデルにより生成される出力データの妥当性が高くなるように、前記中間表現を変更する、制御プログラムが提供される。
【発明の効果】
【0007】
本発明の一側面によれば、妥当な出力が得られるように中間表現の操作を制御することができるという効果を奏する。
【図面の簡単な説明】
【0008】
図1は、実施の形態にかかる制御方法の一実施例を示す説明図である。
図2は、情報処理システム200のシステム構成例を示す説明図である。
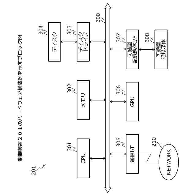
図3は、制御装置201のハードウェア構成例を示すブロック図である。
図4は、入力データの具体例を示す説明図である。
図5は、中間表現の具体例を示す説明図である。
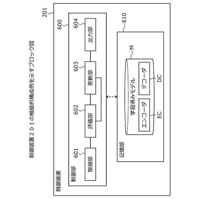
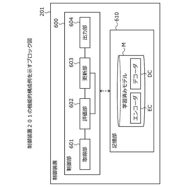
図6は、制御装置201の機能的構成例を示すブロック図である。
図7は、制御装置201の動作例を示す説明図である。
図8は、制御装置201の制御処理手順の一例を示すフローチャートである。
【発明を実施するための形態】
【0009】
以下に図面を参照して、本発明にかかる制御プログラム、制御方法、および情報処理装置の実施の形態を詳細に説明する。
【0010】
(実施の形態)
図1は、実施の形態にかかる制御方法の一実施例を示す説明図である。図1において、情報処理装置100は、学習済みモデル110に入力された入力データの中間表現の操作を制御するコンピュータである。ここで、学習済みモデル110は、深層学習(ディープラーニング)などの機械学習により学習された機械学習モデル(学習済み機械学習モデル)である。
(【0011】以降は省略されています)
この特許をJ-PlatPat(特許庁公式サイト)で参照する
関連特許
富士通株式会社
周波数変換器
6日前
富士通株式会社
行列演算回路
3日前
富士通株式会社
医用画像処理方法
1か月前
富士通株式会社
ハイブリッド光増幅器
1か月前
富士通株式会社
冷却装置及び電子機器
3日前
富士通株式会社
転倒検出方法及び装置
1か月前
富士通株式会社
量子デバイスの製造方法
1か月前
富士通株式会社
通信制御装置及び移動中継装置
今日
富士通株式会社
演算処理装置及び演算処理方法
14日前
富士通株式会社
動的多次元メディアコンテンツ投影
13日前
富士通株式会社
ポイントクラウドレジストレーション
1か月前
富士通株式会社
データ転送制御装置および情報処理装置
1か月前
富士通株式会社
視線誘導方法および視線誘導プログラム
1か月前
富士通株式会社
異常予測方法および異常予測プログラム
13日前
富士通株式会社
データ転送制御装置および情報処理装置
1か月前
富士通株式会社
演算システムおよび演算システムの制御方法
21日前
富士通株式会社
生成人工知能を使用したデータセット符号化
24日前
富士通株式会社
管理装置、管理方法、および管理プログラム
1日前
富士通株式会社
学習プログラム、学習方法および情報処理装置
2か月前
富士通株式会社
シストリック型の演算アレイ装置及び制御方法
15日前
富士通株式会社
推定プログラム、推定方法および情報処理装置
1か月前
富士通株式会社
学習プログラム、学習方法、及び情報処理装置
1か月前
富士通株式会社
画像を記述する構造化テキストを生成する方法
1か月前
富士通株式会社
描画プログラム、描画方法および情報処理装置
1か月前
富士通株式会社
交通シミュレーションのための方法および装置
13日前
富士通株式会社
推定プログラム、推定方法および情報処理装置
1か月前
富士通株式会社
予測プログラム、予測方法および情報処理装置
15日前
富士通株式会社
演算装置、情報処理装置及び演算装置の制御方法
15日前
富士通株式会社
制御プログラム、制御方法、および情報処理装置
1日前
富士通株式会社
データ処理装置、プログラム及びデータ処理方法
1か月前
富士通株式会社
電源制御回路,情報処理装置および電源制御方法
1か月前
富士通株式会社
演算プログラム、演算方法、および情報処理装置
1か月前
富士通株式会社
表示制御プログラム、表示制御方法及び情報処理装置
1か月前
富士通株式会社
情報処理プログラム、情報処理方法及び情報処理装置
1か月前
富士通株式会社
光送信機アナログ特性の監視装置と方法及び光送信機
24日前
富士通株式会社
レース内容再現方法およびレース内容再現プログラム
23日前
続きを見る
他の特許を見る