TOP
|
特許
|
意匠
|
商標
特許ウォッチ
Twitter
他の特許を見る
公開番号
2025135248
公報種別
公開特許公報(A)
公開日
2025-09-18
出願番号
2024032999
出願日
2024-03-05
発明の名称
演算処理装置及び演算処理方法
出願人
富士通株式会社
代理人
弁理士法人真田特許事務所
,
個人
主分類
G06F
9/38 20180101AFI20250910BHJP(計算;計数)
要約
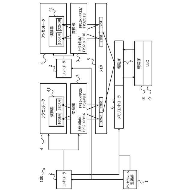
【課題】複数のアクセラレータを備えた演算処理装置において、データ転送の遅れを取り戻せるようにする。
【解決手段】主記憶装置5~9に記憶されたデータに対する演算を実行する複数のアクセラレータ4における演算の実行状況を監視し、実行状況の監視結果において、複数のアクセラレータ4のうち少なくとも一つのアクセラレータ4でデータ転送の遅延を検知した場合に、所定の精度に圧縮したデータを主記憶装置5~9から少なくとも一つのアクセラレータ4へ転送させる、制御部1を備える。
【選択図】図2
特許請求の範囲
【請求項1】
主記憶装置に記憶されたデータに対する演算を実行する複数のアクセラレータにおける演算の実行状況を監視し、
前記実行状況の監視結果において、前記複数のアクセラレータのうち少なくとも一つのアクセラレータでデータ転送の遅延を検知した場合に、所定の精度に圧縮したデータを前記主記憶装置から前記少なくとも一つのアクセラレータへ転送させる、
制御部を備える、演算処理装置。
続きを表示(約 520 文字)
【請求項2】
前記制御部は、
前記少なくとも一つのアクセラレータが他のアクセラレータの演算実行結果を待ち合わせている場合に、前記圧縮したデータを前記所定の精度よりも高い精度にアップコンバートさせて、前記少なくとも一つのアクセラレータに対して演算を実行させる、
請求項1に記載の演算処理装置。
【請求項3】
前記制御部は、
前記複数のアクセラレータにおける演算実行結果の精度を検証する場合に、前記圧縮したデータを前記所定の精度よりも高い精度にアップコンバートさせて、前記少なくとも一つのアクセラレータに対して演算を実行させる、
請求項1又は2に記載の演算処理装置。
【請求項4】
主記憶装置に記憶されたデータに対する演算を実行する複数のアクセラレータにおける演算の実行状況を監視し、
前記実行状況の監視結果において、前記複数のアクセラレータのうち少なくとも一つのアクセラレータでデータ転送の遅延を検知した場合に、所定の精度に圧縮したデータを前記主記憶装置から前記少なくとも一つのアクセラレータへ転送させる、
処理をコンピュータが実行する、演算処理方法。
発明の詳細な説明
【技術分野】
【0001】
本発明は、演算処理装置及び演算処理方法に関する。
続きを表示(約 1,400 文字)
【背景技術】
【0002】
AI(Artificial Intelligence)や科学技術計算など大量のデータを扱いかつ大量の演算処理を行う需要が絶えずあり、アクセラレータを使った高速化が行われてきている。例えば、GPU(Graphic Processing Unit)を用いたデータ並列処理による高速化や、TPU(Tensor Processing Unit)を用いた機械学習に必要な行列演算に特化した高速化が行われている。
【0003】
複数のアクセラレータを一つのデバイスで動かすようなアクセラレータも出現しており、複数個をまとめて一つのアクセラレータとして使うことも、個々に複数のアクセラレータとして使うことも可能となっている。例えば、TPUは行列演算器を複数個持つ。また、演算器を複数持ち各演算器の演算内容と演算器間のデータ転送経路を再構成可能な演算器であるCGRA(Coarse-Grained Reconfigurable Architecture)が複数備えられることもある。
【先行技術文献】
【特許文献】
【0004】
国際公開2023/002546号
【発明の概要】
【発明が解決しようとする課題】
【0005】
複数の演算器を独立に使う場合に、実行に必要なデータ転送が間に合わなくなり、個々の演算器のbusy率に偏りが生じ、全体の実行時間が遅くなるおそれがある。
【0006】
例えば、プログラムの実行状態に応じて必要なデータがキャッシュに載っていないことがある。特定の演算器にデータが供給されないとその結果に律速されて全体の実行時間が遅くなる。
【0007】
1つの側面では、複数のアクセラレータを備えた演算処理装置において、データ転送の遅れを取り戻せるようにすることを目的とする。
【課題を解決するための手段】
【0008】
1つの側面では、演算処理装置は、主記憶装置に記憶されたデータに対する演算を実行する複数のアクセラレータにおける演算の実行状況を監視し、前記実行状況の監視結果において、前記複数のアクセラレータのうち少なくとも一つのアクセラレータでデータ転送の遅延を検知した場合に、所定の精度に圧縮したデータを前記主記憶装置から前記少なくとも一つのアクセラレータへ転送させる、制御部を備える。
【発明の効果】
【0009】
1つの側面では、複数のアクセラレータを備えた演算処理装置において、データ転送の遅れを取り戻すことができる。
【図面の簡単な説明】
【0010】
遅延が発生する実行命令列を例示する図である。
実施形態における演算処理装置の構成例を模式的に示すブロック図である。
データ圧縮後のアクセラレータの動作を説明する図である。
データ圧縮転送が行われた場合に元の精度の計算結果を転送するプログラムを例示する図である。
データ圧縮転送が行われた場合でも、元の精度の計算結果を転送しないプログラムを例示する図である。
LLC側の転送IFの制御処理を説明する図である。
【発明を実施するための形態】
(【0011】以降は省略されています)
この特許をJ-PlatPat(特許庁公式サイト)で参照する
関連特許
富士通株式会社
行列演算回路
6日前
富士通株式会社
周波数変換器
9日前
富士通株式会社
医用画像処理方法
2か月前
富士通株式会社
ハイブリッド光増幅器
1か月前
富士通株式会社
転倒検出方法及び装置
1か月前
富士通株式会社
冷却装置及び電子機器
6日前
富士通株式会社
量子デバイスの製造方法
1か月前
富士通株式会社
演算処理装置及び演算処理方法
17日前
富士通株式会社
通信制御装置及び移動中継装置
3日前
富士通株式会社
動的多次元メディアコンテンツ投影
16日前
富士通株式会社
ポイントクラウドレジストレーション
1か月前
富士通株式会社
データ転送制御装置および情報処理装置
1か月前
富士通株式会社
視線誘導方法および視線誘導プログラム
1か月前
富士通株式会社
異常予測方法および異常予測プログラム
16日前
富士通株式会社
データ転送制御装置および情報処理装置
1か月前
富士通株式会社
生成人工知能を使用したデータセット符号化
27日前
富士通株式会社
演算システムおよび演算システムの制御方法
24日前
富士通株式会社
管理装置、管理方法、および管理プログラム
4日前
富士通株式会社
交通シミュレーションのための方法および装置
16日前
富士通株式会社
プログラム、情報処理方法および情報処理装置
2日前
富士通株式会社
描画プログラム、描画方法および情報処理装置
2か月前
富士通株式会社
推定プログラム、推定方法および情報処理装置
1か月前
富士通株式会社
画像を記述する構造化テキストを生成する方法
1か月前
富士通株式会社
学習プログラム、学習方法、及び情報処理装置
1か月前
富士通株式会社
推定プログラム、推定方法および情報処理装置
1か月前
富士通株式会社
シストリック型の演算アレイ装置及び制御方法
18日前
富士通株式会社
予測プログラム、予測方法および情報処理装置
18日前
富士通株式会社
データ処理装置、プログラム及びデータ処理方法
2か月前
富士通株式会社
演算装置、情報処理装置及び演算装置の制御方法
18日前
富士通株式会社
演算プログラム、演算方法、および情報処理装置
1か月前
富士通株式会社
制御プログラム、制御方法、および情報処理装置
4日前
富士通株式会社
電源制御回路,情報処理装置および電源制御方法
1か月前
富士通株式会社
情報処理プログラム、情報処理方法及び情報処理装置
1か月前
富士通株式会社
情報処理プログラム、情報処理装置及び情報処理方法
24日前
富士通株式会社
異常検出プログラム、異常検出方法及び情報処理装置
16日前
富士通株式会社
レース内容再現方法およびレース内容再現プログラム
26日前
続きを見る
他の特許を見る