TOP
|
特許
|
意匠
|
商標
特許ウォッチ
Twitter
他の特許を見る
10個以上の画像は省略されています。
公開番号
2025144895
公報種別
公開特許公報(A)
公開日
2025-10-03
出願番号
2024044806
出願日
2024-03-21
発明の名称
プログラム、情報処理方法および情報処理装置
出願人
富士通株式会社
代理人
弁理士法人扶桑国際特許事務所
主分類
G08G
1/123 20060101AFI20250926BHJP(信号)
要約
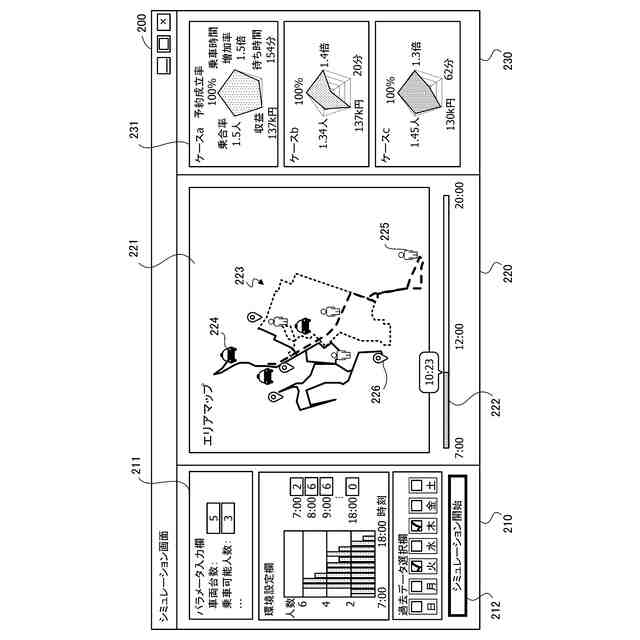
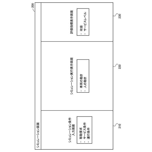
【課題】サービスの品質の評価を可能にする。
【解決手段】情報処理装置10は、記憶部11と処理部12とを有する。記憶部11は、複数の利用者それぞれの移動要求により乗物を運行するサービスの提供に関する条件であるサービス条件を記憶する。処理部12は、移動要求と、サービス条件とに基づいて、乗物の運行に関するシミュレーションを実行する。処理部12は、シミュレーションの結果に基づいて、サービス条件に対するサービスの品質を表す情報を出力する。
【選択図】図1
特許請求の範囲
【請求項1】
コンピュータに、
複数の利用者それぞれの移動要求により乗物を運行するサービスの提供に関する条件であるサービス条件を受け付け、
前記移動要求と、前記サービス条件とに基づいて、前記乗物の運行に関するシミュレーションを実行し、
前記シミュレーションの結果に基づいて、前記サービス条件に対する前記サービスの品質を表す情報を出力する、
処理を実行させるプログラム。
続きを表示(約 1,500 文字)
【請求項2】
前記受け付ける処理は、複数の前記サービス条件を受け付ける処理であって、
前記実行する処理は、前記移動要求と、複数の前記サービス条件のそれぞれとに基づいて、複数の前記サービス条件それぞれに対して前記シミュレーションを実行する処理であり、
前記出力する処理は、複数の前記サービス条件それぞれに対するシミュレーション結果に基づいて、複数の前記サービス条件それぞれに対する前記情報を比較可能な形態で画面に出力する処理である、
請求項1記載のプログラム。
【請求項3】
前記受け付ける処理は、前記サービス条件と、前記乗物に関する条件である運行条件とを受け付ける処理であって、
前記実行する処理は、前記移動要求と、前記サービス条件と、前記運行条件とに基づいて前記シミュレーションを実行する処理である、
請求項1記載のプログラム。
【請求項4】
前記実行する処理は、前記シミュレーションの開始後に前記移動要求が発生すると、前記シミュレーションの開始後に発生した前記移動要求を前記シミュレーションに反映させ、前記シミュレーションを実行する処理である、
請求項1記載のプログラム。
【請求項5】
前記シミュレーションを実行する処理は、デジタルツインにおいて、前記移動要求と、前記サービス条件とに基づいて、前記シミュレーションを実行する処理である、
請求項1記載のプログラム。
【請求項6】
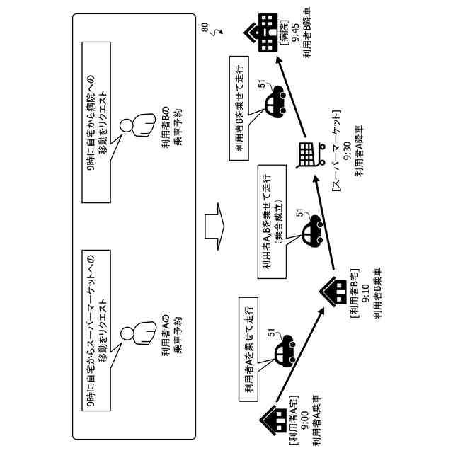
前記サービスは、デマンド型乗合交通サービスであり、
前記サービス条件は、前記利用者の出発予定時刻と前記乗物への乗車時刻との間に許容される第1の乖離度、および、前記利用者が希望する出発地から目的地までの前記乗物による最短経路での所要時間と前記出発地から前記目的地までの前記乗物における前記利用者の乗車時間との間に許容される第2の乖離度のうちの少なくとも一方を含む、
請求項1記載のプログラム。
【請求項7】
前記サービスは、デマンド型乗合交通サービスであり、
前記サービスの品質は、前記乗物が2以上の前記利用者によって共有された割合である乗合率、前記移動要求の受入率、前記移動要求によって特定される、前記利用者の出発予定時刻と前記利用者が前記乗物に乗車した乗車開始時刻との差の平均である平均待ち時間、および、前記利用者が前記乗物に乗車した時間である乗車時間と、最短経路での前記乗車時間を示す最短乗車時間との比率の平均である乗車時間の増加率の平均値の少なくとも何れかを含む、
請求項1記載のプログラム。
【請求項8】
コンピュータが、
複数の利用者それぞれの移動要求により乗物を運行するサービスの提供に関する条件であるサービス条件を受け付け、
前記移動要求と、前記サービス条件とに基づいて、前記乗物の運行に関するシミュレーションを実行し、
前記シミュレーションの結果に基づいて、前記サービス条件に対する前記サービスの品質を表す情報を出力する、
情報処理方法。
【請求項9】
複数の利用者それぞれの移動要求により乗物を運行するサービスの提供に関する条件であるサービス条件を記憶する記憶部と、
前記移動要求と、前記サービス条件とに基づいて、前記乗物の運行に関するシミュレーションを実行し、前記シミュレーションの結果に基づいて、前記サービス条件に対する前記サービスの品質を表す情報を出力する処理部と、
を有する情報処理装置。
発明の詳細な説明
【技術分野】
【0001】
本発明はプログラム、情報処理方法および情報処理装置に関する。
続きを表示(約 1,400 文字)
【背景技術】
【0002】
現在、公共交通機関の空白地帯の対応や高齢者福祉などのために、路線バスなどの路線定期型交通に替えて、デマンド型交通のサービスの提供が進んでいる。デマンド型交通は、利用者の移動要求に応じて交通手段を運行する手法である。デマンド型交通には、運行方式、運行ダイヤおよび発着地などの組み合わせにより、多様な運行形態が存在し得る。また、一つの交通手段を複数の人々が共有して移動する乗合交通のサービスが提供されることもある。デマンド型交通および乗合交通を合わせたサービスは、デマンド型乗合交通と呼ばれる。
【0003】
例えば、予約による運行管理を行う旅客自動車の営業形態において顧客数に対する運行可否の判定を行う情報処理装置の提案がある。
また、ユーザが利用料金を支払ってデマンドレスポンシブに共同で利用可能な乗物であるバスの運行を提供するモビリティサービスを実現する情報システムの提案もある。
【0004】
また、利用者からのデマンドに基づいて運行計画を作成し、作成された運行計画に沿って車両の運行を行う車両運行システムの提案もある。
更に、複数の乗客が車両を共有するライドシェアリング用の複数台の車両を管理し、輸送ルートを計画するシステムの提案もある。
【先行技術文献】
【特許文献】
【0005】
特開2021-107985号公報
特開2023-131019号公報
特開2009-294904号公報
米国特許出願公開第2019/0311307号明細書
【発明の概要】
【発明が解決しようとする課題】
【0006】
サービスを市場に導入するか否かを判定するために、サービスを提供する上での条件であるサービス条件と、ユーザの需要に対するサービスの品質と収益とを最適化することが考えられる。例えば、デマンド型乗合交通などの交通サービスでは、利用者が乗車を希望する時刻に対して許容される実際の乗車開始時刻の調整幅や、利用者が希望する出発地から目的地までの運搬にかかる所要時間などについてサービス条件が考慮され得る。しかしながら、上記既存の手法ではサービス条件に対するサービスの品質を評価することができない。
【0007】
1つの側面では、本発明は、サービスの品質の評価を可能にすることを目的とする。
【課題を解決するための手段】
【0008】
1つの態様では、プログラムが提供される。このプログラムは、コンピュータに次の処理を実行させる。コンピュータは、複数の利用者それぞれの移動要求により乗物を運行するサービスの提供に関する条件であるサービス条件を受け付ける。コンピュータは、移動要求と、サービス条件とに基づいて、乗物の運行に関するシミュレーションを実行する。コンピュータは、シミュレーションの結果に基づいて、サービス条件に対するサービスの品質を表す情報を出力する。
【0009】
また、1つの態様では、コンピュータが実行する情報処理方法が提供される。また、1つの態様では、記憶部と処理部とを有する情報処理装置が提供される。
【発明の効果】
【0010】
1つの側面では、サービスの品質の評価を行うことができる。
【図面の簡単な説明】
(【0011】以降は省略されています)
この特許をJ-PlatPat(特許庁公式サイト)で参照する
関連特許
富士通株式会社
行列演算回路
6日前
富士通株式会社
周波数変換器
9日前
富士通株式会社
医用画像処理方法
2か月前
富士通株式会社
ハイブリッド光増幅器
1か月前
富士通株式会社
転倒検出方法及び装置
1か月前
富士通株式会社
冷却装置及び電子機器
6日前
富士通株式会社
量子デバイスの製造方法
1か月前
富士通株式会社
制御装置及び基地局制御方法
2か月前
富士通株式会社
マーキング方法及びプログラム
2か月前
富士通株式会社
量子ビットデバイスの製造方法
2か月前
富士通株式会社
通信制御装置及び移動中継装置
3日前
富士通株式会社
演算処理装置及び演算処理方法
17日前
富士通株式会社
動的多次元メディアコンテンツ投影
16日前
富士通株式会社
ポイントクラウドレジストレーション
1か月前
富士通株式会社
データ転送制御装置および情報処理装置
1か月前
富士通株式会社
データ転送制御装置および情報処理装置
1か月前
富士通株式会社
異常予測方法および異常予測プログラム
16日前
富士通株式会社
視線誘導方法および視線誘導プログラム
1か月前
富士通株式会社
量子デバイス及び量子デバイスの制御方法
2か月前
富士通株式会社
演算システムおよび演算システムの制御方法
24日前
富士通株式会社
生成人工知能を使用したデータセット符号化
27日前
富士通株式会社
管理装置、管理方法、および管理プログラム
4日前
富士通株式会社
交通シミュレーションのための方法および装置
16日前
富士通株式会社
予測プログラム、予測方法および情報処理装置
18日前
富士通株式会社
画像を記述する構造化テキストを生成する方法
1か月前
富士通株式会社
プログラム、情報処理方法および情報処理装置
2日前
富士通株式会社
推定プログラム、推定方法および情報処理装置
1か月前
富士通株式会社
学習プログラム、学習方法および情報処理装置
2か月前
富士通株式会社
シストリック型の演算アレイ装置及び制御方法
18日前
富士通株式会社
学習プログラム、学習方法、及び情報処理装置
1か月前
富士通株式会社
推定プログラム、推定方法および情報処理装置
1か月前
富士通株式会社
描画プログラム、描画方法および情報処理装置
2か月前
富士通株式会社
演算装置、情報処理装置及び演算装置の制御方法
18日前
富士通株式会社
データ処理装置、プログラム及びデータ処理方法
2か月前
富士通株式会社
電源制御回路,情報処理装置および電源制御方法
1か月前
富士通株式会社
制御プログラム、制御方法、および情報処理装置
4日前
続きを見る
他の特許を見る