TOP
|
特許
|
意匠
|
商標
特許ウォッチ
Twitter
他の特許を見る
公開番号
2025141401
公報種別
公開特許公報(A)
公開日
2025-09-29
出願番号
2024041312
出願日
2024-03-15
発明の名称
行列演算回路
出願人
富士通株式会社
代理人
弁理士法人真田特許事務所
,
個人
主分類
G06F
17/16 20060101AFI20250919BHJP(計算;計数)
要約
【課題】複数精度の演算に対応可能な演算回路の回路面積を削減する。
【解決手段】複数の第1演算器3と複数の第1演算器3のそれぞれに接続される補助演算器4とを有する第2演算器2が格子状に複数、配置され、複数の第2演算器2のそれぞれにおいて、複数の第1演算器3のそれぞれは、行列積の乗数を分割して生成される部分行列と、被乗数を分割して生成される部分行列との乗算を行なって部分行列積を算出し、補助演算器4は、複数の第1演算器3のそれぞれによって算出された部分行列積の桁合わせと加算を行なう。
【選択図】図1
特許請求の範囲
【請求項1】
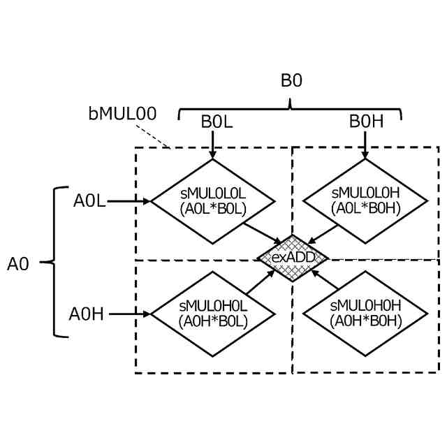
行列積の演算を行なう行列演算回路であって、
複数の第1演算器と、前記複数の第1演算器のそれぞれに接続される補助演算器と、を有する第2演算器が格子状に複数、配置され、
複数の前記第2演算器のそれぞれにおいて、
前記複数の第1演算器のそれぞれは、行列積の乗数を分割して生成される部分行列と被乗数を分割して生成される部分行列との乗算を行なって部分行列積を算出し、
前記補助演算器は、前記複数の第1演算器のそれぞれによって算出された前記部分行列積の桁合わせと加算を行なう
ことを特徴とする行列演算回路。
続きを表示(約 820 文字)
【請求項2】
前記行列演算回路は、第1の精度のデータを処理する第1の計算モードと、前記第1の精度よりも高い第2の精度のデータを処理する第2の計算モードとの2つの計算モードを切り替えて動作可能であり、
前記第1の計算モードにおいては、前記行列演算回路に備えられた全ての前記複数の第1演算器のそれぞれによって算出された前記部分行列積の加算を行ない、
前記第2の計算モードにおいては、前記複数の第2演算器の前記補助演算器のそれぞれの計算結果の加算を行なう
ことを特徴とする請求項1に記載の行列演算回路。
【請求項3】
前記複数の第1演算器のそれぞれが、FP(Floating Point)32のデータを演算対象とする回路であり、
前記複数の第2演算器のそれぞれが、FP64のデータを演算対象とする回路である
ことを特徴とする請求項1に記載の行列演算回路。
【請求項4】
前記複数の第1演算器のそれぞれが、FP16のデータを演算対象とする回路であり、
前記複数の第2演算器のそれぞれが、FP32のデータを演算対象とする回路である
ことを特徴とする請求項1に記載の行列演算回路。
【請求項5】
前記複数の第1演算器のそれぞれが、8ビット浮動小数点データを演算対象とする回路であり、
前記複数の第2演算器のそれぞれが、FP32のデータを演算対象とする回路である
ことを特徴とする請求項1に記載の行列演算回路。
【請求項6】
前記複数の第1演算器のそれぞれがWallace木を用いて形成された部分積加算回路である
ことを特徴とする請求項1に記載の行列演算回路。
【請求項7】
前記複数の第1演算器が格子状に配置された
ことを特徴とする請求項1~6のいずれか1項に記載の行列演算回路。
発明の詳細な説明
【技術分野】
【0001】
本発明は、行列演算回路に関する。
続きを表示(約 1,400 文字)
【背景技術】
【0002】
近年のHPC(High Performance Computing)において実行されるアプリケーション(HPCアプリ)やML(Machine Learning)を実現するアプリケーション(MLアプリ)では、浮動小数点演算が多用されている。
【0003】
また、これらのHPCアプリやMLアプリにおいては行列積演算を用いるものが多いが、浮動小数点のデータを演算対象とする行列積演算は計算時間が長くなるため、アクセラレータによる高速化が望まれている。なお、浮動小数点演算を実現する一般的な乗算回路では、仮数部(mantissa又はsignificand)の整数乗算器による処理に最も演算時間がかかる。
【0004】
さらに、浮動小数点演算では、アプリケーションによって、FP(Floating Point)64,FP32,FP16などの複数精度(ビット幅)の数値が使い分けられている。FP32乗算は24×24ビット整数乗算を必要とし、FP64乗算は53×53ビット整数乗算を必要とする。
【先行技術文献】
【特許文献】
【0005】
特開2021-33813号公報
【発明の概要】
【発明が解決しようとする課題】
【0006】
複数精度の浮動小数点演算に対応するために、アクセラレータにそれぞれの精度に対応する演算回路を複数実装すると回路面積が増大する。また、使われない精度用に設けられた演算回路は動作しないため、演算器の使用率も低下する。
【0007】
1つの側面では、本発明は、複数精度の演算に対応可能な演算回路の回路面積を削減することを目的とする。
【課題を解決するための手段】
【0008】
このため、この行列演算回路は、行列積の演算を行なう行列演算回路であって、複数の第1演算器と、前記複数の第1演算器のそれぞれに接続される補助演算器と、を有する第2演算器が格子状に複数、配置される。そして、複数の前記第2演算器のそれぞれにおいて、前記複数の第1演算器のそれぞれは、行列積の乗数を分割して生成される部分行列と被乗数を分割して生成される部分行列との乗算を行なって部分行列積を算出し、前記補助演算器は、前記複数の第1演算器のそれぞれによって算出された前記部分行列積の桁合わせと加算を行なう。
【発明の効果】
【0009】
一実施形態によれば、複数精度の演算に対応可能な演算回路の回路面積を削減することができる。
【図面の簡単な説明】
【0010】
一実施形態に係る演算回路の構成を模式的に示す図である。
Wallace木を説明するための図である。
Wallace木の構成を示す図である。
Wallace木の構成を示す図である。
Wallace木の構成を示す図である。
4つの24×24ビット整数乗算器用Wallace木を含む53×53ビット整数乗算器用Wallace木を例示する図である。
図6に例示したWallace木のレイアウト図である。
図6および図7に例示した53×53ビット整数乗算器用Wallace木を構成する4つの低精度乗算器および補助演算器の各Wallace木の構成を示す図である。
【発明を実施するための形態】
(【0011】以降は省略されています)
この特許をJ-PlatPat(特許庁公式サイト)で参照する
関連特許
個人
裁判のAI化
2か月前
個人
地球保全システム
2日前
個人
情報処理システム
2か月前
個人
フラワーコートA
1か月前
個人
工程設計支援装置
1か月前
個人
検査システム
2か月前
個人
為替ポイント伊達夢貯
29日前
個人
介護情報提供システム
2か月前
個人
冷凍食品輸出支援構造
29日前
個人
表変換編集支援システム
22日前
個人
設計支援システム
2か月前
個人
携帯情報端末装置
1か月前
個人
設計支援システム
2か月前
キヤノン電子株式会社
携帯装置
2か月前
個人
知財出願支援AIシステム
29日前
個人
結婚相手紹介支援システム
1か月前
株式会社サタケ
籾摺・調製設備
2か月前
個人
AIによる情報の売買の仲介
1か月前
株式会社カクシン
支援装置
2か月前
個人
行動時間管理システム
24日前
個人
パスワード管理支援システム
22日前
個人
海外支援型農作物活用システム
14日前
個人
備蓄品の管理方法
2か月前
株式会社キーエンス
受発注システム
1日前
株式会社キーエンス
受発注システム
1日前
個人
食品レシピ生成システム
1日前
個人
システム及びプログラム
15日前
株式会社キーエンス
受発注システム
1日前
株式会社アジラ
進入判定装置
1か月前
個人
アンケート支援システム
1か月前
日本精機株式会社
施工管理システム
1か月前
個人
パスポートレス入出国システム
1か月前
個人
AIキャラクター制御システム
22日前
サクサ株式会社
中継装置
2か月前
個人
未来型家系図構築システム
14日前
キヤノン株式会社
情報処理装置
2か月前
続きを見る
他の特許を見る