TOP
|
特許
|
意匠
|
商標
特許ウォッチ
Twitter
他の特許を見る
公開番号
2025154779
公報種別
公開特許公報(A)
公開日
2025-10-10
出願番号
2024057967
出願日
2024-03-29
発明の名称
二酸化炭素回収方法及び二酸化炭素回収システム
出願人
大阪瓦斯株式会社
代理人
弁理士法人R&C
主分類
B01D
53/04 20060101AFI20251002BHJP(物理的または化学的方法または装置一般)
要約
【課題】二酸化炭素吸着材が剥がれ落ちし難く、コストが抑えられる二酸化炭素回収方法を提供すること。
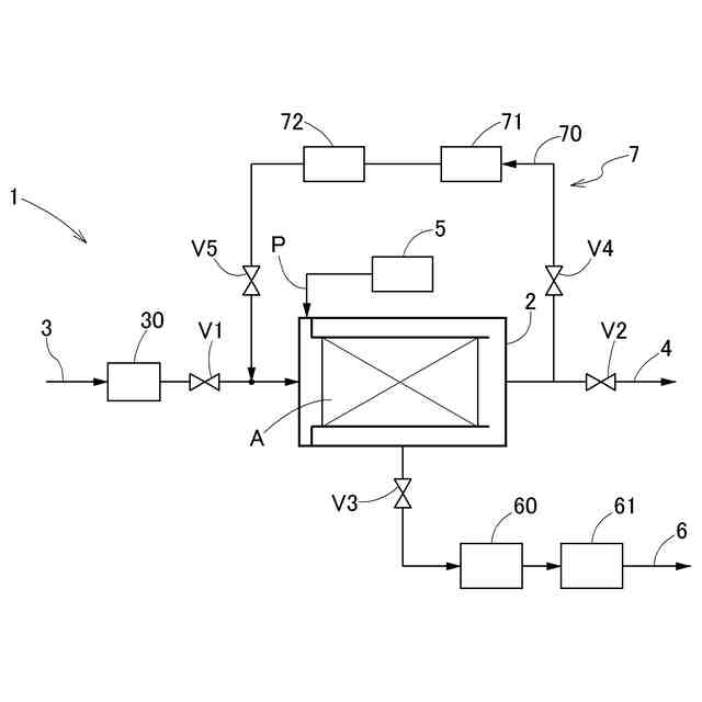
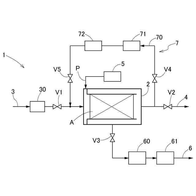
【解決手段】空気に含まれる二酸化炭素を吸着装置2内の吸着材Aに吸着させる吸着工程と、吸着装置2内の気圧を大気圧未満に減圧する減圧工程と、吸着材Aを加熱して二酸化炭素を脱離させる脱離工程と、吸着材Aを冷却する冷却工程と、を包含する二酸化炭素回収方法において、吸着装置2の内側と外側とを流体が循環可能な循環経路70が吸着装置2に設けられており、水蒸気を使用して吸着材Aを加熱して脱離工程を行った後、水蒸気を循環経路70にて循環させることによって冷却工程を行う。
【選択図】図1
特許請求の範囲
【請求項1】
空気に含まれる二酸化炭素を吸着装置内の吸着材に吸着させる吸着工程と、
前記吸着装置内の気圧を大気圧未満に減圧する減圧工程と、
前記吸着材を加熱して二酸化炭素を脱離させる脱離工程と、
前記吸着材を冷却する冷却工程と、を包含する二酸化炭素回収方法において、
前記吸着装置の内側と外側とを流体が循環可能な循環経路が前記吸着装置に設けられており、
水蒸気を使用して前記吸着材を加熱して前記脱離工程を行った後、前記水蒸気を前記循環経路にて循環させることによって前記冷却工程を行う二酸化炭素回収方法。
続きを表示(約 900 文字)
【請求項2】
空気に含まれる二酸化炭素を吸着装置内の吸着材に吸着させる吸着工程と、
前記吸着装置内の気圧を大気圧未満に減圧する減圧工程と、
前記吸着材を加熱して二酸化炭素を脱離させる脱離工程と、
前記吸着材を冷却する冷却工程と、を包含する二酸化炭素回収方法において、
前記冷却工程において、所定の冷却温度以下の温度に対応する飽和水蒸気圧となるように前記吸着装置内を減圧しつつ、液相の水を前記吸着装置内に投入してその水の蒸発熱によって前記吸着材を冷却する二酸化炭素回収方法。
【請求項3】
前記吸着材が、アミン化合物を含有する多孔質材料を備えて構成される請求項1又は2に記載の二酸化炭素回収方法。
【請求項4】
空気に含まれる二酸化炭素を吸着材に吸着させる吸着装置と、前記吸着装置に空気を供給する空気供給経路と、前記吸着装置から空気を排出する空気排出経路と、前記吸着材を加熱する加熱装置と、前記吸着材を冷却する冷却装置と、前記吸着装置の前記吸着材に吸着された二酸化炭素を回収する回収経路と、を備える二酸化炭素回収システムにおいて、
前記冷却装置は、前記吸着装置の内側と外側とを流体が循環可能な循環経路を備える、二酸化炭素回収システム。
【請求項5】
空気に含まれる二酸化炭素を吸着材に吸着させる吸着装置と、前記吸着装置に空気を供給する空気供給経路と、前記吸着装置から空気を排出する空気排出経路と、前記吸着材を加熱する加熱装置と、前記吸着材を冷却する冷却装置と、前記吸着装置の前記吸着材に吸着された二酸化炭素を回収する回収経路と、を備える二酸化炭素回収システムにおいて、
前記冷却装置は、液相の水を前記吸着装置内に投入するための水供給経路を備え、
前記回収経路は、前記吸着装置内の気圧を大気圧未満に減圧する減圧装置を備える、二酸化炭素回収システム。
【請求項6】
前記吸着材が、アミン化合物を含有する多孔質材料を備えて構成される請求項4又は5に記載の二酸化炭素回収システム。
発明の詳細な説明
【技術分野】
【0001】
本発明は、空気に含まれる二酸化炭素を回収する二酸化炭素回収方法及び二酸化炭素回収システムに関する。
続きを表示(約 1,500 文字)
【背景技術】
【0002】
化石燃料の燃焼に伴い放出された二酸化炭素による地球温暖化が問題となっており、化石燃料の燃焼に伴う二酸化炭素の大気中への放出を抑制することが急務となっている。一方で、化石燃料の利用が、技術的あるいは経済的に避けられない用途も存在することから、大気中の二酸化炭素を直接回収する(Direct Air Capture)技術への期待が高まっている。
【0003】
二酸化炭素は、水素と反応させてメタンなどの炭化水素に変換することができる。この際、水素の製造を太陽光発電や風力発電のような再生可能エネルギー由来の電力を用いて行うとともに、二酸化炭素は大気から回収したものを利用することとすれば、得られた炭化水素は、燃焼利用しても、燃料の製造から利用までの過程を通算して、大気中の二酸化炭素濃度を増加させることがないので、カーボンニュートラルな炭化水素となる。
【0004】
従来の二酸化炭素回収方法では、一般的に、空気に含まれる二酸化炭素を吸着装置内の吸着材に吸着させる吸着工程と、吸着装置内の気圧を大気圧未満に減圧する減圧工程と、吸着材を加熱して二酸化炭素を脱離させる脱離工程と、吸着材を冷却する冷却工程とが順次繰り返し行われている。この二酸化炭素回収方法によれば、吸着工程において二酸化炭素を吸着材に吸着させた後、減圧工程そして脱離工程において、二酸化炭素を吸着した吸着材を減圧下で加熱して二酸化炭素を吸着材から脱離させることによって、高濃度の二酸化炭素を回収することができる。
【0005】
そのような従来の二酸化炭素回収方法としては、例えば以下の特許文献1に示されるように、脱離工程で高温となった吸着材が酸素に晒されて劣化するのを避けるために、間接熱交換器等で冷却する方式が知られている。
【先行技術文献】
【特許文献】
【0006】
特許第6622302号公報
【発明の概要】
【発明が解決しようとする課題】
【0007】
従来の二酸化炭素回収方法では、間接熱交換器で冷却する場合、吸着材をこの間接熱交換器に塗布しておく必要があるが、使用時間によっては、吸着材が剥がれて二酸化炭素吸着性能が低下する虞がある。その場合、二酸化炭素吸着性能を回復するために吸着材を交換しようとすると、その費用がかさみコスト増となる。
【0008】
本発明の目的は、二酸化炭素吸着材が剥がれ落ちし難く、コストが抑えられる二酸化炭素回収方法を提供することにある。
【課題を解決するための手段】
【0009】
本発明に係る二酸化炭素回収方法の構成は、空気に含まれる二酸化炭素を吸着装置内の吸着材に吸着させる吸着工程と、
前記吸着装置内の気圧を大気圧未満に減圧する減圧工程と、
前記吸着材を加熱して二酸化炭素を脱離させる脱離工程と、
前記吸着材を冷却する冷却工程と、を包含する二酸化炭素回収方法において、
前記吸着装置の内側と外側とを流体が循環可能な循環経路が前記吸着装置に設けられており、
水蒸気を使用して前記吸着材を加熱して前記脱離工程を行った後、前記水蒸気を前記循環経路にて循環させることによって前記冷却工程を行う。
【0010】
本構成によれば、水蒸気を使用して吸着材を加熱して脱離工程を行った後、当該水蒸気を循環経路にて循環させて冷却工程を行なうことによって、吸着材を所定温度以下に冷却することができる。そのため、吸着材を塗布した間接熱交換器を使用する必要がなく、コストも抑えられる。
(【0011】以降は省略されています)
この特許をJ-PlatPat(特許庁公式サイト)で参照する
関連特許
大阪瓦斯株式会社
燃焼装置
7日前
大阪瓦斯株式会社
蓄電装置
1か月前
大阪瓦斯株式会社
探査装置
6日前
大阪瓦斯株式会社
給湯装置
16日前
大阪瓦斯株式会社
撥水性塗料
5日前
大阪瓦斯株式会社
ガスコンロ
16日前
大阪瓦斯株式会社
衣類乾燥機
1か月前
大阪瓦斯株式会社
加熱調理器
1か月前
大阪瓦斯株式会社
衣類乾燥機
1か月前
大阪瓦斯株式会社
フライヤー
13日前
大阪瓦斯株式会社
衣類乾燥機
1か月前
大阪瓦斯株式会社
ガラス複合体
8日前
大阪瓦斯株式会社
ガラス複合体
8日前
大阪瓦斯株式会社
音声出力装置
7日前
大阪瓦斯株式会社
警報システム
7日前
大阪瓦斯株式会社
警報システム
7日前
大阪瓦斯株式会社
管理システム
7日前
大阪瓦斯株式会社
蓄電制御装置
20日前
大阪瓦斯株式会社
蓄電制御装置
6日前
大阪瓦斯株式会社
高耐熱組成物
6日前
大阪瓦斯株式会社
酸化物複合体
6日前
大阪瓦斯株式会社
地中給電設備
26日前
大阪瓦斯株式会社
鮮度維持装置
26日前
大阪瓦斯株式会社
燃料電池装置
26日前
大阪瓦斯株式会社
異常診断装置
27日前
大阪瓦斯株式会社
異常診断装置
27日前
大阪瓦斯株式会社
異常診断装置
27日前
大阪瓦斯株式会社
異常診断装置
27日前
大阪瓦斯株式会社
異常診断装置
27日前
大阪瓦斯株式会社
異常診断装置
27日前
大阪瓦斯株式会社
異常診断装置
27日前
大阪瓦斯株式会社
異常診断装置
27日前
大阪瓦斯株式会社
異常診断装置
27日前
大阪瓦斯株式会社
動作制御装置
6日前
大阪瓦斯株式会社
熱供給システム
16日前
大阪瓦斯株式会社
蓄電池管理装置
20日前
続きを見る
他の特許を見る