TOP
|
特許
|
意匠
|
商標
特許ウォッチ
Twitter
他の特許を見る
10個以上の画像は省略されています。
公開番号
2025155366
公報種別
公開特許公報(A)
公開日
2025-10-14
出願番号
2024059170
出願日
2024-04-01
発明の名称
画像形成装置及び画像形成方法、並びにプログラム
出願人
キヤノン株式会社
代理人
個人
主分類
G03G
21/00 20060101AFI20251006BHJP(写真;映画;光波以外の波を使用する類似技術;電子写真;ホログラフイ)
要約
【課題】ユーザが過去に自動検知した用紙情報について、再度の自動検知やユーザによる煩雑な用紙情報の設定を行うことなく、短時間で簡易に所期の印刷作業を行うことができる画像形成装置を提供する。
【解決手段】画像形成装置100は、用紙特性を取得するセンサ手段14と、センサ手段13で取得された用紙特性に対応する用紙情報を選定する選定手段500と、選定手段500が過去に選定した用紙情報を記憶する記憶手段800と、記憶手段800に記憶された用紙情報をユーザの選択により設定可能に表示させる設定手段830と、を備えている。
【選択図】図8
特許請求の範囲
【請求項1】
用紙特性を取得するセンサ手段と、
前記センサ手段で取得された用紙特性に対応する用紙情報を選定する選定手段と、
前記選定手段が過去に選定した用紙情報を記憶する記憶手段と、
前記記憶手段に記憶された用紙情報をユーザの選択により設定可能に表示させる設定手段と、
を有する、
画像形成装置。
続きを表示(約 850 文字)
【請求項2】
前記選定手段は、用紙情報として用紙種類を選定する、
請求項1に記載の画像形成装置。
【請求項3】
前記設定手段で表示する指示をされた用紙情報をユーザの選択により設定可能に画面表示する表示手段を更に含む、
請求項1に記載の画像形成装置。
【請求項4】
前記記憶手段は、前記選定手段が過去に選定した用紙情報を全てのユーザに共通した情報として記憶している、
請求項1に記載の画像形成装置。
【請求項5】
前記記憶手段は、前記選定手段が過去に選定した用紙情報を個々のユーザごとに記憶しており、
前記設定手段は、当該ユーザに対応して前記記憶手段に記憶された用紙情報を設定可能に表示する、
請求項1に記載の画像形成装置。
【請求項6】
前記記憶手段は、前記選定手段が過去に選定した用紙情報を複数のユーザグループの各々に所属するユーザに共通した情報としてユーザグループごとに記憶しており、
前記設定手段は、当該ユーザの所属する前記ユーザグループに対応して前記記憶手段に記憶された用紙情報を設定可能に表示する、
請求項1に記載の画像形成装置。
【請求項7】
前記記憶手段は、用紙情報をサーバ通信部から受け取る、
請求項1に記載の画像形成装置。
【請求項8】
用紙サイズを測定する測定手段を更に有する、
請求項1に記載の画像形成装置。
【請求項9】
前記設定手段は、前記記憶手段に記憶された用紙情報と共に前記測定手段で測定された用紙サイズの情報をユーザの選択により設定可能に表示させる、
請求項8に記載の画像形成装置。
【請求項10】
前記記憶手段は、前記選定手段が選定した用紙情報が格納される格納部を有する、
請求項1に記載の画像形成装置。
(【請求項11】以降は省略されています)
発明の詳細な説明
【技術分野】
【0001】
本発明は、画像形成装置及び画像形成方法、並びにプログラムに関するものである。
続きを表示(約 2,100 文字)
【背景技術】
【0002】
レーザービーム光により感光体上に形成された静電潜像をトナーで現像し、そのトナー像を用紙に転写して熱定着する画像形成装置は、普通紙や厚紙等の用紙種類毎に最適な搬送速度や定着温度を設定することで、良好な印刷物の取得を可能としている。例えば、画像形成装置は、予め記憶している用紙種類毎の印刷制御パラメータ群に従って制御を切り替えることで、良好な画像形成動作を実現している。用紙種類は、画像形成装置に設けられた操作部や画像形成装置に接続されたPC(パーソナルコンピュータ)等の画面上から、ユーザ操作により手動設定される方法が知られている。近年では、用紙の表面性や厚みを検知する紙種検知センサ(メディアセンサ)を画像形成装置内部に設け、その紙種検知センサの検知結果を基に用紙種類を自動設定することが可能な装置が登場してきている。例えば、印刷時に、メディアセンサを用いることによって、適切な用紙種類を自動決定する方法が提案されている(特許文献1を参照)。
【先行技術文献】
【特許文献】
【0003】
特開2005-70877号公報
【発明の概要】
【発明が解決しようとする課題】
【0004】
メディアセンサを搭載した画像形成装置において、用紙種類の設定方法には、現状以下の2種類の方法がある。
(1)メディアセンサの実行が終了するまで待ち、実行結果に基づいて用紙種類が自動的に設定される。
(2)ユーザが自分で用紙種類の設定を行う。
【0005】
ここで、一度メディアセンサを実行して用紙種類を設定し、後ほど再度同種の用紙の用紙種類を設定したい場合を考える。この場合でも、(1)と(2)のいずれかを選択する必要がある。(1)の場合には、一度メディアセンサを実行したにも関わらず、再度メディアセンサの実行を行う必要があり、ユーザから見ると再度メディアセンサの実行時間がかかる。(2)の場合には、ユーザが用紙種類を選んで設定する必要があるところ、用紙種類として画像形成装置が処理可能な用紙種類分の選択肢が提示されるうえ、用紙種類の追加が可能であるため、選択肢が多く、表示・選択に時間がかかる。そのため、上記の(1)と(2)のいずれを選んだとしても長時間を要し、ユーザの印刷作業の妨げとなる。
【0006】
本開示は、ユーザが過去に自動検知した用紙情報について、再度の自動検知やユーザによる煩雑な用紙情報の設定を行うことなく、短時間で簡易に所期の印刷作業を行うことができる画像形成装置及び方法を提供することを目的とする。
【課題を解決するための手段】
【0007】
本開示の画像形成装置は、用紙特性を取得するセンサ手段と、前記センサ手段で取得された用紙特性に対応する用紙情報を選定する選定手段と、前記選定手段が過去に選定した用紙情報を記憶する記憶手段と、前記記憶手段に記憶された用紙情報をユーザの選択により設定可能に表示させる設定手段と、を有する。
【0008】
本開示の画像形成方法は、過去に自動検知した用紙情報の有無を確認する第1ステップと、前記第1ステップで過去に自動検知した用紙情報が記憶されていることが確認された場合には、当該用紙情報をユーザの選択により設定可能に表示する第2ステップと、前記第1ステップで過去に自動検知した用紙情報が記憶されていないことが確認された場合には、現在の用紙情報を自動検知して設定する第3ステップと、を有する。
【発明の効果】
【0009】
本開示によれば、ユーザが過去に自動検知した用紙情報について、再度の自動検知やユーザによる煩雑な用紙情報の設定を行うことなく、短時間で簡易に所期の印刷作業を行うことができる。
【図面の簡単な説明】
【0010】
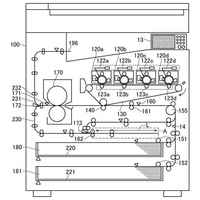
本実施形態による画像形成装置の全体的構成について概略的に示す断面図である。
本実施形態による画像形成装置の中央処理装置(CPU)により制御される主要な構成を示す模式図である。
定着器の構成及び定着の説明に用いる模式図である。
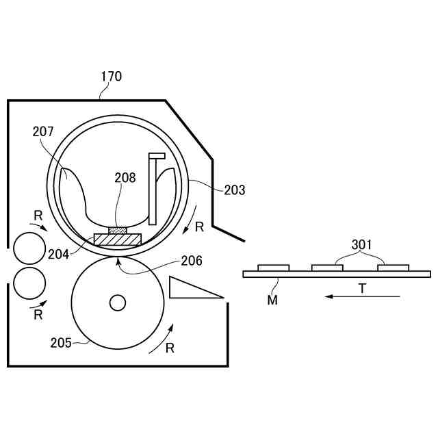
メディアセンサについて説明するための模式図である。
本実施形態における用紙情報選定機能を説明するための機能構成図である。
本実施形態における用紙種類設定画面の一例を示す模式図である。
本実施形態における履歴設定ボタンの詳細を示す模式図である。
本実施形態における自動検知記憶機能及びお気に入り記憶機能を説明するための機能構成図である。
本実施形態による画像形成方法を示すフローチャートである。
本実施形態の変形例1,2による画像形成装置における自動検知記憶機能及びお気に入り記憶機能を説明するための機能構成図である。
【発明を実施するための形態】
(【0011】以降は省略されています)
この特許をJ-PlatPat(特許庁公式サイト)で参照する
関連特許
キヤノン株式会社
トナー
11日前
キヤノン株式会社
トナー
11日前
キヤノン株式会社
トナー
11日前
キヤノン株式会社
トナー
16日前
キヤノン株式会社
収容装置
24日前
キヤノン株式会社
定着装置
1か月前
キヤノン株式会社
記録装置
1か月前
キヤノン株式会社
撮像装置
1か月前
キヤノン株式会社
測距装置
4日前
キヤノン株式会社
撮像装置
16日前
キヤノン株式会社
現像装置
9日前
キヤノン株式会社
現像容器
9日前
キヤノン株式会社
現像装置
9日前
キヤノン株式会社
電子機器
18日前
キヤノン株式会社
撮影装置
9日前
キヤノン株式会社
電子機器
20日前
キヤノン株式会社
撮像装置
24日前
キヤノン株式会社
記録装置
16日前
キヤノン株式会社
電子機器
24日前
キヤノン株式会社
記録装置
9日前
キヤノン株式会社
電子機器
24日前
キヤノン株式会社
撮像装置
12日前
キヤノン株式会社
定着装置
10日前
キヤノン株式会社
発光装置
23日前
キヤノン株式会社
定着装置
24日前
キヤノン株式会社
表示装置
23日前
キヤノン株式会社
撮像装置
1か月前
キヤノン株式会社
現像容器
9日前
キヤノン株式会社
記録装置
1か月前
キヤノン株式会社
撮像装置
1か月前
キヤノン株式会社
現像装置
2日前
キヤノン株式会社
電子機器
1か月前
キヤノン株式会社
現像剤容器
17日前
キヤノン株式会社
半導体装置
18日前
キヤノン株式会社
光学センサ
11日前
キヤノン株式会社
モジュール
11日前
続きを見る
他の特許を見る