TOP
|
特許
|
意匠
|
商標
特許ウォッチ
Twitter
他の特許を見る
10個以上の画像は省略されています。
公開番号
2025155836
公報種別
公開特許公報(A)
公開日
2025-10-14
出願番号
2025009501
出願日
2025-01-22
発明の名称
端末及び通信方法
出願人
株式会社NTTドコモ
代理人
弁理士法人ITOH
主分類
H04W
72/1263 20230101AFI20251006BHJP(電気通信技術)
要約
【課題】通信品質を低下させることなく、効率的にFDDキャリアとSDLキャリアとをスイッチングする。
【解決手段】端末は、第1のキャリアを用いて上りリンク通信及び下りリンク通信を実行し、第2のキャリアを用いて下りリンク通信を実行する通信部と、スイッチングパターンを用いて、前記第1のキャリアと前記第2のキャリアとの間で時分割によりスイッチングを実行する制御部と、を備え、前記スイッチングパターンに対して、前記スイッチングパターンの周期又はマッピング情報のうちの少なくとも一つが設定され、前記マッピング情報は、前記スイッチングパターンの周期内におけるスロット又はシンボルのそれぞれが、前記第1のキャリア又は前記第2のキャリアのいずれに用いられるかを示す。
【選択図】図4
特許請求の範囲
【請求項1】
第1のキャリアを用いて上りリンク通信及び下りリンク通信を実行し、第2のキャリアを用いて下りリンク通信を実行する通信部と、
スイッチングパターンを用いて、前記第1のキャリアと前記第2のキャリアとの間で時分割によりスイッチングを実行する制御部と、を備え、
前記スイッチングパターンに対して、前記スイッチングパターンの周期又はマッピング情報のうちの少なくとも一つが設定され、
前記マッピング情報は、前記スイッチングパターンの周期内におけるスロット又はシンボルのそれぞれが、前記第1のキャリア又は前記第2のキャリアのいずれに用いられるかを示す、端末。
続きを表示(約 770 文字)
【請求項2】
前記スイッチングパターンに対して、さらに、前記スイッチングパターンにおいて連続する前記第2のキャリアのスロット数又はシンボル数は、所定の数以下に制限される、請求項1に記載の端末。
【請求項3】
前記スイッチングパターンに含まれる前記第1のキャリア又は前記第2のキャリアのうちの少なくとも一つは、周期的にSSB (Synchronization Signal Block) occasion又はSMTC (SSB Measurement Timing Configuration) occasionを含む、請求項1に記載の端末。
【請求項4】
前記スイッチングパターンに含まれる前記第1のキャリアは、周期的にPRACH (Physical Random Access Channel)スロットを含む、請求項1に記載の端末。
【請求項5】
前記通信部は、当該端末に設定可能な前記スイッチングパターンの周期又は前記マッピング情報のうちの少なくとも一つを含む端末能力情報を、基地局に送信する、請求項1に記載の端末。
【請求項6】
端末により実行される通信方法であって、
第1のキャリアを用いて上りリンク通信及び下りリンク通信を実行し、第2のキャリアを用いて下りリンク通信を実行するステップと、
スイッチングパターンを用いて、前記第1のキャリアと前記第2のキャリアとの間で時分割によりスイッチングを実行するステップと、を備え、
前記スイッチングパターンに対して、前記スイッチングパターンの周期又は前記スイッチングパターンにおいて前記第1のキャリアと前記第2のキャリアとがスイッチングされる回数のうちの少なくとも一つが設定される、通信方法。
発明の詳細な説明
【技術分野】
【0001】
本発明は、無線通信システムにおける端末及び通信方法に関する。
続きを表示(約 2,100 文字)
【背景技術】
【0002】
移動通信システムにおいて、低周波数帯 (Low Band)はその優れた伝搬特性により、都市部の屋内トラフィックや郊外・農村部の広範なトラフィック収容において重要な役割を果たしている。しかしながら、従来、800MHz帯のFDD (Frequency Division Duplex)バンド (Band n5) と700MHz帯のSDL (Supplemental DownLink)バンド (Band n29) のような低周波数同士のキャリアアグリゲーション (CA (Carrier Aggregation))は、端末の送受信回路設計や制御の複雑性のため実現されていなかった。
【0003】
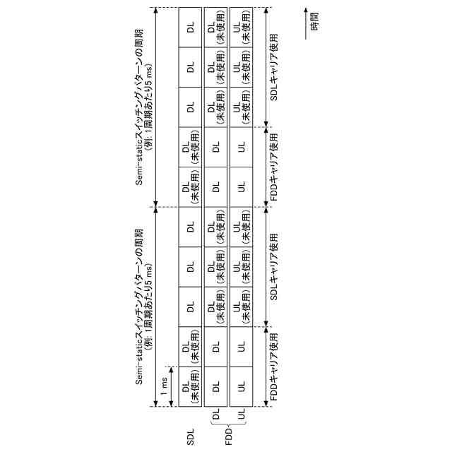
3GPP(登録商標)(3rd Generation Partnership Project)では、端末の実装の複雑性を解消し、低周波数帯でのキャリアアグリゲーション (LBCA)を実現するために、Semi-static(半静的)スイッチングパターンを用いて、FDDキャリアとSDLキャリアとを時分割スイッチングする方法が検討されている。
【先行技術文献】
【非特許文献】
【0004】
3GPP TS 38.300 V18.4.0(2024-12)
3GPP TS 38.401 V18.4.0(2024-12)
【発明の概要】
【発明が解決しようとする課題】
【0005】
しかしながら、従来、Semi-staticスイッチングパターンをどのように規定すべきか明確にされていない。そのため、Semi-staticスイッチングパターンにおける設定可能なパラメータの数が少ない場合、RRCシグナリングのオーバーヘッドを抑制できるが、スイッチングパターンの柔軟性が低下する。一方、パラメータの数を増加させるとスイッチングパターンの柔軟性が向上するが、シグナリングオーバーヘッドが増大する。これにより、システム全体の効率が低下する可能性がある。さらに、任意のスイッチングパターンの設定を許容してしまうと、通信品質や動作に悪影響を及ぼすおそれがある。
【課題を解決するための手段】
【0006】
本実施形態における端末は、第1のキャリアを用いて上りリンク通信及び下りリンク通信を実行し、第2のキャリアを用いて下りリンク通信を実行する通信部と、スイッチングパターンを用いて、前記第1のキャリアと前記第2のキャリアとの間で時分割によりスイッチングを実行する制御部と、を備え、前記スイッチングパターンに対して、前記スイッチングパターンの周期又はマッピング情報のうちの少なくとも一つが設定され、前記マッピング情報は、前記スイッチングパターンの周期内におけるスロット又はシンボルのそれぞれが、前記第1のキャリア又は前記第2のキャリアのいずれに用いられるかを示す。
【発明の効果】
【0007】
本実施形態によれば、通信品質を低下させることなく、効率的にFDDキャリアとSDLキャリアとをスイッチングできる。
【図面の簡単な説明】
【0008】
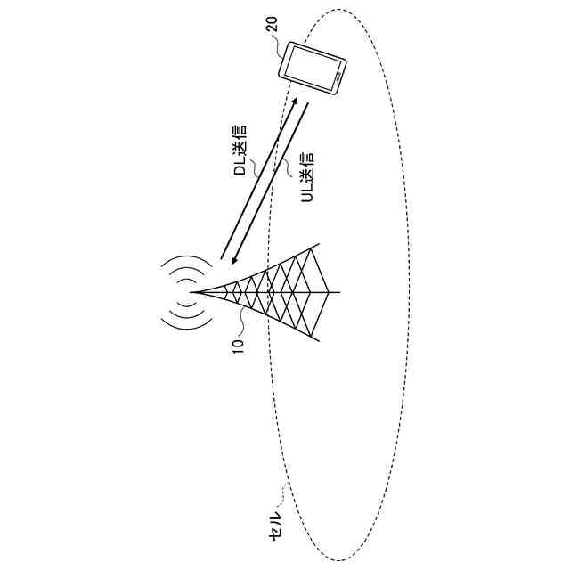
本実施形態における無線通信システムを説明するための図である。
FDDバンドとSDLバンドとのスイッチングの動作の一例を示す図である。
本実施形態における端末の動作の一例を示す図である。
本実施形態におけるSemi-staticスイッチングパターンの一例を示す図である。
本実施形態におけるSemi-staticスイッチングパターンの一例を示す図である。
本実施形態におけるSemi-staticスイッチングパターンの一例を示す図である。
本実施形態におけるSemi-staticスイッチングパターンの一例を示す図である。
本実施形態におけるSemi-staticスイッチングパターンの一例を示す図である。
本実施形態における基地局の機能構成の一例を示す図である。
本実施形態における端末の機能構成の一例を示す図である。
本実施形態における基地局又は端末のハードウェア構成の一例を示す図である。
本実施形態における車両の構成の一例を示す図である。
【発明を実施するための形態】
【0009】
以下、図面を参照して本実施形態を説明する。なお、以下で説明する実施の形態は一例であり、本発明が適用される実施の形態は、以下の実施の形態に限られない。
【0010】
本実施形態の無線通信システムは、既存技術を用いて動作する。既存技術は、例えば、3GPP規格のような通信規格に基づく無線通信技術である。既存技術は、例えばNR(New Radio)であるが、既存のNRに限られない。本明細書で使用する用語「NR」は、特に断らない限り、NR(5G)以降の方式(例えば、6G)を含む広い意味を有するものとする。
(【0011】以降は省略されています)
この特許をJ-PlatPat(特許庁公式サイト)で参照する
関連特許
株式会社NTTドコモ
端末
今日
株式会社NTTドコモ
端末
今日
株式会社NTTドコモ
端末
1日前
株式会社NTTドコモ
端末
今日
株式会社NTTドコモ
端末
1日前
株式会社NTTドコモ
端末
1日前
株式会社NTTドコモ
端末
1日前
株式会社NTTドコモ
端末
今日
株式会社NTTドコモ
端末
今日
株式会社NTTドコモ
基地局
今日
株式会社NTTドコモ
デバイス
1日前
株式会社NTTドコモ
デバイス
1日前
株式会社NTTドコモ
デバイス
1日前
株式会社NTTドコモ
デバイス
今日
株式会社NTTドコモ
デバイス
1日前
株式会社NTTドコモ
デバイス
今日
株式会社NTTドコモ
デバイス
今日
株式会社NTTドコモ
基地局及び端末
今日
株式会社NTTドコモ
端末及び基地局
今日
株式会社NTTドコモ
端末及び基地局
今日
株式会社NTTドコモ
基地局及び端末
今日
株式会社NTTドコモ
端末及び基地局
今日
株式会社NTTドコモ
端末及び通信方法
1日前
株式会社NTTドコモ
端末及び通信方法
1日前
株式会社NTTドコモ
端末及び通信方法
1日前
株式会社NTTドコモ
端末及び通信方法
1日前
株式会社NTTドコモ
端末及び通信方法
今日
株式会社NTTドコモ
端末及び通信方法
1日前
株式会社NTTドコモ
端末及び通信方法
1日前
株式会社NTTドコモ
端末及び通信方法
1日前
株式会社NTTドコモ
端末及び通信方法
今日
株式会社NTTドコモ
端末及び通信方法
今日
株式会社NTTドコモ
端末及び通信方法
1日前
株式会社NTTドコモ
端末及び通信方法
1日前
株式会社NTTドコモ
端末及び通信方法
1日前
株式会社NTTドコモ
端末及び通信方法
1日前
続きを見る
他の特許を見る