TOP
|
特許
|
意匠
|
商標
特許ウォッチ
Twitter
他の特許を見る
10個以上の画像は省略されています。
公開番号
2025155874
公報種別
公開特許公報(A)
公開日
2025-10-14
出願番号
2025018985
出願日
2025-02-07
発明の名称
端末及び通信方法
出願人
株式会社NTTドコモ
代理人
弁理士法人ITOH
主分類
H04W
52/02 20090101AFI20251006BHJP(電気通信技術)
要約
【課題】省電力状態に遷移可能な基地局から送信されるオンデマンドSSB(SS/PBCH Block)を適切に送信すること。
【解決手段】端末は、オンデマンドSSB(SS/PBCH Block)のアダプテーションに係る設定を基地局から受信する受信部と、前記アダプテーションに係る設定に基づいて、アダプテーションされたオンデマンドSSBを前記基地局から受信する制御部とを有し、前記制御部は、前記アダプテーションされたオンデマンドSSBに係る設定に基づいて、前記オンデマンドSSBのバースト数及び送信期間を特定する。
【選択図】図15
特許請求の範囲
【請求項1】
オンデマンドSSB(SS/PBCH Block)のアダプテーションに係る設定を基地局から受信する受信部と、
前記アダプテーションに係る設定に基づいて、アダプテーションされたオンデマンドSSBを前記基地局から受信する制御部とを有し、
前記制御部は、前記アダプテーションされたオンデマンドSSBに係る設定に基づいて、前記オンデマンドSSBのバースト数及び送信期間を特定する端末。
続きを表示(約 610 文字)
【請求項2】
前記制御部は、前記アダプテーションに係る設定を、オンデマンドSSB設定のリストとして取得する請求項1記載の端末。
【請求項3】
前記受信部は、前記アダプテーションに係る設定をMAC-CE(Medium Access Control - Control Element)として受信し、
前記制御部は、前記MAC-CE内のビット位置に基づいて、アダプテーションされたオンデマンドSSBを特定する請求項1記載の端末。
【請求項4】
前記制御部は、前記バースト数が0又は設定されない場合、オンデマンドSSBが周期的に送信されると想定する請求項1記載の端末。
【請求項5】
前記制御部は、前記送信期間のタイミングを、前記基地局から前記アダプテーションに係る設定を受信したタイミングに基づいて決定する請求項1記載の端末。
【請求項6】
オンデマンドSSB(SS/PBCH Block)のアダプテーションに係る設定を基地局から受信する手順と、
前記アダプテーションに係る設定に基づいて、アダプテーションされたオンデマンドSSBを前記基地局から受信する手順と、
前記アダプテーションされたオンデマンドSSBに係る設定に基づいて、前記オンデマンドSSBのバースト数及び送信期間を特定する手順とを端末が実行する通信方法。
発明の詳細な説明
【技術分野】
【0001】
本発明は、無線通信システムにおける端末及び通信方法に関する。
続きを表示(約 2,600 文字)
【背景技術】
【0002】
LTE(Long Term Evolution)の後継システムであるNR(New Radio)(「5G」ともいう。)においては、要求条件として、大容量のシステム、高速なデータ伝送速度、低遅延、多数の端末の同時接続、低コスト、省電力等を満たす技術が検討されている(例えば非特許文献1)。
【0003】
また、3GPP(登録商標)のリリース18では、環境持続可能性、カーボンニュートラル、SDGs(Sustainable Development Goals)、運用コストの低減等を達成するため、ネットワークにおける省電力化(Network energy savings)が重要性を増し、省電力化する手法が検討されている(例えば非特許文献2)。
【先行技術文献】
【非特許文献】
【0004】
3GPP TS 38.300 V18.0.0 (2023-12)
"New WID: Network energy savings for NR", RP-223540, 3GPP TSG RAN Meeting #98-e, 2022年12月
3GPP TS 38.331 V18.0.0 (2023-12)
3GPP TS 38.211 V18.1.0 (2023-12)
3GPP TS 38.213 V18.1.0 (2023-12)
3GPP TS 38.133 V18.4.0 (2023-12)
【発明の概要】
【発明が解決しようとする課題】
【0005】
カーボンニュートラルとSDGsを達成するため、基地局の消費電力を節約することの重要性が高まっており、基地局における間欠送受信を導入することが検討されている。省電力状態(エナジーセービング、Energy saving、ES)をサポートするセルにおいて、オンデマンドSSB(SS/PBCH Block)を使用する場合、オンデマンドSSBが必要な場合に送信が実行され、不必要な場合に送信が実行されないことが重要である。
【0006】
本発明は上記の点に鑑みてなされたものであり、省電力状態に遷移可能な基地局から送信されるオンデマンドSSB(SS/PBCH Block)を適切に送信することを目的とする。
【課題を解決するための手段】
【0007】
開示の技術によれば、オンデマンドSSB(SS/PBCH Block)のアダプテーションに係る設定を基地局から受信する受信部と、前記アダプテーションに係る設定に基づいて、アダプテーションされたオンデマンドSSBを前記基地局から受信する制御部とを有し、前記制御部は、前記アダプテーションされたオンデマンドSSBに係る設定に基づいて、前記オンデマンドSSBのバースト数及び送信期間を特定する端末が提供される。
【発明の効果】
【0008】
開示の技術によれば、省電力状態に遷移可能な基地局から送信されるオンデマンドSSB(SS/PBCH Block)を適切に送信することができる。
【図面の簡単な説明】
【0009】
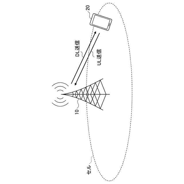
本発明の実施の形態に係る無線通信システムについて説明するための図である。
NRリリース15におけるCDRXについて説明するための図である。
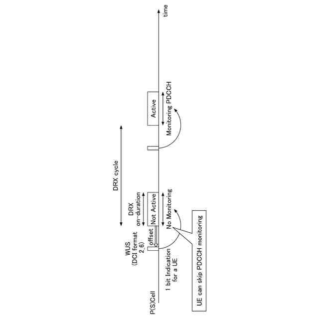
NRリリース16におけるWUSについて説明するための図である。
本発明の実施の形態の実施例1に係る基地局の間欠受信について説明するための図である。
本発明の実施の形態の実施例1に係る各パラメータについて説明するための図である。
本発明の実施の形態の実施例5に係る基地局の間欠送信について説明するための図である。
本発明の実施の形態の実施例5に係る各パラメータについて説明するための図である。
本発明の実施の形態の実施例9に係るOSI送信の例(1)を説明するためのシーケンス図である。
本発明の実施の形態の実施例9に係るOSI送信の例(2)を説明するためのシーケンス図である。
本発明の実施の形態の実施例9に係るオンデマンドSSBの例を示す図である。
本発明の実施の形態の実施例9に係るオンデマンドSSBに係る動作の例を説明するためのシーケンス図である。
本発明の実施の形態の実施例9に係るランダムアクセス手順の例を説明するためのシーケンス図である。
本発明の実施の形態の実施例9に係るSSBの例を説明するための図である。
本発明の実施の形態の実施例10に係るSSBアダプテーションの例を説明するための図である。
本発明の実施の形態の実施例10に係るSSBアダプテーションの例(1)を説明するためのフローチャートである。
本発明の実施の形態の実施例10に係るSSBアダプテーションの例(2)を説明するためのフローチャートである。
本発明の実施の形態の実施例10に係るSSBアダプテーションの例(3)を説明するためのフローチャートである。
本発明の実施の形態の実施例10に係るSSBアダプテーションの例(4)を説明するためのフローチャートである。
本発明の実施の形態の実施例10に係るSSBアダプテーションの例(5)を説明するためのフローチャートである。
本発明の実施の形態の実施例10に係るSSBアダプテーションの例(6)を説明するためのフローチャートである。
本発明の実施の形態に係る基地局の機能構成の一例を示す図である。
本発明の実施の形態に係る端末の機能構成の一例を示す図である。
本発明の実施の形態に係る基地局又は端末のハードウェア構成の一例を示す図である。
本発明の実施の形態に係る車両の構成の一例を示す図である。
【発明を実施するための形態】
【0010】
以下、図面を参照して本発明の実施の形態を説明する。なお、以下で説明する実施の形態は一例であり、本発明が適用される実施の形態は、以下の実施の形態に限られない。
(【0011】以降は省略されています)
この特許をJ-PlatPat(特許庁公式サイト)で参照する
関連特許
株式会社NTTドコモ
端末
2日前
株式会社NTTドコモ
端末
3日前
株式会社NTTドコモ
端末
3日前
株式会社NTTドコモ
端末
2日前
株式会社NTTドコモ
端末
2日前
株式会社NTTドコモ
端末
3日前
株式会社NTTドコモ
端末
2日前
株式会社NTTドコモ
端末
3日前
株式会社NTTドコモ
端末
2日前
株式会社NTTドコモ
基地局
2日前
株式会社NTTドコモ
デバイス
2日前
株式会社NTTドコモ
デバイス
2日前
株式会社NTTドコモ
デバイス
3日前
株式会社NTTドコモ
デバイス
3日前
株式会社NTTドコモ
デバイス
2日前
株式会社NTTドコモ
デバイス
3日前
株式会社NTTドコモ
デバイス
3日前
株式会社NTTドコモ
端末及び基地局
2日前
株式会社NTTドコモ
基地局及び端末
2日前
株式会社NTTドコモ
端末及び基地局
2日前
株式会社NTTドコモ
端末及び基地局
2日前
株式会社NTTドコモ
基地局及び端末
2日前
株式会社NTTドコモ
端末及び通信方法
3日前
株式会社NTTドコモ
端末及び通信方法
3日前
株式会社NTTドコモ
端末及び通信方法
3日前
株式会社NTTドコモ
端末及び通信方法
3日前
株式会社NTTドコモ
端末及び通信方法
3日前
株式会社NTTドコモ
端末及び通信方法
3日前
株式会社NTTドコモ
端末及び通信方法
3日前
株式会社NTTドコモ
端末及び通信方法
3日前
株式会社NTTドコモ
端末及び通信方法
3日前
株式会社NTTドコモ
端末及び通信方法
3日前
株式会社NTTドコモ
端末及び通信方法
3日前
株式会社NTTドコモ
端末及び通信方法
3日前
株式会社NTTドコモ
端末及び通信方法
3日前
株式会社NTTドコモ
端末及び通信方法
2日前
続きを見る
他の特許を見る