TOP
|
特許
|
意匠
|
商標
特許ウォッチ
Twitter
他の特許を見る
公開番号
2025156109
公報種別
公開特許公報(A)
公開日
2025-10-14
出願番号
2025049905
出願日
2025-03-25
発明の名称
コロイド結晶層を含む積層体
出願人
三菱ケミカル株式会社
代理人
個人
,
個人
,
個人
,
個人
主分類
B32B
7/023 20190101AFI20251002BHJP(積層体)
要約
【課題】さらなる構造発色の発現の手段について見出すことを目的とする。
【解決手段】基材、コロイド結晶層、及び保護層を有する積層体であって、積層体は、隣り合う第1の領域と第2の領域を有し、第1の領域が入射光に対して第1の反射率ピーク波長を有し、第2の領域が前記入射光に対して第2の反射率ピーク波長を有し、第1の反射率ピーク波長と第2の反射率ピーク波長が異なる波長であり、第1の領域が第1の微粒子を含む第1のコロイド結晶層を有し、第2の領域が第2の微粒子を含む第2のコロイド結晶層を有し、第1の微粒子と第2の微粒子の形状が異なる積層体を用いる。
【選択図】図1
特許請求の範囲
【請求項1】
基材、コロイド結晶層、及び保護層を有する積層体であって、
前記積層体は、隣り合う第1の領域と第2の領域を有し、前記第1の領域が入射光に対して第1の反射率ピーク波長を有し、前記第2の領域が前記入射光に対して第2の反射率ピーク波長を有し、
前記第1の反射率ピーク波長と前記第2の反射率ピーク波長が異なる波長であり、前記第1の領域が第1の微粒子を含む第1のコロイド結晶層を有し、前記第2の領域が第2の微粒子を含む第2のコロイド結晶層を有し、
前記第1の微粒子と前記第2の微粒子の形状が異なる、積層体。
続きを表示(約 610 文字)
【請求項2】
前記第1の微粒子が、前記第2の微粒子と同じ組成を有する、請求項1に記載の積層体。
【請求項3】
前記第1の微粒子が、スチレン由来の構成単位及びアクリル酸由来の構成単位を含む重合体を含む、請求項1に記載の積層体。
【請求項4】
前記第1のコロイド結晶層と前記第2のコロイド結晶層は、連続的に形成された層である、請求項1に記載の積層体。
【請求項5】
基材上にコロイド結晶層と保護層とを含む積層体を形成する工程と、前記積層体を加工処理し第1の領域と第2の領域を形成する工程を含み、
前記第1の領域が入射光に対して第1の反射率ピーク波長を有し、
前記第2の領域が前記入射光に対して第2の反射率ピーク波長を有し、
前記第1の反射率ピーク波長と前記第2の反射率ピーク波長が異なる波長であり、
前記第1の領域が第1の微粒子を含む第1のコロイド結晶層を有し、
前記第2の領域が第2の微粒子を含む第2のコロイド結晶層を有し、
前記第1の微粒子と前記第2の微粒子の形状が異なる、積層体の製造方法。
【請求項6】
前記加工処理が、積層体の一部を延伸する加工である、請求項5に記載の積層体の製造方法。
【請求項7】
前記加工処理が、積層体の一部を圧縮する加工である、請求項5に記載の積層体の製造方法。
発明の詳細な説明
【技術分野】
【0001】
本発明は、構造発色を示す積層体に関するものである。
続きを表示(約 2,900 文字)
【背景技術】
【0002】
構造発色とは、光の波長またはそれ以下の微細構造による発色現象を指し、身近な構造色の例としては、コンパクトディスク、シャボン玉、モルフォ蝶、玉虫等が挙げられる。これらの例では、それ自身には色がついていないが、その微細な構造によって光が反射・干渉するため、色づいて見える。
近年、構造色を発現するような規則正しい構造を人工的に作成する開発が進められている。
【0003】
例えば、非特許文献1では、フィルムの厚みの中で異種成分のポリマーを1000層以上の多層に積層した、金属光沢調のナノ積層フィルムが提案されている。そして、可視光から近赤外までの光の透過と反射を波長ごとに自由に制御できることに言及されている。
また、特許文献1では、基板上に液晶性高分子よりなる膜を形成することでコレスレリック液晶性フィルムを製造する方法が提案されている。反射光波長が可視域になる場合、反射光、あるいは透過光が鮮やかな色を呈すことから、装飾材料として利用されうることが言及されている。
加えて、例えば、粒子径が単分散の微粒子が媒体中に分散した分散体を用い、これを流し込み、噴射、塗布、流動等で微粒子を配列・整合・乾燥・固定させて、基材上に微粒子が平面方向に規則的に配列した積層体を製造する方法が種々提案されている。このような微粒子を規則配列したものとしてコロイド結晶が知られており、このようなコロイド結晶はBragg反射をし、構造色を発現することが知られている。これを色材や加装フィルムに応用する研究開発がされてきている。コロイド結晶を形成して構造色を発現する方法として、特許文献2では、コア部及びシェル部からなるコアシェル粒子を用い、加熱により融着するシェル部の流動性を利用して、塗装のみでコロイド結晶を安価に形成する方法が提案されている。
【先行技術文献】
【特許文献】
【0004】
特開平6-186534号公報
特開2009-249527号公報
【非特許文献】
【0005】
東レ(株)(2016).JETI,Vol.64, No.8, 71-73
【発明の概要】
【発明が解決しようとする課題】
【0006】
しかしながら、非特許文献1で提案された方法は、1枚の薄いフィルム内の積層数が1000層以上になる層を、後工程で貼り合わせることなくフィルム製造工程内で作ることができるという点において画期的であるものの、より簡易的な方法で構造発色を示す積層体を得る方法が求められていた。また、積層体を加装フィルムとして応用するために必要な、延伸や圧縮が発色に与える影響に関して十分な記載がなされていない。
また、特許文献1で提案された方法は、塗布・乾燥により簡易的に構造発色を示す積層体が得られるものの、層体を加装フィルムとして応用するために必要な、延伸や圧縮が発色に与える影響に関して十分な記載がなされていない。
さらに、特許文献2で提案された方法においても、積層体を加装フィルムとして応用するために必要な、延伸や圧縮が発色に与える影響に関して十分な記載がなされていない。
本発明者は、さらなる構造発色の発現の手段について見出すことを目的とする。
【課題を解決するための手段】
【0007】
本発明者らは、前記課題を解決すべく鋭意検討を重ねた結果、延伸や圧縮等の加工手段を行うことにより、前記課題を解決できることを見出し、本発明に至った。
【0008】
即ち、本発明は以下の特徴を有する。
[1]基材、コロイド結晶層、及び保護層を有する積層体であって、前記積層体は、隣り合う第1の領域と第2の領域を有し、前記第1の領域が入射光に対して第1の反射率ピーク波長を有し、前記第2の領域が前記入射光に対して第2の反射率ピーク波長を有し、前記第1の反射率ピーク波長と前記第2の反射率ピーク波長が異なる波長であり、前記第1の領域が第1の微粒子を含む第1のコロイド結晶層を有し、前記第2の領域が第2の微粒子を含む第2のコロイド結晶層を有し、前記第1の微粒子と前記第2の微粒子の形状が異なる、積層体。
[2]前記第1の微粒子が、前記第2の微粒子と同じ組成を有する、[1]に記載の積層体。
[3]前記第1の微粒子が、スチレン由来の構成単位及びアクリル酸由来の構成単位を含む重合体を含む、[1]に記載の積層体。
[4]前記第1のコロイド結晶層と前記第2のコロイド結晶層は、連続的に形成された層である、[1]に記載の積層体。
[5]基材上にコロイド結晶層と保護層とを含む積層体を形成する工程と、前記積層体を加工処理し第1の領域と第2の領域を形成する工程を含み、前記第1の領域が入射光に対して第1の反射率ピーク波長を有し、前記第2の領域が前記入射光に対して第2の反射率ピーク波長を有し、前記第1の反射率ピーク波長と前記第2の反射率ピーク波長が異なる波長であり、前記第1の領域が第1の微粒子を含む第1のコロイド結晶層を有し、前記第2の領域が第2の微粒子を含む第2のコロイド結晶層を有し、前記第1の微粒子と前記第2の微粒子の形状が異なる、積層体の製造方法。
[6]前記加工処理が、積層体の一部を延伸する加工である、[5]に記載の積層体の製造方法。
[7]前記加工処理が、積層体の一部を圧縮する加工である、[5]に記載の積層体の製造方法。
【発明の効果】
【0009】
本発明の積層体は、延伸や圧縮の加工手段を採用することにより、当該加工手段前の構造色と異なった構造色を発現させることができ、意匠性に優れた積層体とすることができた。
具体的には、隣り合う第1の領域と第2の領域を有し、それぞれの領域はそれぞれのコロイド結晶層を有し、かつ、それぞれの領域の入射光に対する反射率ピーク波長を異なった積層体を用いることにより、第1の領域および第2の領域でそれぞれ異なる構造発色を生じさせ、意匠性に優れたものとすることができた。
【図面の簡単な説明】
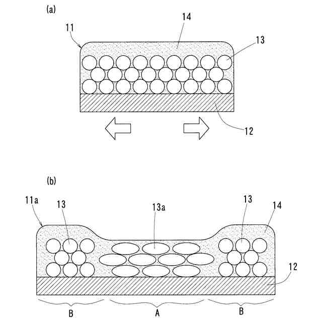
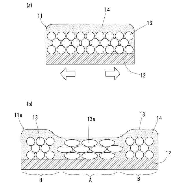
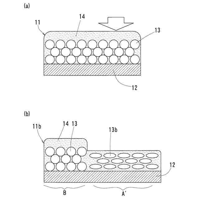
【0010】
(a)(b)この発明にかかる積層体の延伸前後の模式図
(a)(b)この発明にかかる積層体の圧縮前後の模式図
実施例1における積層体の第1の領域(延伸箇所)の断層TEM写真
実施例1における積層体の第2の領域(非延伸箇所)の断層TEM写真
実施例3における積層体の第1の領域(圧縮箇所)の断層TEM写真
実施例3における積層体の第2の領域(非圧縮箇所)の断層TEM写真
比較例1における積層体の第1の領域(延伸箇所)の断層TEM写真
比較例1における積層体の第2の領域(非延伸箇所)の断層TEM写真
【発明を実施するための形態】
(【0011】以降は省略されています)
この特許をJ-PlatPat(特許庁公式サイト)で参照する
関連特許
三菱ケミカル株式会社
樹脂ペレット群
1日前
三菱ケミカル株式会社
加工食品用粉体静菌剤
1日前
三菱ケミカル株式会社
コロイド結晶層を含む積層体
1日前
三菱ケミカル株式会社
構造発色用水系分散液組成物
1日前
三菱ケミカル株式会社
熱可塑性樹脂組成物及び成形品
1日前
三菱ケミカル株式会社
ポリアミド系樹脂フィルム、包装体
1日前
三菱ケミカル株式会社
共振シート部材、およびこれを備えた構造体
1日前
三菱ケミカル株式会社
重合体、樹脂用添加剤、樹脂組成物およびその成形体
1日前
三菱ケミカル株式会社
ポリエチレンナフタレート樹脂組成物及びポリエステルフィルム
1日前
三菱ケミカル株式会社
プレススルーパッケージ蓋材フィルム及びプレススルーパッケージ
1日前
三菱ケミカル株式会社
ポリカーボネート樹脂の解重合方法、反応槽処理方法、反応槽後処理方法、および、ポリカーボネート樹脂の製造方法
5日前
三菱ケミカル株式会社
レゾール型フェノール樹脂、接着剤、及びレゾール型フェノール樹脂の製造方法
1日前
三菱ケミカル株式会社
オルガノポリシロキサン、オルガノポリシロキサン含有硬化性樹脂組成物及びその硬化物、近赤外光導波路及び近赤外光伝送部材
1日前
東レ株式会社
積層体
4か月前
個人
箔転写シート
4か月前
ユニチカ株式会社
積層体
1か月前
個人
鋼材の塗膜構造
2か月前
東レ株式会社
積層フィルム
1か月前
東レ株式会社
積層フィルム
3か月前
東レ株式会社
強化繊維基材
4か月前
東レ株式会社
強化繊維基材
4か月前
東レ株式会社
無配向フィルム
1日前
東レ株式会社
加飾用フィルム
12日前
東洋紡株式会社
積層包装材料
2か月前
東ソー株式会社
多層フィルム
4か月前
東レ株式会社
光透過性表皮材
7日前
ユニチカ株式会社
透明シート
1か月前
日本バイリーン株式会社
表皮材
3か月前
日本発條株式会社
積層体
16日前
東レ株式会社
多層積層フィルム
28日前
アイカ工業株式会社
光学積層体
5か月前
東レ株式会社
サンドイッチ構造体
1か月前
豊田合成株式会社
樹脂製品
3か月前
artience株式会社
積層体
5か月前
artience株式会社
積層体
3か月前
大吉シール株式会社
積層体
16日前
続きを見る
他の特許を見る