TOP
|
特許
|
意匠
|
商標
特許ウォッチ
Twitter
他の特許を見る
10個以上の画像は省略されています。
公開番号
2025156424
公報種別
公開特許公報(A)
公開日
2025-10-14
出願番号
2025127175,2023570574
出願日
2025-07-30,2021-12-28
発明の名称
通信システム、通信装置、サーバ装置、通信方法、通信プログラム及び記憶媒体
出願人
パイオニア株式会社
代理人
弁理士法人レクスト国際特許事務所
主分類
H04N
7/18 20060101AFI20251002BHJP(電気通信技術)
要約
【課題】
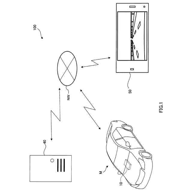
移動体内の第1装置と移動体外の第2装置との間の通信において、移動体外に居る第2装置のユーザに、実際に移動体内に居る際に得られる情報をもたらすことを可能にする通信システム、通信装置、サーバ装置、通信方法、通信プログラム及び記憶媒体を提供することを目的の1つとしている。
【解決手段】
移動体と共に移動する第1装置によって取得された前記移動体における音声及び映像を第2装置に送信する音声映像通信を行う通信システムであって、前記移動体において撮像された映像を逐次取得する映像取得部と、前記移動体の操縦者による前記移動体への操縦操作を示す操縦操作情報を逐次取得する操縦操作情報取得部と、前記映像と、前記操縦操作情報に基づく表示とを共に前記第2装置にて表示させる表示制御を行う表示制御部と、を有する。
【選択図】図1
特許請求の範囲
【請求項1】
移動体と共に移動する第1装置によって取得された前記移動体における音声及び映像を第2装置に送信する音声映像通信を行う通信システムであって、
前記移動体において撮像された撮像映像を逐次取得する映像取得部と、
前記移動体の操縦者による前記移動体への操縦操作を示す操縦操作情報を逐次取得する操縦操作情報取得部と、
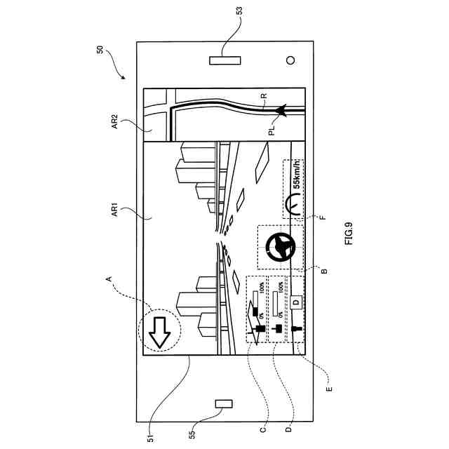
前記撮像映像と前記操縦操作情報に基づく表示とを含みかつ長手方向を有する操縦操作表示映像と、前記移動体の移動に関する地図画像と、を前記第2装置が有する表示装置において表示画面の長手方向に沿って並べて表示させる表示制御を行う表示制御部と、を有し、
前記表示制御部は、前記操縦操作表示映像及び前記地図画像を前記表示画面の長手方向を左右方向として表示する横画面表示と、前記操縦操作表示映像及び前記地図画像を前記表示画面の長手方向を上下方向として表示する縦画面表示と、を切り替える制御を行う
ことを特徴とする通信システム。
続きを表示(約 1,600 文字)
【請求項2】
前記表示制御部は、前記撮像映像の撮像時の前記操縦操作を示す前記操縦操作情報に基づく表示を前記撮像映像と共に前記第2装置にて表示させることを特徴とする請求項1に記載の通信システム。
【請求項3】
前記操縦操作情報は、前記移動体に備えられたウインカーレバーの操作状態を示すウインカー情報を含むことを特徴とする請求項1又は2に記載の通信システム。
【請求項4】
前記操縦操作情報は、前記移動体に備えられたアクセルペダルの操作状態を示す情報を含むことを特徴とする請求項1乃至3のいずれか1つに記載の通信システム。
【請求項5】
前記操縦操作情報は、前記移動体に備えられたブレーキペダルの操作状態を示す情報を含むことを特徴とする請求項1乃至4のいずれか1つに記載の通信システム。
【請求項6】
前記操縦操作情報は、前記移動体に備えられたステアリングホイールの操作状態を示す情報を含むことを特徴とする請求項1乃至5のいずれか1つに記載の通信システム。
【請求項7】
前記操縦操作情報は、前記移動体に備えられたシフトレバーの操作状態を示す情報を含むことを特徴とする請求項1乃至6のいずれか1つに記載の通信システム。
【請求項8】
前記操縦操作情報は、前記移動体に備えられたサイドブレーキの操作状態を示す情報を含むことを特徴とする請求項1乃至7のいずれか1つに記載の通信システム。
【請求項9】
移動体と共に移動する第1装置によって取得された前記移動体における音声及び映像を第2装置に送信する音声映像通信を行う通信システムによって実行される通信方法であって、
前記移動体において撮像された撮像映像を逐次取得する映像取得ステップと、
前記移動体の操縦者による前記移動体への操縦操作を示す操縦操作情報を逐次取得する操縦操作情報取得ステップと、
前記撮像映像と前記操縦操作情報に基づく表示とを含みかつ長手方向を有する操縦操作表示映像と、前記移動体の移動に関する地図画像と、を前記第2装置が有する表示装置において表示画面の長手方向に沿って並べて表示させる表示制御を行う表示制御ステップと、を含み、
前記表示制御ステップにおいて、前記操縦操作表示映像及び前記地図画像を前記表示画面の長手方向を左右方向として表示する横画面表示と、前記操縦操作表示映像及び前記地図画像を前記表示画面の長手方向を上下方向として表示する縦画面表示と、を切り替える制御を行うことを特徴とする通信方法。
【請求項10】
コンピュータを備え、移動体と共に移動する第1装置によって取得された前記移動体における音声及び映像を第2装置に送信する音声映像通信を行う通信システムによって実行される通信プログラムであって、前記コンピュータに、
前記移動体において撮像された撮像映像を逐次取得する映像取得ステップと、
前記移動体の操縦者による前記移動体への操縦操作を示す操縦操作情報を逐次取得する操縦操作情報取得ステップと、
前記撮像映像と前記操縦操作情報に基づく表示とを含みかつ長手方向を有する操縦操作表示映像と、前記移動体の移動に関する地図画像と、を前記第2装置が有する表示装置において表示画面の長手方向に沿って並べて表示させる表示制御を行う表示制御ステップと、を実行させ、
前記表示制御ステップにおいて、前記操縦操作表示映像及び前記地図画像を前記表示画面の長手方向を左右方向として表示する横画面表示と、前記操縦操作表示映像及び前記地図画像を前記表示画面の長手方向を上下方向として表示する縦画面表示と、を切り替える制御を行わせるための通信プログラム。
(【請求項11】以降は省略されています)
発明の詳細な説明
【技術分野】
【0001】
本発明は、通信システム、通信装置、サーバ装置、通信方法、通信プログラム及び記憶媒体に関し、例えば、移動体からの映像及び音声をユーザに提供可能な通信システム、通信装置、サーバ装置、通信方法、通信プログラム及び記憶媒体に関する。
続きを表示(約 1,700 文字)
【背景技術】
【0002】
車両に搭載される車載機と当該車両の外部に位置する車外端末との間で通信を行う通信システムがある。
【0003】
例えば、特許文献1には、車両の運転者と車外端末の操作者との間で音声通話を行い、当該音声通話がなされているときに、車両の前方の映像を表す映像データを車載機から車外端末に送信し、当該映像を車外端末に表示させるシステムが開示されている。
【先行技術文献】
【特許文献】
【0004】
特開2016-213791号公報
【発明の概要】
【発明が解決しようとする課題】
【0005】
例えば、特許文献1のようなシステムを用いて、音声通話及び車両の前方の映像を表す映像データを車外端末の操作者に見せる場合、当該車外端末の操作者は、実際に乗車した者であれば視覚、聴覚、触覚等の五感を通じて得られるような情報を十分に得られないことが課題の1つとして挙げられる。
【0006】
本発明は上記した点に鑑みてなされたものであり、移動体内の第1装置と移動体外の第2装置との間の通信において、移動体外に居る第2装置のユーザに、実際に移動体内に居る際に得られる情報をもたらすことを可能にする通信システム、通信装置、サーバ装置、通信方法、通信プログラム及び記憶媒体を提供することを目的の1つとしている。
【課題を解決するための手段】
【0007】
請求項1に記載の発明は、移動体と共に移動する第1装置によって取得された前記移動体における音声及び映像を第2装置に送信する音声映像通信を行う通信システムであって、前記移動体において撮像された映像を逐次取得する映像取得部と、前記移動体の操縦者による前記移動体への操縦操作を示す操縦操作情報を逐次取得する操縦操作情報取得部と、前記映像と、前記操縦操作情報に基づく表示とを共に前記第2装置にて表示させる表示制御を行う表示制御部と、を有することを特徴とする。
【0008】
請求項9に記載の発明は、移動体と共に移動する第1装置によって取得された前記移動体における音声及び映像を第2装置に送信する音声映像通信を行う通信システムによって実行される通信方法であって、前記移動体において撮像された映像を逐次取得する映像取得ステップと、前記移動体の操縦者による前記移動体への操縦操作を示す操縦操作情報を逐次取得する操縦操作情報取得ステップと、前記映像と、前記操縦操作情報に基づく表示とを共に前記第2装置にて表示させる表示制御を行う表示制御ステップと、を含むことを特徴とする。
【0009】
請求項10に記載の発明は、コンピュータを備え、移動体と共に移動する第1装置によって取得された前記移動体における音声及び映像を第2装置に送信する音声映像通信を行う通信システムによって実行される通信プログラムであって、前記コンピュータに、前記移動体において撮像された映像を逐次取得する映像取得ステップと、前記移動体の操縦者による前記移動体への操縦操作を示す操縦操作情報を逐次取得する操縦操作情報取得ステップと、前記映像と、前記操縦操作情報に基づく表示とを共に前記第2装置にて表示させる表示制御を行う表示制御ステップと、を実行させるための通信プログラムである。
【0010】
請求項11に記載の発明は、コンピュータを備え、移動体と共に移動する第1装置によって取得された前記移動体における音声及び映像を第2装置に送信する音声映像通信を行う通信システムに、前記移動体において撮像された映像を逐次取得する映像取得ステップと、前記移動体の操縦者による前記移動体への操縦操作を示す操縦操作情報を逐次取得する操縦操作情報取得ステップと、前記映像と、前記操縦操作情報に基づく表示とを共に前記第2装置にて表示させる表示制御を行う表示制御ステップと、を実行させるための通信プログラムを記憶するコンピュータ可読記憶媒体である。
(【0011】以降は省略されています)
この特許をJ-PlatPat(特許庁公式サイト)で参照する
関連特許
パイオニア株式会社
情報処理装置、情報処理方法および情報処理プログラム
14日前
パイオニア株式会社
情報処理装置、情報処理方法および情報処理プログラム
14日前
パイオニア株式会社
情報処理装置、情報処理方法および情報処理プログラム
14日前
パイオニア株式会社
センサ装置
10日前
パイオニア株式会社
情報出力装置
7日前
パイオニア株式会社
表示制御装置
10日前
パイオニア株式会社
音声出力装置
9日前
パイオニア株式会社
ナビゲーション装置
10日前
パイオニア株式会社
表示装置および表示装置の駆動方法
10日前
パイオニア株式会社
案内情報生成装置及び案内情報生成方法
10日前
パイオニア株式会社
予測装置、予測方法、予測プログラム及び記憶媒体
10日前
パイオニア株式会社
推定装置、システム、推定方法、およびプログラム
2日前
パイオニア株式会社
情報処理装置、制御方法、プログラム及び記憶媒体
9日前
パイオニア株式会社
決定装置、決定方法、決定プログラム及び記録媒体
7日前
パイオニア株式会社
通信制御端末、通信制御方法及び通信制御プログラム
7日前
パイオニア株式会社
認識判定装置、認識判定方法及び認識判定プログラム
10日前
パイオニア株式会社
制御装置、制御方法、および、制御装置用プログラム
2日前
パイオニア株式会社
情報処理装置、情報出力方法、プログラム及び記憶媒体
10日前
パイオニア株式会社
料金算出装置、料金算出方法及び料金算出用プログラム
7日前
パイオニア株式会社
音出力制御装置、音出力制御方法および音出力制御プログラム
9日前
パイオニア株式会社
情報処理装置、情報処理方法、情報処理プログラム、及び記憶媒体
7日前
パイオニア株式会社
通信システム、通信装置、サーバ装置、通信方法、通信プログラム及び記憶媒体
10日前
個人
イヤーマフ
今日
個人
監視カメラシステム
9日前
キーコム株式会社
光伝送線路
10日前
サクサ株式会社
中継装置
15日前
個人
スキャン式車載用撮像装置
9日前
サクサ株式会社
中継装置
16日前
WHISMR合同会社
収音装置
1か月前
アイホン株式会社
電気機器
1か月前
キヤノン株式会社
撮像装置
1か月前
株式会社リコー
画像形成装置
1か月前
サクサ株式会社
無線システム
14日前
サクサ株式会社
無線通信装置
15日前
株式会社リコー
画像形成装置
2日前
サクサ株式会社
無線通信装置
15日前
続きを見る
他の特許を見る