TOP
|
特許
|
意匠
|
商標
特許ウォッチ
Twitter
他の特許を見る
10個以上の画像は省略されています。
公開番号
2025157137
公報種別
公開特許公報(A)
公開日
2025-10-15
出願番号
2025024510
出願日
2025-02-18
発明の名称
ネットワーク装置、無線基地局及び無線通信方法
出願人
株式会社NTTドコモ
代理人
個人
,
個人
主分類
H04W
16/26 20090101AFI20251007BHJP(電気通信技術)
要約
【課題】WAB-gNB間での意図しないXnインターフェースの設定を確実に防止し得るネットワーク装置、無線基地局及び無線通信方法を提供する。
【解決手段】ネットワーク装置は、無線バックホールを提供する無線基地局におけるインターフェースに関する制御を実行する。ネットワーク装置は、当該無線基地局から、無線基地局の種別が無線バックホールを提供するバックホール無線基地局であることを示す識別情報を含む上りリンク設定転送メッセージを受信し、識別情報を含む下りリンク設定転送メッセージを他の無線基地局に送信する。
【選択図】図5
特許請求の範囲
【請求項1】
無線バックホールを提供する無線基地局におけるインターフェースに関する制御を実行する制御部と、
前記無線基地局から、前記無線基地局の種別が前記無線バックホールを提供するバックホール無線基地局であることを示す識別情報を含む上りリンク設定転送メッセージを受信する受信部と、
前記識別情報を含む下りリンク設定転送メッセージを他の無線基地局に送信する送信部と
を備えるネットワーク装置。
続きを表示(約 1,100 文字)
【請求項2】
無線バックホールを提供する無線基地局におけるインターフェースに関する制御を実行する制御部と、
他の無線基地局から、前記他の無線基地局の種別が前記無線バックホールを提供するバックホール無線基地局であることを示す識別情報を含む上りリンク設定転送メッセージを受信する受信部と、
前記識別情報を含む下りリンク設定転送メッセージを前記無線基地局に送信する送信部と
を備えるネットワーク装置。
【請求項3】
無線バックホールを提供する無線基地局におけるインターフェースに関する制御を実行する制御部と、
前記無線基地局から、前記無線基地局の近隣に位置する近隣無線基地局におけるネットワーク層のトランスポート機能に関する設定情報の要求を含む上りリンク設定転送メッセージを受信する受信部と、
前記設定情報を含む下りリンク設定転送メッセージを他の無線基地局に送信する送信部と
を備えるネットワーク装置。
【請求項4】
無線バックホールを提供するバックホール無線基地局におけるインターフェースに関する制御を実行する制御部と、
前記バックホール無線基地局と前記インターフェースが確立されている場合、前記インターフェースを介して、自局に隣接する隣接無線基地局の識別情報及び前記自局におけるネットワーク層のトランスポート機能に関する設定情報を前記バックホール無線基地局に送信する送信部と
を備える無線基地局。
【請求項5】
無線バックホールを提供する無線基地局におけるインターフェースに関する制御を実行するステップと、
前記無線基地局から、前記無線基地局の種別が前記無線バックホールを提供するバックホール無線基地局であることを示す識別情報を含む上りリンク設定転送メッセージを受信するステップと、
前記識別情報を含む下りリンク設定転送メッセージを他の無線基地局に送信するステップと
を含むネットワーク装置における無線通信方法。
【請求項6】
無線バックホールを提供する無線基地局におけるインターフェースに関する制御を実行するステップと、
他の無線基地局から、前記他の無線基地局の種別が前記無線バックホールを提供するバックホール無線基地局であることを示す識別情報を含む上りリンク設定転送メッセージを受信するステップと、
前記識別情報を含む下りリンク設定転送メッセージを前記無線基地局に送信するステップと
を含むネットワーク装置における無線通信方法。
発明の詳細な説明
【技術分野】
【0001】
本開示は、Wireless Access Backhaul(WAB)をサポートするネットワーク装置、無線基地局及び無線通信方法に関する。
続きを表示(約 1,900 文字)
【背景技術】
【0002】
3rd Generation Partnership Project(3GPP:登録商標)は、5th generation mobile communication system(5G、New Radio(NR)またはNext Generation(NG)とも呼ばれる)を仕様化し、さらに、Beyond 5G、5G Evolution或いは6Gと呼ばれる次世代の仕様化も進めている。
【0003】
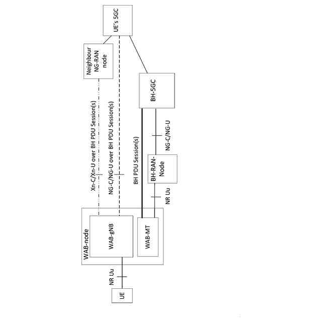
3GPPのRelease-19では、Wireless Access Backhaul(WAB)に関する検討が進められている(非特許文献1,2)。例えば、WAB機能を提供できる無線基地局(gNB)相当の機能であるWAB-gNBは、無線アクセスネットワークノード(RAN node)間のXnインターフェースをサポートすることが合意されている。
【0004】
また、3GPP Release-18では、RAN node同士がTNL(Transport Network Layer)の設定情報(Xn TNL Configuration Info)を交換することによって、Xnインターフェースを自動的に確立するメカニズムが規定されている(非特許文献3)。
【0005】
一方で、非特許文献1では、近隣に位置する他のWAB-gNBなどとのWAB-gNB間でのXnインターフェースの設定を防止することが合意されている。
【先行技術文献】
【非特許文献】
【0006】
"New WID on additional topological enhancements for NR", RP-242395, 3GPP TSG RAN Meeting #105, 3GPP, 2024年9月
3GPP TR 38.799 V0.0.1 (R3-243171), 3rd Generation Partnership Project; Technical Specification Group RAN; NR; Study on additional topological enhancements for NR (Release 19)、3GPP、2024年3月
3GPP TS 38.413 V18.4.0, 3rd Generation Partnership Project; Technical Specification Group Radio Access Network; NG-RAN; NG Application Protocol (NGAP) (Release 18)、3GPP、2024年12月
【発明の概要】
【発明が解決しようとする課題】
【0007】
しかしながら、上述したXnインターフェースを自動的に確立するメカニズムを踏襲した場合、WAB-gNB間でのXnインターフェースの設定を防止することができず、意図しないXnインターフェースが設定されてしまう虞がある。
【0008】
そこで、以下の開示は、このような状況に鑑みてなされたものであり、WAB-gNB間での意図しないXnインターフェースの設定を確実に防止し得るネットワーク装置、無線基地局及び無線通信方法の提供を目的とする。
【課題を解決するための手段】
【0009】
本開示の一態様は、無線バックホールを提供する無線基地局におけるインターフェースに関する制御を実行する制御部(制御部77)と、前記無線基地局から、前記無線基地局の種別が前記無線バックホールを提供するバックホール無線基地局であることを示す識別情報を含む上りリンク設定転送メッセージを受信する受信部(TNL処理部75)と、前記識別情報を含む下りリンク設定転送メッセージを他の無線基地局に送信する送信部(TNL処理部75)とを備えるネットワーク装置(AMF70)である。
【0010】
本開示の一態様は、無線バックホールを提供する無線基地局におけるインターフェースに関する制御を実行する制御部(制御部77)と、他の無線基地局から、前記他の無線基地局の種別が前記無線バックホールを提供するバックホール無線基地局であることを示す識別情報を含む上りリンク設定転送メッセージを受信する受信部(TNL処理部75)と、前記識別情報を含む下りリンク設定転送メッセージを前記無線基地局に送信する送信部(TNL処理部75)とを備えるネットワーク装置(AMF70)である。
(【0011】以降は省略されています)
この特許をJ-PlatPat(特許庁公式サイト)で参照する
関連特許
株式会社NTTドコモ
端末
15日前
株式会社NTTドコモ
端末
15日前
株式会社NTTドコモ
端末
14日前
株式会社NTTドコモ
端末
14日前
株式会社NTTドコモ
端末
15日前
株式会社NTTドコモ
端末
14日前
株式会社NTTドコモ
端末
15日前
株式会社NTTドコモ
端末
14日前
株式会社NTTドコモ
端末
14日前
株式会社NTTドコモ
基地局
14日前
株式会社NTTドコモ
デバイス
15日前
株式会社NTTドコモ
デバイス
14日前
株式会社NTTドコモ
デバイス
15日前
株式会社NTTドコモ
デバイス
14日前
株式会社NTTドコモ
デバイス
15日前
株式会社NTTドコモ
デバイス
14日前
株式会社NTTドコモ
デバイス
15日前
株式会社NTTドコモ
情報処理装置
7日前
株式会社NTTドコモ
リニアライザ
22日前
株式会社NTTドコモ
情報処理装置
21日前
株式会社NTTドコモ
情報処理装置
1日前
株式会社NTTドコモ
装置及び方法
12日前
株式会社NTTドコモ
基地局及び端末
14日前
株式会社NTTドコモ
端末及び基地局
14日前
株式会社NTTドコモ
端末及び基地局
14日前
株式会社NTTドコモ
基地局及び端末
14日前
株式会社NTTドコモ
端末及び基地局
14日前
株式会社NTTドコモ
端末及び通信方法
15日前
株式会社NTTドコモ
端末及び通信方法
15日前
株式会社NTTドコモ
端末及び通信方法
14日前
株式会社NTTドコモ
端末及び通信方法
14日前
株式会社NTTドコモ
端末及び通信方法
15日前
株式会社NTTドコモ
端末及び通信方法
14日前
株式会社NTTドコモ
無線通信システム
19日前
株式会社NTTドコモ
端末及び通信方法
14日前
株式会社NTTドコモ
端末及び通信方法
14日前
続きを見る
他の特許を見る