TOP
|
特許
|
意匠
|
商標
特許ウォッチ
Twitter
他の特許を見る
10個以上の画像は省略されています。
公開番号
2025155721
公報種別
公開特許公報(A)
公開日
2025-10-14
出願番号
2024200839
出願日
2024-11-18
発明の名称
端末及び通信方法
出願人
株式会社NTTドコモ
代理人
弁理士法人ITOH
主分類
H04W
52/02 20090101AFI20251006BHJP(電気通信技術)
要約
【課題】LP-WUSとセルDTX/DRXとの両方が設定される端末における動作を明確にし、適切にLP-WUSモニタリング及びセルDTX/DRXの動作を実行できる。
【解決手段】端末は、第1のセルにおいて低電力用ウェイクアップ信号を基地局から受信する受信部と、当該端末に前記低電力用ウェイクアップ信号に関する情報を設定する制御部と、を備え、前記制御部は、当該端末に、セルDTX (Discontinuous Transmission)/DRX (Discontinuous Reception)を、前記第1のセルを含む一又は複数のセルのそれぞれ又は前記第1のセルに対して、設定する又は設定しない。
【選択図】図4
特許請求の範囲
【請求項1】
第1のセルにおいて低電力用ウェイクアップ信号を基地局から受信する受信部と、
当該端末に前記低電力用ウェイクアップ信号に関する情報を設定する制御部と、を備え、
前記制御部は、当該端末に、セルDTX (Discontinuous Transmission)/DRX (Discontinuous Reception)を、前記第1のセルを含む一又は複数のセルのそれぞれ又は前記第1のセルに対して、設定する又は設定しない、端末。
続きを表示(約 960 文字)
【請求項2】
当該端末にC-DRX (Connected-DRX)が設定される、請求項1に記載の端末。
【請求項3】
当該端末にC-DRX (Connected-DRX)が設定されないとき、前記制御部は、当該端末に、前記セルDTX/DRXを、前記低電力用ウェイクアップ信号に関連付けられたセルのそれぞれに対して、設定する又は設定せず、
前記低電力用ウェイクアップ信号に関連付けられたセルは、前記低電力用ウェイクアップ信号に関連付けられたセルグループ内又はMAC (Media Access Control)エンティティにおける全てのセルである、請求項1に記載の端末。
【請求項4】
前記低電力用ウェイクアップ信号のモニタリング機会は、前記セルDTX/DRXのアクティブ期間と少なくとも部分的に重複するか、
前記セルDTX/DRXの周期が前記低電力用ウェイクアップ信号のモニタリング周期の整数倍であるか又は
前記低電力用ウェイクアップ信号のモニタリング周期が前記セルDTX/DRXの周期の整数倍である、請求項1に記載の端末。
【請求項5】
前記低電力用ウェイクアップ信号により物理ダウンリンク制御チャネルのモニタリングがトリガされた場合、前記制御部は、セルの前記セルDTXの非アクティブ期間中に、前記セル内の前記物理ダウンリンク制御チャネルにおいて、DCIフォーマット2_6、DCIフォーマット2_7、DCIフォーマット2_8又はDCIフォーマット2_9のうちの少なくとも一つをモニタする、請求項1に記載の端末。
【請求項6】
端末により実行される通信方法であって、
第1のセルにおいて低電力用ウェイクアップ信号を基地局から受信するステップと、
当該端末に前記低電力用ウェイクアップ信号に関する情報を設定するステップと、
当該端末に、セルDTX (Discontinuous Transmission)/DRX (Discontinuous Reception)を、前記第1のセルを含む一又は複数のセルのそれぞれ又は前記第1のセルに対して、設定する又は設定しないステップと、を備える通信方法。
発明の詳細な説明
【技術分野】
【0001】
本発明は、無線通信システムにおける端末及び通信方法に関する。
続きを表示(約 1,700 文字)
【背景技術】
【0002】
3GPP(登録商標)(3rd Generation Partnership Project)システム容量の更なる大容量化、データ伝送速度の更なる高速化及び無線区間における更なる低遅延化等を実現するための技術が検討されている(例えば、非特許文献1及び非特許文献2)。さらに、3GPP Rel-19では、無線通信システムにおける低電力化のため低電力ウェイクアップ信号(LP(Low Power)-WUS(Wake Up Signal)/LP-WUR(Wake Up Receiver))の技術が議論されている。
【0003】
省電力のための技術として、基地局及び端末の間欠送受信を制御するセルDTX (Discontinuous Transmission)/DRX (Discontinuous Reception)がある。
【先行技術文献】
【非特許文献】
【0004】
3GPP TS 38.300 V18.3.0(2024-09)
3GPP TS 38.401 V18.3.0(2024-09)
【発明の概要】
【発明が解決しようとする課題】
【0005】
従来、LP-WUSとセルDTX/DRXとを同時に使用する場合における動作が明確にされておらず、端末が適切にLP-WUSモニタリング及びセルDTX/DRXに基づく動作を実行できないおそれがある。
【課題を解決するための手段】
【0006】
本実施形態における端末は、第1のセルにおいて低電力用ウェイクアップ信号を基地局から受信する受信部と、当該端末に前記低電力用ウェイクアップ信号に関する情報を設定する制御部と、を備え、前記制御部は、当該端末に、セルDTX/DRXを、前記第1のセルを含む一又は複数のセルのそれぞれ又は前記第1のセルに対して、設定する又は設定しない。
【発明の効果】
【0007】
本実施形態によれば、LP-WUSとセルDTX/DRXとの両方が設定される端末における動作を明確にし、適切にLP-WUSモニタリング及びセルDTX/DRXの動作を実行できる。
【図面の簡単な説明】
【0008】
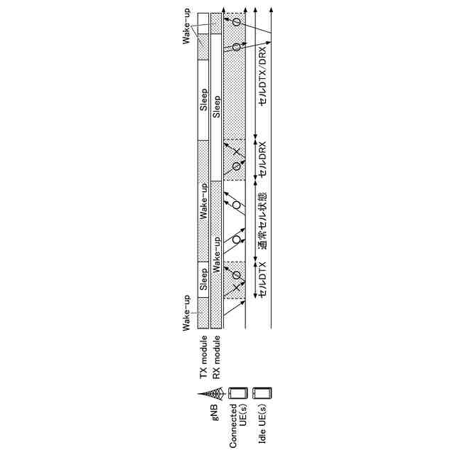
本実施形態における無線通信システムを説明するための図である。
従来のセルDTX/DRXの動作を示す図である。
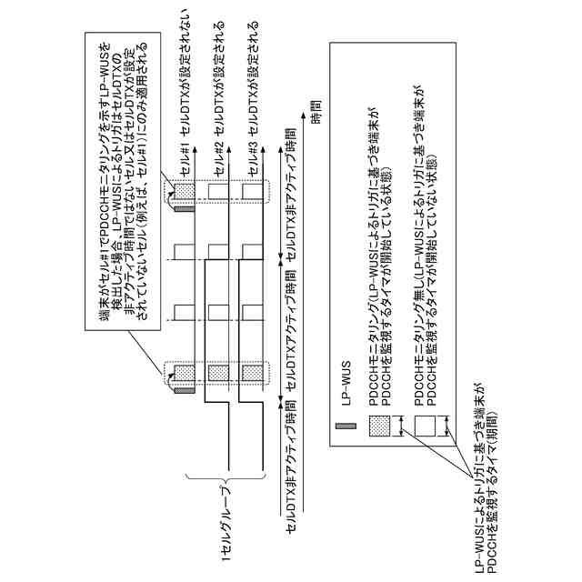
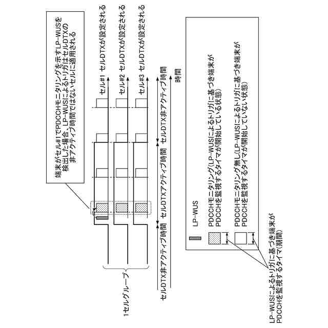
実施例1におけるセルDTX/DRXの設定方法の一例を示す図である。
実施例1におけるセルDTX/DRXの設定方法の一例を示す図である。
実施例2におけるセルDTX/DRXとLP-WUSモニタリング機会との時間方向における関係の一例を示す図である。
実施例2におけるセルDTX/DRXとLP-WUSモニタリング機会との時間方向における関係の一例を示す図である。
実施例3におけるPDCCHモニタリングの方法の一例を示す図である。
実施例3におけるPDCCHモニタリングの方法の一例を示す図である。
本実施形態における基地局の機能構成の一例を示す図である。
本実施形態における端末の機能構成の一例を示す図である。
本実施形態における基地局又は端末のハードウェア構成の一例を示す図である。
本実施形態における車両の構成の一例を示す図である。
【発明を実施するための形態】
【0009】
以下、図面を参照して本実施形態を説明する。なお、以下で説明する実施の形態は一例であり、本発明が適用される実施の形態は、以下の実施の形態に限られない。
【0010】
本実施形態の無線通信システムは、既存技術を用いて動作する。既存技術は、例えば、3GPP規格のような通信規格に基づく無線通信技術である。既存技術は、例えばNR(New Radio)であるが、既存のNRに限られない。本明細書で使用する用語「NR」は、特に断らない限り、NR(5G)以降の方式(例えば、6G)を含む広い意味を有するものとする。
(【0011】以降は省略されています)
この特許をJ-PlatPat(特許庁公式サイト)で参照する
関連特許
株式会社NTTドコモ
装置及び方法
1日前
株式会社NTTドコモ
制御装置及び制御方法
1日前
株式会社NTTドコモ
端末、無線通信方法及び基地局
2日前
株式会社NTTドコモ
端末、無線通信方法及び基地局
2日前
個人
監視カメラシステム
3日前
キーコム株式会社
光伝送線路
4日前
WHISMR合同会社
収音装置
1か月前
個人
スキャン式車載用撮像装置
3日前
サクサ株式会社
中継装置
9日前
サクサ株式会社
中継装置
10日前
キヤノン株式会社
撮像装置
1か月前
アイホン株式会社
電気機器
1か月前
サクサ株式会社
無線通信装置
9日前
個人
ワイヤレスイヤホン対応耳掛け
29日前
株式会社リコー
画像形成装置
1か月前
株式会社リコー
画像形成装置
2か月前
キヤノン電子株式会社
画像読取装置
2日前
サクサ株式会社
無線通信装置
9日前
株式会社リコー
画像形成装置
1か月前
キヤノン電子株式会社
画像読取装置
1か月前
サクサ株式会社
無線システム
8日前
日本電気株式会社
海底分岐装置
4日前
株式会社ニコン
撮像装置
2か月前
キヤノン株式会社
撮像システム
1か月前
ブラザー工業株式会社
読取装置
2か月前
個人
発信機及び発信方法
8日前
株式会社松平商会
携帯機器カバー
1か月前
株式会社NTTドコモ
端末
3日前
大日本印刷株式会社
写真撮影装置
1か月前
シャープ株式会社
端末装置
1日前
株式会社JVCケンウッド
通信システム
15日前
株式会社NTTドコモ
端末
3日前
有限会社フィデリックス
マイクロフォン
15日前
DXO株式会社
情報処理システム
2か月前
株式会社NTTドコモ
端末
4日前
株式会社NTTドコモ
端末
3日前
続きを見る
他の特許を見る