TOP
|
特許
|
意匠
|
商標
特許ウォッチ
Twitter
他の特許を見る
10個以上の画像は省略されています。
公開番号
2025158365
公報種別
公開特許公報(A)
公開日
2025-10-17
出願番号
2024060845
出願日
2024-04-04
発明の名称
トルクセンサの補正値取得方法および回転軸のトルク測定方法
出願人
日本精工株式会社
,
株式会社プロテリアル
代理人
弁理士法人貴和特許事務所
主分類
G01L
3/10 20060101AFI20251009BHJP(測定;試験)
要約
【課題】トルクの測定精度を確保しつつ、補正値を取得するための試験に要する時間の短縮を図る。
【解決手段】補正値取得対象となるトルクセンサについて、第1基準温度t
s1
における出力値E
s1
(仮補正値Ct
s1
)、および、第2基準温度における出力値E
s2
(仮補正値Ct
s2
)を実測し、温度tと仮補正値Ctとの関係を示す一次関数である仮補正関数fを求める。第1基準温度および第2基準温度以外の少なくとも1つの非基準温度t
n1
~t
n6
を仮補正関数fに代入して、少なくとも1つの非基準温度t
n1
~t
n6
における仮補正値Ct
n1
~Ct
n6
を得る。そして、少なくとも1つの非基準温度t
n1
~t
n6
における仮補正値Ct
n1
~Ct
n6
を、予め求めておいた少なくとも1つの非基準温度t
n1
~t
n6
における補正量ΔC
n1
~ΔC
n6
により補正することで、少なくとも1つの非基準温度t
n1
~t
n6
における補正値C
n1
~C
n6
を得る。
【選択図】図7
特許請求の範囲
【請求項1】
回転軸の被検出部の周囲に配置されるトルクセンサの補正値取得方法であって、
補正値取得対象となる前記トルクセンサについて、第1基準温度における出力値、および、第2基準温度における出力値を実測する工程と、
前記第1基準温度における出力値を前記第1基準温度における仮補正値とし、かつ、前記第2基準温度における出力値を前記第2基準温度における仮補正値として、補正値取得対象となる前記トルクセンサについての温度と前記仮補正値との関係を示す一次関数である仮補正関数を求める工程と、
前記第1基準温度および前記第2基準温度以外の少なくとも1つの非基準温度を前記仮補正関数に代入して、前記少なくとも1つの非基準温度における仮補正値を得る工程と、
前記少なくとも1つの非基準温度における前記仮補正値を、予め求めておいた前記少なくとも1つの非基準温度における補正量により補正することで、前記少なくとも1つの非基準温度における補正値を得る工程と、
を備える、トルクセンサの補正値取得方法。
続きを表示(約 660 文字)
【請求項2】
前記少なくとも1つの非基準温度における前記補正量は、
補正値取得対象となる前記トルクセンサと同じ構成を有する少なくとも1つの試験用サンプルについて、前記第1基準温度、前記第2基準温度、および前記少なくとも1つの非基準温度における出力値を実測し、
前記第1基準温度における出力値を仮出力値とし、かつ、前記第2基準温度における出力値を仮出力値として、前記少なくとも1つの試験用サンプルについての温度と前記仮出力値との関係を示す一次関数である基準関数を求め、
前記少なくとも1つの非基準温度を前記基準関数に代入することで得られる前記少なくとも1つの非基準温度における前記仮出力値と、実測した前記少なくとも1つの非基準温度における出力値との差分に基づいて求められる、
請求項1に記載のトルクセンサの補正値取得方法。
【請求項3】
前記第1基準温度と前記第2基準温度との差が、10度以上190度以下である、
請求項1に記載のトルクセンサの補正値取得方法。
【請求項4】
回転軸の被検出部の周囲に配置されるトルクセンサの出力値を、前記トルクセンサの温度に応じて、予め求めておいた補正値で補正し、補正後の前記トルクセンサの出力値に基づいて前記回転軸に付与されたトルクを算出する、回転軸のトルク測定方法であって、
前記補正値を、請求項1~3のいずれかに記載のトルクセンサの補正値取得方法により取得する、回転軸のトルク測定方法。
発明の詳細な説明
【技術分野】
【0001】
本開示は、回転軸の被検出部の周囲に配置されるトルクセンサの補正値取得方法、および、回転軸のトルク測定方法に関する。
続きを表示(約 1,900 文字)
【背景技術】
【0002】
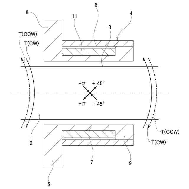
回転軸に付与されたトルクを測定する装置として、回転軸にトルクを付与した際に、該回転軸に生じる逆磁歪効果を利用して、回転軸に付与されたトルクを測定する磁歪式のトルク測定装置が知られている。磁歪式のトルク測定装置は、トルクが付与された際の回転軸の透磁率の変化を検出コイルのインダクタンスの変化として検出することにより、回転軸に付与されたトルクを測定するように構成されている。
【0003】
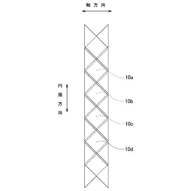
一般に、トルクの変動に伴う被検出部の透磁率の変化は微小であるため、通常は、測定感度を向上させるための工夫がなされる。その工夫の1つとして、従来、図8に示すようなブリッジ回路100を用いる方法が知られている。この方法では、たとえば図9に示すような回転軸101の軸方向一部分である円柱状の被検出部102の周囲に、第1検出コイル103、第2検出コイル104、第3検出コイル105、および第4検出コイル106の4つ検出コイルを配置し、かつ、該4つの検出コイルを4辺に配置したブリッジ回路100を構成する。
【0004】
回転軸101にトルクTが加わると、被検出部102の外周面には、軸方向に対して所定方向に所定角度(たとえば+45度)傾斜した方向と、軸方向に対して前記所定方向と反対方向に所定角度(例えば-45度)傾斜した方向とに、+-の符号が互いに異なる応力σが作用する。そして、逆磁歪効果により、引張応力(+σ)が作用する方向での透磁率が増加し、圧縮応力(-σ)が作用する方向での透磁率が減少する。
【0005】
ブリッジ回路100において、4辺を構成する2組の対辺のうちの一方の組の対辺に配置された第1検出コイル103および第3検出コイル105は、被検出部102の外周面における、軸方向に対して所定方向に所定角度傾斜した方向の透磁率の変化を検出するため検出コイルであり、前記2組の対辺のうちの他方の組の対辺に配置された第2検出コイル104および第4検出コイル106は、被検出部102の外周面における、軸方向に対して前記所定方向と反対方向に所定角度傾斜した方向の透磁率の変化を検出するための検出コイルである。このようなブリッジ回路100において、2つの端点であるA点、C点間に交流電圧(入力電圧)Viを印加すると、2つの中点であるB点、D点間の電圧として、回転軸101に加わるトルクTの方向および大きさに応じた出力値(出力電圧)Voが得られる。したがって、この出力値Voに基づいて、トルクTを求めることができる。
【0006】
上述のようなブリッジ回路100を用いれば、軸方向に対して所定方向に所定角度傾斜した方向と、軸方向に対して反対方向に所定角度傾斜した方向との、いずれか一方の方向の透磁率の変化のみを検出する場合に比べて、出力値Voを2倍にすることができ、トルクTの測定感度を向上させることができる。
【0007】
ところで、ブリッジ回路100を構成する4つの検出コイル103~106は、すべて同じインピーダンスであることが好ましい。しかしながら、実際には、製造誤差などに基づいて検出コイル103~106のインピーダンスにはばらつきが生じる。このようなインピーダンスのばらつきの影響により、回転軸101にトルクTが付与されていない状態でも、オフセット電圧が出力されることが避けられない。
【0008】
また、4つの検出コイル103~106のインピーダンスは、温度によって変化することが知られている。したがって、オフセット電圧も温度によって変化する。このため、回転軸101に付与されたトルクTと出力電圧Voとの関係も温度変化の影響を受ける。
【0009】
特開2018-48956号公報には、温度変化によらずトルクを精度良く検出可能な、磁歪式のトルク測定装置(トルクセンサ)が記載されている。
【0010】
特開2018-48956号公報に記載の従来のトルク測定装置では、予め設定した基準温度での出力値(の正弦成分および余弦成分)を記憶するとともに、回転軸にトルクが付与されていない状態で、基準温度からの温度変化に対する出力値の変化量(正弦成分の変化量および余弦成分の変化量)の関係を記憶しておく。回転軸に付与されたトルクを求める際には、前記関係から、温度検出手段により検出したその時点での温度に対応する出力値の変化量を求め、該変化量によりトルクセンサ(センサ部)から出力されたその時点での出力値を補正し、補正後の出力値に基づいてトルクを算出する。
(【0011】以降は省略されています)
この特許をJ-PlatPat(特許庁公式サイト)で参照する
関連特許
日本精工株式会社
保持器
1か月前
日本精工株式会社
分注装置
2か月前
日本精工株式会社
締結用工具
1か月前
日本精工株式会社
ボールねじ
1か月前
日本精工株式会社
遊星歯車装置
1か月前
日本精工株式会社
リニアガイド
1か月前
日本精工株式会社
円すいころ軸受
6日前
日本精工株式会社
転がり案内装置
14日前
日本精工株式会社
アクチュエータ
1日前
日本精工株式会社
ボールねじ装置
7日前
日本精工株式会社
密封型転がり軸受
7日前
日本精工株式会社
ハブユニット軸受
1か月前
日本精工株式会社
突入電流抑止回路
1か月前
日本精工株式会社
アンギュラ玉軸受
1か月前
日本精工株式会社
密封型転がり軸受
7日前
日本精工株式会社
密封型転がり軸受
7日前
日本精工株式会社
密封型転がり軸受
7日前
日本精工株式会社
密封型転がり軸受
7日前
日本精工株式会社
密封型転がり軸受
7日前
日本精工株式会社
密封型転がり軸受
7日前
日本精工株式会社
シール付き玉軸受
1か月前
日本精工株式会社
逆入力遮断クラッチ
1か月前
日本精工株式会社
逆入力遮断クラッチ
1か月前
日本精工株式会社
磁歪式トルクセンサ
1か月前
日本精工株式会社
逆入力遮断クラッチ
今日
日本精工株式会社
磁歪式トルクセンサ
16日前
日本精工株式会社
モータ制御システム
15日前
日本精工株式会社
アクチュエータシステム
22日前
日本精工株式会社
直動案内装置の組立方法
20日前
日本精工株式会社
ラジアルころ軸受用保持器
6日前
日本精工株式会社
ボールねじ部品の製造方法
1か月前
日本精工株式会社
絶縁転がり軸受の製造方法
1か月前
日本精工株式会社
潤滑機能付き転がり軸受装置
1か月前
日本精工株式会社
直動案内装置及びその製造方法
20日前
日本精工株式会社
回路放熱機構および回路放熱方法
1か月前
日本精工株式会社
ころ軸受及びころ軸受の設計方法
20日前
続きを見る
他の特許を見る