TOP
|
特許
|
意匠
|
商標
特許ウォッチ
Twitter
他の特許を見る
10個以上の画像は省略されています。
公開番号
2025159773
公報種別
公開特許公報(A)
公開日
2025-10-22
出願番号
2024062519
出願日
2024-04-09
発明の名称
アクチュエータ
出願人
日本精工株式会社
代理人
弁理士法人酒井国際特許事務所
主分類
F16H
25/18 20060101AFI20251015BHJP(機械要素または単位;機械または装置の効果的機能を生じ維持するための一般的手段)
要約
【課題】部品点数の増加が抑えられるアクチュエータを提供する。
【解決手段】本開示のアクチュエータは、筒状の筒状部品と、筒状部品を収容するハウジングと、筒状部品を筒状部品の中心軸回りに回転不能に支持するスプライン機構を備え、筒状部品の中心軸と平行な軸方向の一方を第1方向、他方を第2方向とし、ハウジングは、筒状部品の外周面と対向する内周面を有し、スプライン機構は、筒状部品の外周面に設けられた複数の外周スプライン溝と、ハウジングの内周面に設けられ、軸方向に延在し、かつ外周スプライン溝と対向する複数の内周スプライン溝と、外周スプライン溝と内周スプライン溝との間に配置され、少なくとも一部が外周スプライン溝と内周スプライン溝のそれぞれに入り込む複数の転動体と、外周スプライン溝の第1方向の端部を閉塞する第1壁部と、内周スプライン溝の第2方向の端部を閉塞する第2壁部と、を有する。
【選択図】図3
特許請求の範囲
【請求項1】
筒状の筒状部品と、
前記筒状部品を収容するハウジングと、
前記筒状部品を前記筒状部品の中心軸回りに回転不能に支持するスプライン機構と、
を備え、
前記筒状部品の中心軸と平行な軸方向の一方を第1方向、他方を第2方向とし、
前記ハウジングは、前記筒状部品の外周面と対向する内周面を有し、
前記スプライン機構は、
前記筒状部品の外周面に設けられ、前記軸方向に延在する複数の外周スプライン溝と、
前記ハウジングの内周面に設けられ、前記軸方向に延在し、かつ前記外周スプライン溝と対向する複数の内周スプライン溝と、
前記外周スプライン溝と前記内周スプライン溝との間に配置され、少なくとも一部が前記外周スプライン溝と前記内周スプライン溝のそれぞれに入り込む複数の転動体と、
前記外周スプライン溝の前記第1方向の端部を閉塞する第1壁部と、
前記内周スプライン溝の前記第2方向の端部を閉塞する第2壁部と、
を有しているアクチュエータ。
続きを表示(約 1,000 文字)
【請求項2】
前記スプライン機構は、前記筒状部品の外周面と前記ハウジングの内周面との間に配置され、前記転動体を保持する保持器を備えている
請求項1に記載のアクチュエータ。
【請求項3】
前記スプライン機構は、
前記外周スプライン溝の前記第2方向の端部を開口する開口部と、
前記内周スプライン溝の前記第1方向の端部を閉塞する第3壁部と、
を有し、
前記外周スプライン溝は、前記内周スプライン溝よりも前記軸方向の長さが大きい
請求項1に記載のアクチュエータ。
【請求項4】
前記スプライン機構は、
前記筒状部品の外周面に設けられ、周方向に延在する溝と、
前記溝に嵌合する止め輪と、
を有し、
前記止め輪は、前記外周スプライン溝の前記第2方向の端部を閉塞している
請求項3に記載のアクチュエータ。
【請求項5】
前記スプライン機構は、
前記外周スプライン溝の前記第2方向の端部を閉塞する第4壁部と、
前記内周スプライン溝の前記第1方向の端部を開口する開口部と、
を有し、
前記内周スプライン溝は、前記外周スプライン溝よりも前記軸方向の長さが大きい
請求項1に記載のアクチュエータ。
【請求項6】
前記スプライン機構は、
前記ハウジングの内周面に設けられ、周方向に延在する溝と、
前記溝に嵌合する止め輪と、
を有し、
前記止め輪は、前記内周スプライン溝の前記第1方向の端部を閉塞している
請求項5に記載のアクチュエータ。
【請求項7】
複数の前記外周スプライン溝と複数の前記内周スプライン溝は、周方向に等間隔で配置されている
請求項1に記載のアクチュエータ。
【請求項8】
複数の前記外周スプライン溝と複数の前記内周スプライン溝は、周方向に不均等な間隔で配置されている
請求項1に記載のアクチュエータ。
【請求項9】
互いに対向する一組の前記外周スプライン溝と前記内周スプライン溝の間に配置される前記転動体は複数である
請求項1に記載のアクチュエータ。
【請求項10】
前記転動体は、円筒ころである
請求項1に記載のアクチュエータ。
(【請求項11】以降は省略されています)
発明の詳細な説明
【技術分野】
【0001】
本開示は、アクチュエータに関する。
続きを表示(約 1,700 文字)
【背景技術】
【0002】
アクチュエータは、回転運動を直線運動に変換するボールねじ装置を備えている。下記特許文献のアクチュエータでは、ねじ軸に回転運動が伝達され、ナットが直線運動するように、ボールねじ装置が使用されている。また、下記特許文献のアクチュエータでは、ナットの回転を規制し、かつナットの直線運動を円滑とするため、ボールスプラインが利用されている。
【先行技術文献】
【特許文献】
【0003】
国際公開第2016/017458号
【発明の概要】
【発明が解決しようとする課題】
【0004】
ところで、アクチュエータでは、ナットの軸方向の位置を検出するため、ナットを初期位置に配置するストッパ機構が必要となる。しかし、従来のストッパ機構をそのままアクチュエータに設けると、部品点数の増加を招く。
【0005】
本開示は、上記に鑑みてなされたものであり、部品点数の増加を抑えることができるアクチュエータを提供することを目的とする。
【課題を解決するための手段】
【0006】
上記の目的を達成するため、本開示の一態様に係るアクチュエータは、筒状の筒状部品と、前記筒状部品を収容するハウジングと、前記筒状部品を前記筒状部品の中心軸回りに回転不能に支持するスプライン機構と、を備えている。前記筒状部品の中心軸と平行な軸方向の一方を第1方向、他方を第2方向とする。前記ハウジングは、前記筒状部品の外周面と対向する内周面を有する。前記スプライン機構は、前記筒状部品の外周面に設けられ、前記軸方向に延在する複数の外周スプライン溝と、前記ハウジングの内周面に設けられ、前記軸方向に延在し、かつ前記外周スプライン溝と対向する複数の内周スプライン溝と、前記外周スプライン溝と前記内周スプライン溝との間に配置され、少なくとも一部が前記外周スプライン溝と前記内周スプライン溝のそれぞれに入り込む複数の転動体と、前記外周スプライン溝の前記第1方向の端部を閉塞する第1壁部と、前記内周スプライン溝の前記第2方向の端部を閉塞する第2壁部と、を有している。
【0007】
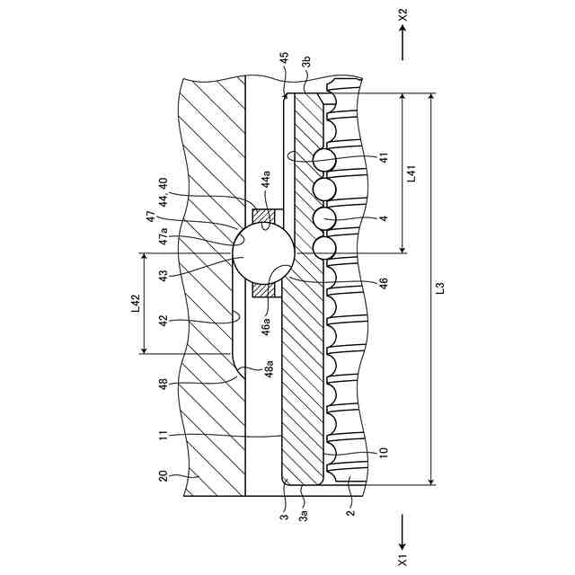
本開示によれば、筒状部品に中心軸周りの荷重(トルク)が伝達しても、転動体が外周スプライン溝と内周スプライン溝のそれぞれに引っ掛かり、筒状部品が回転しない。また、筒状部品が軸方向に移動する際、転動体が外周スプライン溝と内周スプライン溝を転動する。よって、筒状部品の移動が円滑に行われる。また、筒状部品が第2方向に移動すると、転動体も第2方向に転動する。そして、転動体が第2壁部に接触すると、転動体は第2方向への転動(移動)が規制される。また、第2方向に移動する筒状部品は、第1壁部が転動体に接触すると、第2方向への移動が規制される。よって、転動体が第1壁部と第2壁部のそれぞれに当接した状態を筒状部品の初期位置とすることができる。本開示によれば、筒状部品の回り止めを行うスプライン機構(外周スプライン溝、内周スプライン溝及び転動体)により、筒状部品を初期位置に配置することができる。つまり、別途ストッパ機構を設ける必要がなく、部品点数の増加が回避される。また、筒状部品は、外周側から転動体と接触している。よって、筒状部品は、ボールを介して径方向外側からハウジングに支持されている。
【0008】
また、前記したボールねじ装置の好ましい態様として、前記スプライン機構は、前記筒状部品の外周面と前記ハウジングの内周面との間に配置され、前記転動体を保持する保持器を備えている。
【0009】
前記構成によれば、転動体が保持器に保持されるため、アクチュエータの組み立てが容易となる。
【0010】
また、前記したボールねじ装置の好ましい態様として、前記スプライン機構は、前記外周スプライン溝の前記第2方向の端部を開口する開口部と、前記内周スプライン溝の前記第1方向の端部を閉塞する第3壁部と、を有する。前記外周スプライン溝は、前記内周スプライン溝よりも前記軸方向の長さが大きい。
(【0011】以降は省略されています)
この特許をJ-PlatPat(特許庁公式サイト)で参照する
関連特許
日本精工株式会社
ボールねじ装置
8日前
日本精工株式会社
円すいころ軸受
7日前
日本精工株式会社
転がり案内装置
15日前
日本精工株式会社
アクチュエータ
2日前
日本精工株式会社
密封型転がり軸受
8日前
日本精工株式会社
密封型転がり軸受
8日前
日本精工株式会社
密封型転がり軸受
8日前
日本精工株式会社
密封型転がり軸受
8日前
日本精工株式会社
密封型転がり軸受
8日前
日本精工株式会社
密封型転がり軸受
8日前
日本精工株式会社
密封型転がり軸受
8日前
日本精工株式会社
磁歪式トルクセンサ
1か月前
日本精工株式会社
磁歪式トルクセンサ
17日前
日本精工株式会社
モータ制御システム
16日前
日本精工株式会社
逆入力遮断クラッチ
1日前
日本精工株式会社
直動案内装置の組立方法
21日前
日本精工株式会社
アクチュエータシステム
23日前
日本精工株式会社
ラジアルころ軸受用保持器
7日前
日本精工株式会社
潤滑機能付き転がり軸受装置
1か月前
日本精工株式会社
直動案内装置及びその製造方法
21日前
日本精工株式会社
ころ軸受及びころ軸受の設計方法
21日前
日本精工株式会社
回路放熱機構および回路放熱方法
1か月前
日本精工株式会社
片持ち回転ローラ配置型円形車輪
7日前
日本精工株式会社
ハブユニット軸受及びその製造方法
7日前
協同油脂株式会社
グリース組成物
23日前
日本精工株式会社
含油部材付歯車、直動アクチュエータ
25日前
日本精工株式会社
細胞培養成形装置および細胞培養片の製造方法
1か月前
日本精工株式会社
潤滑剤供給体及び潤滑剤供給体を配設した転動装置
15日前
日本精工株式会社
圧電アクチュエータおよびマニピュレーションシステム
14日前
日本精工株式会社
磁歪式トルクセンサの組立方法および磁歪式トルクセンサ
7日前
日本精工株式会社
トルクセンサの補正値取得方法および回転軸のトルク測定方法
7日前
日本精工株式会社
ボールねじの偏荷重検出装置、偏荷重検出方法、およびプログラム
7日前
日本精工株式会社
モデル生成プログラム、モデル生成方法、細胞選別装置および学習済みモデル
22日前
個人
留め具
10日前
個人
鍋虫ねじ
1か月前
個人
回転伝達機構
2か月前
続きを見る
他の特許を見る