TOP
|
特許
|
意匠
|
商標
特許ウォッチ
Twitter
他の特許を見る
公開番号
2025158967
公報種別
公開特許公報(A)
公開日
2025-10-17
出願番号
2025062816
出願日
2025-04-04
発明の名称
製炭方法
出願人
合同会社双晶
代理人
個人
主分類
C10B
53/02 20060101AFI20251009BHJP(石油,ガスまたはコークス工業;一酸化炭素を含有する工業ガス;燃料;潤滑剤;でい炭)
要約
【課題】 木質ペレットの炭化処理に好適に利用できる製炭方法を提供する。
【解決手段】 製炭容器の内部に、マイクロ波を照射することによって900℃以上に発熱する発熱体、被製炭物、及び、前記被製炭物を包接する蓄熱層を収容する収容工程、前記製炭容器を密閉する密閉工程、及び、前記発熱体にマイクロ波を照射することにより、前記被製炭物を目的とする炭化温度に昇温させるマイクロ波照射工程を少なくとも含む製炭方法であって、前記蓄熱層を、二酸化ケイ素を主成分とする微粒子により構成することにより、木質ペレット等を簡便に炭化させることができる。
【選択図】図2
特許請求の範囲
【請求項1】
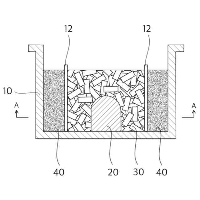
製炭容器の内部に、マイクロ波を照射することによって900℃以上に発熱する発熱体、被製炭物、及び、前記被製炭物を包接する蓄熱層を収容する収容工程、
前記製炭容器を密閉する密閉工程、及び、
マイクロ波を照射して前記発熱体を発熱させることにより、前記被製炭物の温度を、目標とする炭化温度以上に昇温させるマイクロ波照射工程、を少なくとも含む製炭方法であって、
前記蓄熱層は、二酸化ケイ素を主成分とする微粒子からなることを特徴とする製炭方法。
続きを表示(約 630 文字)
【請求項2】
前記二酸化ケイ素を主成分とする微粒子は、珪砂であることを特徴とする請求項1に記載の製炭方法。
【請求項3】
前記二酸化ケイ素を主成分とする微粒子は、木ガス成分を吸着した珪砂であることを特徴とする請求項1に記載の製炭方法。
【請求項4】
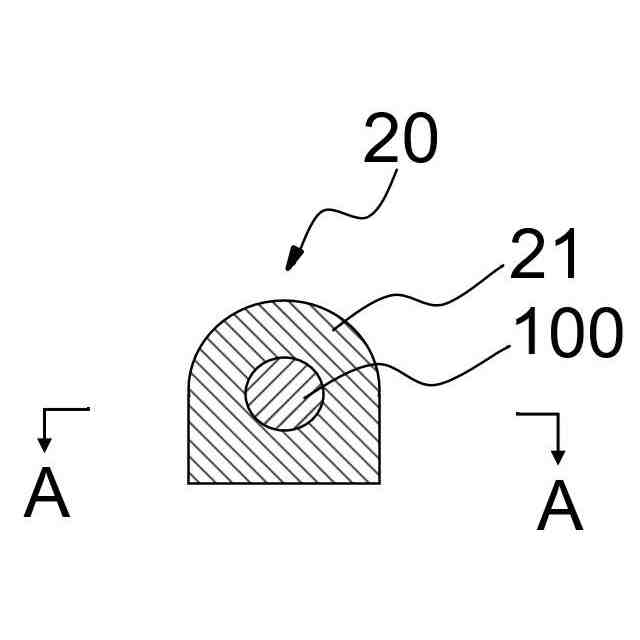
前記発熱体が、マイクロ波を照射することによってプラズマ発熱するプラズマ発生体を備え、
前記プラズマ発生体は、金属系ケイ酸植物焼却残渣を含有し、
前記金属系ケイ酸植物焼却残渣は、金属元素の含有量が金属酸化物換算で8質量%以上70質量%以下であることを特徴とする請求項1に記載の製炭方法。
【請求項5】
前記発熱体が、ケイ酸植物焼却残渣を含む焼結体であることを特徴とする請求項1に記載の製炭方法。
【請求項6】
前記被製炭物が、植物由来の粉状原料を圧縮成形した成形物からなることを特徴とする請求項1に記載の製炭方法。
【請求項7】
前記成形物が、木質ペレットであることを特徴とする請求項6に記載の製炭方法。
【請求項8】
前記収容工程において、前記被製炭物を、2cm以上の厚みの前記蓄熱層によって包接することを特徴とする請求項1に記載の製炭方法。
【請求項9】
前記マイクロ波照射工程において、前記目標とする炭化温度が1000℃以上であることを特徴とする請求項1に記載の製炭方法。
発明の詳細な説明
【技術分野】
【0001】
本発明は、木質ペレット等の炭化処理に好適に利用できる製炭方法に関する。
続きを表示(約 2,000 文字)
【背景技術】
【0002】
石炭火力発電からのCO
2
排出量を削減するため、再生可能エネルギーであるバイオマスを石炭と混焼するバイオマス発電が注目されている。バイオマス発電は、既存の石炭火力発電設備を利用しつつ、地球温暖化の防止、循環型社会の形成といった世界が抱える課題の解決に寄与することができる。バイオマス発電に用いられる木質ペレットは、森林から発生する間伐材、樹皮、のこ屑などを細粉・加圧してペレット状に加工したものである。
【0003】
木質ペレットを完全に炭化した炭化ペレットを生産するには、無酸素雰囲気下で少なくとも900℃以上の熱処理が必要である。これに対し、木質ペレットを半炭化したブラックペレットは、トレファクション(torrefaction)とよばれる、無酸素雰囲気下での250~300℃の熱処理により生産される。ブラックペレットは、炭化ペレットと比較して、炭化処理にかかるコストを大幅に低減できること、また、通常の炭化していない木質ペレットと比較して、発熱量が大きく粉砕性が良好であることから、バイオマス発電に用いる固体燃料として主流になりつつある。現在、実用化されているブラックペレットは、発熱量4300~5500kcal/kgであり、石炭に対して、最大で35%混焼が可能である(非特許文献1)。
【0004】
しかしながら、世界的に石炭ビジネスからの撤退が本格化しつつある中、バイオマスのみでの専焼化が望まれており、より発熱量の大きい炭化ペレットを、効率的かつ安価に生産することができる製炭方法の開発が急務である。
【0005】
従来から、木質ペレットの炭化処理方法として、マイクロ波加熱により木質ペレットを炭化する技術が知られている。例えば、特許文献1は、加熱炉の炉壁を内側からマイクロ波吸収層、マイクロ波透過層、マイクロ波反射層の順に構成することにより、マイクロ波照射によるバイオマスの内部加熱と、マイクロ波吸収層からの伝熱によるバイオマスの外部加熱を行い、バイオマスを内部と外部から同時に加熱するバイオマスの半炭化処理について開示している。しかしながら、特許文献1の方法では、含有する水分が蒸発するまでは加熱できるが、水分がなくなるとマイクロ波照射による加熱が出来なくなり、炭化が進まないという問題がある。
【0006】
また、特許文献2は、植物性バイオマスに粉炭、黒鉛等を混合した成形品に、マイクロ波を照射することにより、未炭化、黒炭化、白炭化等物の所望の程度まで熱処理できる技術を開示している。しかしながら、特許文献2の方法だと、木質ペレットから発生したタールなどの高温のガスが、常温に近いマイクロ波発生装置の筐体の内壁面に付着するため、装置の定期的な清掃及びメンテナンスが必要であり、生産性に改善の余地がある。また、大量の木質ペレットに対して、マイクロ波を均一に照射することが難しいため、量産化が難しいといった問題がある。
【0007】
非特許文献2は、半導体式のマイクロ波発振器を用いて高度に制御したマイクロ波を用いることにより、熱媒体を使用せずにマイクロ波のエネルギーをバイオマスに直接伝送することで、最大毎秒330 ℃でバイオマス原料(稲わら)を超急速に昇温する炭化技術を開示している。しかし、半導体式のマイクロ波発振器は、マグネトロン式と比較すると非常に高価であり、また、炉体が小さいため一度に少量しか炭化処理できないといった課題がある。
【先行技術文献】
【特許文献】
【0008】
特許第7292626号公報
特許第5474236号公報
【非特許文献】
【0009】
出光興産株式会社ニュースリリース,“ベトナムにブラックペレット(商品名:「出光グリーンエナジーペレット」)の商業製造プラントを建設 日本の石炭需要家のCO2削減に貢献。3年以内にブラックペレットの供給拠点を拡大し年産30万トンへ”,[online],2021年10月21日,[2024年3月3日検索],インターネット(URL:https://www.idemitsu.com./jp/news/2021/211021.html)
Tsubaki,S.,他5名,Green Chemistry.(英),2020, 22, 2, p.342-351
【発明の概要】
【発明が解決しようとする課題】
【0010】
本発明は、以上のような従来のマイクロ波炭化技術の欠点を鑑み、新規発想のもとに、炭化ペレットを、効率的かつ安価に生産することができる製炭方法を提供することを目的とする。
【課題を解決するための手段】
(【0011】以降は省略されています)
この特許をJ-PlatPat(特許庁公式サイト)で参照する
関連特許
合同会社双晶
製炭方法
3日前
合同会社双晶
製炭方法
3日前
株式会社ユシロ
潤滑剤組成物
11日前
東ソー株式会社
芳香族化合物の製造方法
1か月前
NTN株式会社
転がり軸受
19日前
株式会社Move up
凹凸形状の固形着火剤
21日前
有限会社ジャパンガスセパレーション
メタンガス発生装置
25日前
一般財団法人電力中央研究所
ガス精製システム
21日前
出光興産株式会社
潤滑油組成物
11日前
株式会社ユシロ
金属加工用潤滑剤組成物
10日前
本田技研工業株式会社
液体燃料の製造方法
11日前
本田技研工業株式会社
液体燃料の製造方法
10日前
株式会社神鋼環境ソリューション
搬送装置
10日前
三浦工業株式会社
ガス化装置
6日前
ENEOS株式会社
グリース組成物
13日前
三菱重工業株式会社
炭化炉及びその制御方法
10日前
JFEスチール株式会社
コークス炉の補修方法
1か月前
コスモ石油株式会社
航空燃料油
11日前
出光興産株式会社
潤滑油基油
11日前
出光興産株式会社
再生絶縁油の製造方法
10日前
コスモ石油株式会社
航空燃料油
11日前
株式会社神鋼環境ソリューション
炭化物製造設備
10日前
出光興産株式会社
潤滑油組成物
21日前
出光興産株式会社
潤滑油組成物
21日前
出光興産株式会社
潤滑油組成物
11日前
JFEスチール株式会社
コークス炉の補修方法
18日前
桐生瓦斯株式会社
メタン含有ガスの製造方法およびその製造装置
21日前
コスモ石油株式会社
ガード触媒の評価方法
13日前
株式会社Gpower
バイオマス発電システム
21日前
コスモ石油ルブリカンツ株式会社
潤滑油組成物
10日前
コスモ石油ルブリカンツ株式会社
潤滑油組成物
10日前
本田技研工業株式会社
燃料製造方法、及び燃料製造システム
24日前
協同油脂株式会社
非延焼性グリース組成物
11日前
コスモ石油ルブリカンツ株式会社
グリース組成物
13日前
コスモ石油ルブリカンツ株式会社
グリース組成物
11日前
株式会社フジタ
バイオガス改質システム
17日前
続きを見る
他の特許を見る