TOP
|
特許
|
意匠
|
商標
特許ウォッチ
Twitter
他の特許を見る
公開番号
2025155202
公報種別
公開特許公報(A)
公開日
2025-10-14
出願番号
2024058878
出願日
2024-04-01
発明の名称
ガス化装置
出願人
三浦工業株式会社
代理人
弁理士法人酒井国際特許事務所
主分類
C10L
3/08 20060101AFI20251006BHJP(石油,ガスまたはコークス工業;一酸化炭素を含有する工業ガス;燃料;潤滑剤;でい炭)
要約
【課題】燃料の生成において温室効果ガスの排出を抑制すること。
【解決手段】ガス化装置1は、液体バイオ燃料と水素ガスとが混合された混合物を生成する混合器4と、反応温度において混合物からメタンガスを生成する触媒を含む反応器5と、を備える。
【選択図】図1
特許請求の範囲
【請求項1】
液体バイオ燃料と水素ガスとが混合された混合物を生成する混合器と、
反応温度において前記混合物からメタンガスを生成する触媒を含む反応器と、を備える、
ガス化装置。
続きを表示(約 420 文字)
【請求項2】
前記反応器において生成された前記メタンガスを含む生成物を冷媒と熱交換する熱交換器を備える、
請求項1に記載のガス化装置。
【請求項3】
前記熱交換器において、前記液体バイオ燃料の蒸気が凝縮され、
前記凝縮により生成された前記液体バイオ燃料を前記混合器に戻すポンプを備える、
請求項2に記載のガス化装置。
【請求項4】
前記熱交換器から送出された前記メタンガスが流れるガスラインと、
前記ガスラインを流れる水素ガスを検出する水素センサと、
前記水素センサの検出データに基づいて、前記混合器に供給される水素ガスの量を調整する調整器と、を備える、
請求項2に記載のガス化装置。
【請求項5】
前記調整器は、前記水素センサにより前記水素ガスが検出されるように、前記水素ガスの量を調整する、
請求項4に記載のガス化装置。
発明の詳細な説明
【技術分野】
【0001】
本明細書で開示する技術は、ガス化装置に関する。
続きを表示(約 800 文字)
【背景技術】
【0002】
ガス化装置に係る技術分野において、特許文献1に開示されているようなガス化装置が知られている。
【先行技術文献】
【特許文献】
【0003】
特表2011-510115号公報
【発明の概要】
【発明が解決しようとする課題】
【0004】
地球温暖化防止の観点から温室効果ガスの排出を抑制することが要望される。例えばボイラの燃料の生成において温室効果ガスの排出を抑制できる技術が要望される。
【0005】
本明細書で開示する技術は、燃料の生成において温室効果ガスの排出を抑制することを目的とする。
【課題を解決するための手段】
【0006】
本明細書は、ガス化装置を開示する。ガス化装置は、液体バイオ燃料と水素ガスとが混合された混合物を生成する混合器と、反応温度において混合物からメタンガスを生成する触媒を含む反応器と、を備える。
【発明の効果】
【0007】
本明細書で開示する技術によれば、燃料の生成において温室効果ガスの排出を抑制することができる。
【図面の簡単な説明】
【0008】
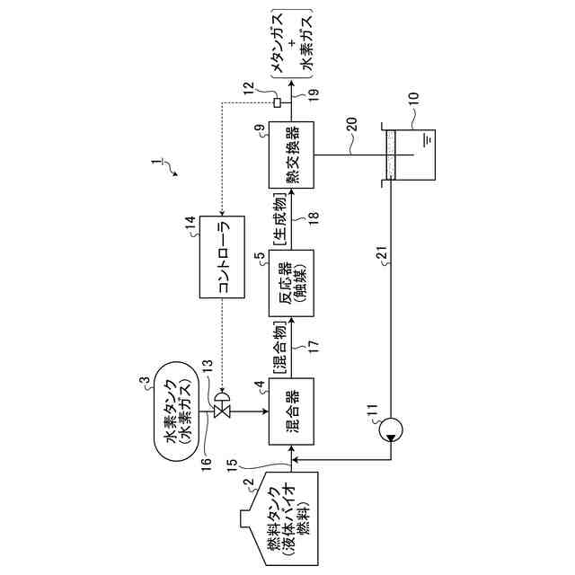
図1は、実施形態に係るガス化装置を模式的に示す図である。
【発明を実施するための形態】
【0009】
以下、本開示に係る実施形態について図面を参照しながら説明するが、本開示は実施形態に限定されない。
【0010】
図1は、実施形態に係るガス化装置1を模式的に示す図である。ガス化装置1は、水素ガスを用いて液体バイオ燃料をガス化して、メタンガスを生成する。ガス化装置1において生成されたメタンガスは、例えばボイラの燃料に使用される。
(【0011】以降は省略されています)
この特許をJ-PlatPat(特許庁公式サイト)で参照する
関連特許
三浦工業株式会社
燃焼装置
10日前
三浦工業株式会社
貫流ボイラ
1日前
三浦工業株式会社
ガス化装置
4日前
三浦工業株式会社
劣化検出装置
15日前
三浦工業株式会社
汚泥減容方法
16日前
三浦工業株式会社
台数制御装置
15日前
三浦工業株式会社
洗浄システム
1か月前
三浦工業株式会社
燃焼システム
8日前
三浦工業株式会社
二重管接続構造
9日前
三浦工業株式会社
ウエスコポンプ
8日前
三浦工業株式会社
水蒸気発生装置
8日前
三浦工業株式会社
水素燃焼ボイラ
1か月前
三浦工業株式会社
汚泥減容システム
8日前
三浦工業株式会社
水素貯蔵供給装置
4日前
三浦工業株式会社
熱媒供給システム
22日前
三浦工業株式会社
船舶用発電システム
15日前
三浦工業株式会社
ヒータ装置及び貫流ボイラ
1か月前
三浦工業株式会社
燃焼装置、アンモニア評価方法
1日前
東京瓦斯株式会社
電力供給システム
8日前
メタウォーター株式会社
焼却システム及び燃焼制御方法
29日前
メタウォーター株式会社
焼却システム及び熱媒供給制御方法
29日前
合同会社双晶
製炭方法
1日前
株式会社ユシロ
潤滑剤組成物
9日前
株式会社Move up
凹凸形状の固形着火剤
19日前
NTN株式会社
転がり軸受
17日前
有限会社ジャパンガスセパレーション
メタンガス発生装置
23日前
株式会社ユシロ
金属加工用潤滑剤組成物
8日前
一般財団法人電力中央研究所
ガス精製システム
19日前
出光興産株式会社
潤滑油組成物
9日前
本田技研工業株式会社
液体燃料の製造方法
9日前
ENEOS株式会社
グリース組成物
11日前
本田技研工業株式会社
液体燃料の製造方法
8日前
三浦工業株式会社
ガス化装置
4日前
株式会社神鋼環境ソリューション
搬送装置
8日前
三菱重工業株式会社
炭化炉及びその制御方法
8日前
出光興産株式会社
潤滑油基油
9日前
続きを見る
他の特許を見る