TOP
|
特許
|
意匠
|
商標
特許ウォッチ
Twitter
他の特許を見る
公開番号
2025144925
公報種別
公開特許公報(A)
公開日
2025-10-03
出願番号
2024044847
出願日
2024-03-21
発明の名称
バイオガス改質システム
出願人
株式会社フジタ
代理人
弁理士法人高橋・林アンドパートナーズ
主分類
C10L
3/06 20060101AFI20250926BHJP(石油,ガスまたはコークス工業;一酸化炭素を含有する工業ガス;燃料;潤滑剤;でい炭)
要約
【課題】メタン発酵型バイオガスから効率的に二酸化炭素を除去するバイオガス改質システムを提供すること。
【解決手段】バイオガス改質システムは、吸着材を含むフィルタ層を有するバイオガス改質装置と、前記バイオガス改質装置に第1移送路及び第2移送路を介して連結された流動床式焼却炉と、を備え、前記第1移送路は、前記バイオガス改質装置から前記流動床式焼却炉に前記吸着材を移送し、前記第2移送路は、前記流動床式焼却炉から前記バイオガス改質装置に前記吸着材を移送する。
【選択図】図1
特許請求の範囲
【請求項1】
吸着材を含むフィルタ層を有するバイオガス改質装置と、
前記バイオガス改質装置に第1移送路及び第2移送路を介して連結された流動床式焼却炉と、を備え、
前記第1移送路は、前記バイオガス改質装置から前記流動床式焼却炉に前記吸着材を移送し、
前記第2移送路は、前記流動床式焼却炉から前記バイオガス改質装置に前記吸着材を移送する、バイオガス改質システム。
続きを表示(約 810 文字)
【請求項2】
前記第1移送路によって前記流動床式焼却炉に移送された前記吸着材は、前記流動床式焼却炉の内部に充填された流動媒体に混入される、請求項1に記載のバイオガス改質システム。
【請求項3】
前記第2移送路によって前記流動床式焼却炉から移送された前記吸着材は、前記バイオガス改質システムの前記フィルタ層に混入される、請求項2に記載のバイオガス改質システム。
【請求項4】
前記第2移送路は、前記フィルタ層よりも高い位置に設けられている、請求項1乃至3のいずれか一項に記載のバイオガス改質システム。
【請求項5】
前記流動床式焼却炉は、前記第2移送路よりも高い位置に、燃焼ガスの移動経路を変更する遮蔽プレートが設けられている、請求項1乃至3のいずれか一項に記載のバイオガス改質システム。
【請求項6】
前記バイオガス改質装置は、前記フィルタ層の下方に配置された振動プレートをさらに含む、請求項1乃至3のいずれか一項に記載のバイオガス改質システム。
【請求項7】
前記振動プレートは、前記第1移送路に近いほど下方に位置するように傾斜して配置されている、請求項6に記載のバイオガス改質システム。
【請求項8】
前記バイオガス改質装置は、装置本体の内部にアルカリ反応液を噴射する反応液噴射部を含む、請求項1乃至3のいずれか一項に記載のバイオガス改質システム。
【請求項9】
前記第1移送路及び前記第2移送路は、ダブルフラップダンパを有する、請求項1乃至3のいずれか一項に記載のバイオガス改質システム。
【請求項10】
前記第2移送路に連結され、前記流動床式焼却炉の内部で生成された燃焼ガスを外部に排気する排気ファンをさらに備える、請求項1乃至3のいずれか一項に記載のバイオガス改質システム。
発明の詳細な説明
【技術分野】
【0001】
本発明の一実施形態は、バイオガス改質システムに関する。
続きを表示(約 1,400 文字)
【背景技術】
【0002】
従来、メタン発酵型バイオガス(以下、単に「バイオガス」と呼ぶ。)からエネルギーを回収する発電プラントが知られている。バイオガスは、60%前後のメタンと40%前後の二酸化炭素を主成分とする組成で構成され、生ごみ等の有機廃棄物を発酵させることにより生成することができる。前述の発電プラントでは、バイオガスの熱量を利用して発電を行うが、バイオガスの熱量は都市ガスに比べて低く、エネルギーの回収効率が悪いという問題がある。このような問題に鑑み、バイオガスの熱量を高めるために、バイオガスに含まれる二酸化炭素を除去し、メタン濃度を高める技術が知られている。例えば、特許文献1には、分離膜処理を用いてバイオガスからメタンを濃縮して回収するバイオガスのメタン濃縮方法が開示されている。
【先行技術文献】
【特許文献】
【0003】
特開2013-095727号公報
【発明の概要】
【発明が解決しようとする課題】
【0004】
上記従来技術によるメタン濃縮方法では、二酸化炭素の除去に多段式の分離膜を用いているが、分離膜は基本的に消耗品であり、劣化した分離膜は都度交換しなければならない。そのため、従来のメタン濃縮方法を用いた装置は、運転コストが高くなってしまうという問題があった。また、従来の分離膜を用いたメタン濃縮方法は、分離膜に対してバイオガスを加圧供給するために高圧コンプレッサを用いており、そのような設備を要することも装置コストの低減及び小型化を妨げる要因となっていた。
【0005】
本発明の課題の一つは、メタン発酵型バイオガスから効率的に二酸化炭素を除去するバイオガス改質システムを提供することにある。また、本発明の他の課題の一つは、メタン発酵型バイオガスから効率的に窒素酸化物を除去するバイオガス改質システムを提供することにある。
【課題を解決するための手段】
【0006】
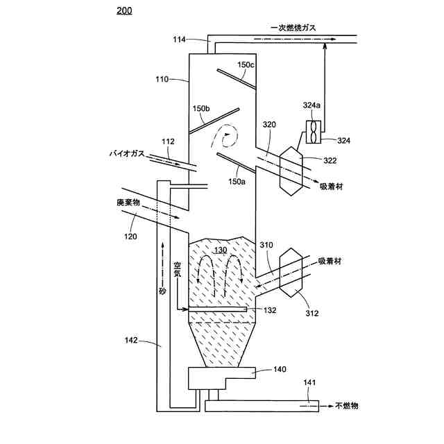
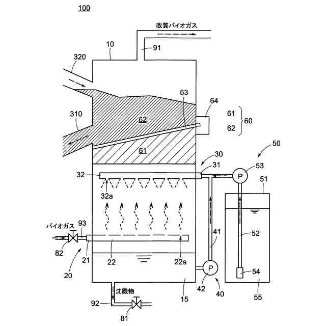
本発明の一実施形態におけるバイオガス改質システムは、吸着材を含むフィルタ層を有するバイオガス改質装置と、前記バイオガス改質装置に第1移送路及び第2移送路を介して連結された流動床式焼却炉と、を備え、前記第1移送路は、前記バイオガス改質装置から前記流動床式焼却炉に前記吸着材を移送し、前記第2移送路は、前記流動床式焼却炉から前記バイオガス改質装置に前記吸着材を移送する。
【0007】
上記バイオガス改質システムにおいて、前記第1移送路によって前記流動床式焼却炉に移送された前記吸着材は、前記流動床式焼却炉の内部に充填された流動媒体に混入されてもよい。
【0008】
上記バイオガス改質システムにおいて、前記第2移送路によって前記流動床式焼却炉から移送された前記吸着材は、前記バイオガス改質システムの前記フィルタ層に混入されてもよい。
【0009】
上記バイオガス改質システムにおいて、前記第2移送路は、前記フィルタ層よりも高い位置に設けられていてもよい。
【0010】
上記バイオガス改質システムにおいて、前記流動床式焼却炉は、前記第2移送路よりも高い位置に、燃焼ガスの移動経路を変更する遮蔽プレートが設けられていてもよい。
(【0011】以降は省略されています)
この特許をJ-PlatPat(特許庁公式サイト)で参照する
関連特許
株式会社フジタ
保護具
今日
株式会社フジタ
合成床
19日前
株式会社フジタ
掘削機
28日前
株式会社フジタ
合成床
7日前
株式会社フジタ
制振装置
19日前
株式会社フジタ
制振装置
19日前
株式会社フジタ
緑化装置
5日前
株式会社フジタ
水処理装置
9日前
株式会社フジタ
ビス打ち装置
6日前
株式会社フジタ
木質建築部材
9日前
株式会社フジタ
昇降システム
29日前
株式会社フジタ
昇降システム
1か月前
株式会社フジタ
昇降システム
1か月前
株式会社フジタ
センサユニット
6日前
株式会社フジタ
状態評価システム
29日前
株式会社フジタ
情報取得システム
9日前
株式会社フジタ
コンクリート構造物
20日前
株式会社フジタ
エネルギーシステム
19日前
株式会社フジタ
駐車場緑化システム
5日前
株式会社フジタ
バイオガス改質装置
5日前
株式会社フジタ
木質梁と床の取合構造
20日前
株式会社フジタ
建築物とその施工方法
2か月前
株式会社フジタ
地質性状予測システム
今日
株式会社フジタ
環境音快音化システム
1か月前
株式会社フジタ
建築物とその施工方法
19日前
株式会社フジタ
エネルギー制御システム
19日前
株式会社フジタ
バイオガス改質システム
5日前
株式会社フジタ
二酸化炭素分離回収供給装置
28日前
株式会社フジタ
二酸化炭素分離回収供給装置
28日前
株式会社フジタ
柱梁接合構造とその施工方法
2か月前
株式会社フジタ
床衝撃音レベル予測システム
9日前
株式会社フジタ
荷物昇降装置用の荷物載置機構
5日前
株式会社フジタ
荷重計測装置および昇降システム
1か月前
株式会社フジタ
昆虫および昆虫の幼虫の飼育装置
1日前
大和ハウス工業株式会社
制振装置
19日前
株式会社明電舎
電力系統システム
9日前
続きを見る
他の特許を見る