TOP
|
特許
|
意匠
|
商標
特許ウォッチ
Twitter
他の特許を見る
10個以上の画像は省略されています。
公開番号
2025159348
公報種別
公開特許公報(A)
公開日
2025-10-20
出願番号
2025005712
出願日
2025-01-15
発明の名称
端末及び通信方法
出願人
株式会社NTTドコモ
代理人
弁理士法人ITOH
主分類
H04W
72/1268 20230101AFI20251010BHJP(電気通信技術)
要約
【課題】無線通信システムにおいて、上りリンクの容量を増大させる。
【解決手段】端末において、繰り返しあり又は繰り返しなしのPUCCH(Physical Uplink Shared Channel)と、OCC(Orthogonal Cover Code)を適用したPUSCHとがオーバラップする場合に、前記PUCCHで運ばれるUCI(Uplink Control Information)のタイプに基づいて、前記UCIを前記PUSCHに多重するか否かを決定する制御部と、前記UCIを前記PUSCHに多重すると決定された場合に、前記UCIを多重した前記PUSCHを基地局に送信する送信部と備える。
【選択図】図10
特許請求の範囲
【請求項1】
繰り返しあり又は繰り返しなしのPUCCH(Physical Uplink Shared Channel)と、OCC(Orthogonal Cover Code)を適用したPUSCHとがオーバラップする場合に、前記PUCCHで運ばれるUCI(Uplink Control Information)のタイプに基づいて、前記UCIを前記PUSCHに多重するか否かを決定する制御部と、
前記UCIを前記PUSCHに多重すると決定された場合に、前記UCIを多重した前記PUSCHを基地局に送信する送信部と
を備える端末。
続きを表示(約 1,300 文字)
【請求項2】
繰り返しあり又は繰り返しなしのPUCCH(Physical Uplink Shared Channel)と、OCC(Orthogonal Cover Code)を適用したPUSCHとがオーバラップする場合に、前記PUSCHの内容に基づいて、前記PUCCHで運ばれるUCI(Uplink Control Information)を前記PUSCHに多重するか否かを決定する制御部と、
前記UCIを前記PUSCHに多重すると決定された場合に、前記UCIを多重した前記PUSCHを基地局に送信する送信部と
を備える端末。
【請求項3】
繰り返しありのPUCCH(Physical Uplink Shared Channel)における繰り返しの全部が、同一のOCC(Orthogonal Cover Code)グループを適用した繰り返しありのPUSCHにオーバラップする場合に、前記PUCCHで運ばれるUCI(Uplink Control Information)を前記PUSCHに多重することを決定する制御部と、
前記UCIを多重した前記PUSCHを基地局に送信する送信部と
を備える端末。
【請求項4】
繰り返しありのPUCCH(Physical Uplink Shared Channel)における全部の繰り返しのうちの一部のみが、OCC(Orthogonal Cover Code)グループを適用した繰り返しありのPUSCHにオーバラップする場合に、前記PUCCHで運ばれるUCI(Uplink Control Information)を前記PUSCHに多重しないことを決定する制御部と、
前記繰り返しの一部であるPUCCHとオーバラップするPUSCHをドロップする送信部と
を備える端末。
【請求項5】
繰り返しありのPUCCH(Physical Uplink Shared Channel)における少なくとも1つの繰り返しが、OCC(Orthogonal Cover Code)グループを適用した繰り返しありのPUSCHにおける最初の繰り返しにオーバラップする場合に、前記PUCCHで運ばれるUCI(Uplink Control Information)を前記PUSCHに多重することを決定する制御部と、
前記UCIを多重した前記PUSCHを基地局に送信する送信部と
を備える端末。
【請求項6】
繰り返しあり又は繰り返しなしのPUCCH(Physical Uplink Shared Channel)と、OCC(Orthogonal Cover Code)を適用したPUSCHとがオーバラップする場合に、前記PUCCHで運ばれるUCI(Uplink Control Information)のタイプに基づいて、前記UCIを前記PUSCHに多重するか否かを決定するステップと、
前記UCIを前記PUSCHに多重すると決定された場合に、前記UCIを多重した前記PUSCHを基地局に送信するステップと
を備える、端末が実行する通信方法。
発明の詳細な説明
【技術分野】
【0001】
本発明は、無線通信システムにおける端末及び通信方法に関する。
続きを表示(約 2,100 文字)
【背景技術】
【0002】
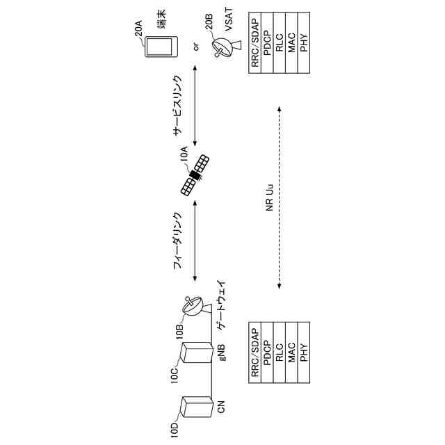
LTE(Long Term Evolution)の後継システムであるNR(New Radio)(「5G」ともいう。)においては、要求条件として、大容量のシステム、高速なデータ伝送速度、低遅延、多数の端末の同時接続、低コスト、省電力等を満たす技術が検討されている。
【0003】
また現在、NTN(Non-Terrestrial Network)が検討されている。NTNとは、衛星等の非地上型ネットワークを使用して、地上型5Gネットワークでは主にコスト面でカバーできないエリアにサービスを提供するものである。
【先行技術文献】
【非特許文献】
【0004】
3GPP TS 38.211 V18.5.0 (2024-12)
3GPP TS 38.213 V18.5.0 (2024-12)
【発明の概要】
【発明が解決しようとする課題】
【0005】
NTNでは、上空の基地局と端末間の距離が非常に大きく、基地局のリソースが限られるため、UL(Uplink)の容量及びスループットの強化が必要である。そこで、OCC(Orthogonal Cover Code)をDFT-s-OFDM(Discrete fourier transform spread Orthogonal Frequency Division Multiplexing)のPUSCH(Physical Uplink Shared Channel)送信に適用する手法が検討されている。
【0006】
本発明は上記の点に鑑みてなされたものであり、無線通信システムにおいて、上りリンクの容量を増大させることを目的とする。
【課題を解決するための手段】
【0007】
開示の技術によれば、繰り返しあり又は繰り返しなしのPUCCH(Physical Uplink Shared Channel)と、OCC(Orthogonal Cover Code)を適用したPUSCHとがオーバラップする場合に、前記PUCCHで運ばれるUCI(Uplink Control Information)のタイプに基づいて、前記UCIを前記PUSCHに多重するか否かを決定する制御部と、
前記UCIを前記PUSCHに多重すると決定された場合に、前記UCIを多重した前記PUSCHを基地局に送信する送信部と
を備える端末が提供される。
【発明の効果】
【0008】
開示の技術によれば、無線通信システムにおいて、上りリンクの容量を増大させることができる。
【図面の簡単な説明】
【0009】
NTNの例(1)を示す図である。
NTNの例(2)を示す図である。
NTNの例(3)を示す図である。
NTNの例(4)を示す図である。
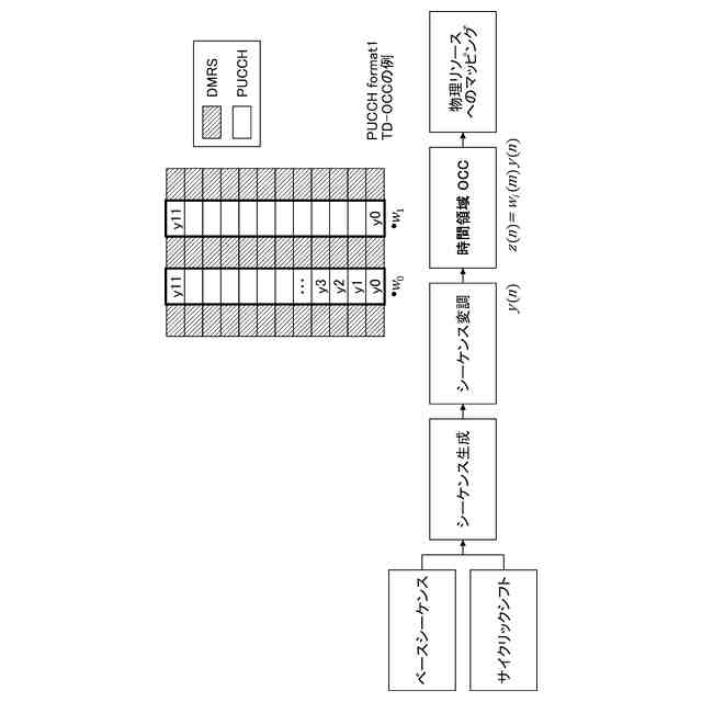
OCCの例(1)を示す図である。
OCCの例(2)を示す図である。
OCCの例(3)を示す図である。
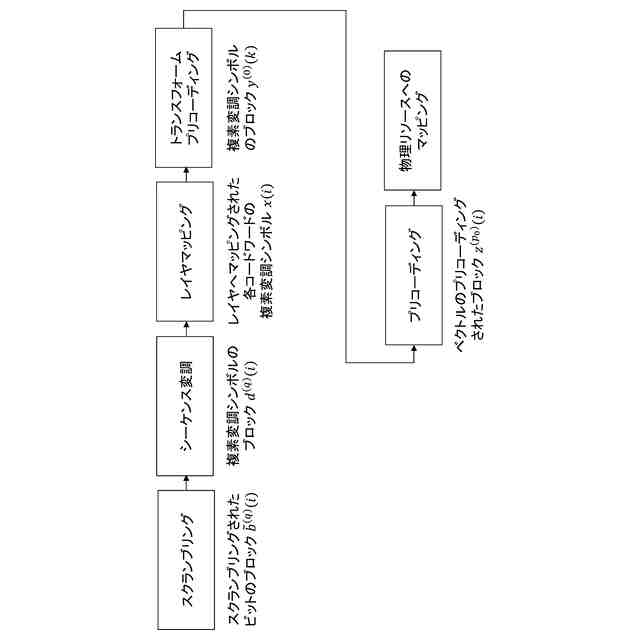
PUSCHの信号生成の例を示す図である。
第1実施形態(及び第2実施形態)におけるPUSCH送信の例を説明するためのフローチャートである。
第2実施形態におけるPUSCH送信の例(1)を示す図である。
第2実施形態におけるPUSCH送信の例(2)を示す図である。
第2実施形態におけるPUSCH送信の例(3)を示す図である。
第2実施形態におけるPUSCH送信の例(4)を示す図である。
第2実施形態におけるPUSCH送信の例(5)を示す図である。
第3実施形態におけるPUSCH送信の例を説明するためのフローチャートである。
第3実施形態におけるPUSCH送信の例(1)を示す図である。
第3実施形態の形態におけるPUSCH送信の例(2)を示す図である。
第3実施形態の形態におけるPUSCH送信の例(3)を示す図である。
第3実施形態の形態におけるPUSCH送信の例(4)を示す図である。
第3実施形態の形態におけるPUSCH送信の例(5)を示す図である。
第3実施形態の形態におけるPUSCH送信の例(6)を示す図である。
本発明の実施の形態における基地局10の機能構成の一例を示す図である。
端末20の機能構成の一例を示す図である。
基地局10又は端末20のハードウェア構成の一例を示す図である。
車両2001の構成の一例を示す図である。
【発明を実施するための形態】
【0010】
以下、図面を参照して本発明の実施の形態を説明する。なお、以下で説明する実施の形態は一例であり、本発明が適用される実施の形態は、以下の実施の形態に限られない。
(【0011】以降は省略されています)
特許ウォッチbot のツイートを見る
この特許をJ-PlatPat(特許庁公式サイト)で参照する
関連特許
株式会社NTTドコモ
端末
11日前
株式会社NTTドコモ
端末
10日前
株式会社NTTドコモ
端末
11日前
株式会社NTTドコモ
端末
10日前
株式会社NTTドコモ
端末
11日前
株式会社NTTドコモ
端末
10日前
株式会社NTTドコモ
端末
10日前
株式会社NTTドコモ
端末
10日前
株式会社NTTドコモ
端末
11日前
株式会社NTTドコモ
基地局
10日前
株式会社NTTドコモ
デバイス
11日前
株式会社NTTドコモ
デバイス
10日前
株式会社NTTドコモ
デバイス
11日前
株式会社NTTドコモ
デバイス
10日前
株式会社NTTドコモ
デバイス
11日前
株式会社NTTドコモ
デバイス
11日前
株式会社NTTドコモ
デバイス
10日前
株式会社NTTドコモ
情報処理装置
3日前
株式会社NTTドコモ
装置及び方法
8日前
株式会社NTTドコモ
基地局及び端末
10日前
株式会社NTTドコモ
端末及び基地局
10日前
株式会社NTTドコモ
端末及び基地局
10日前
株式会社NTTドコモ
基地局及び端末
10日前
株式会社NTTドコモ
端末及び基地局
10日前
株式会社NTTドコモ
端末及び通信方法
11日前
株式会社NTTドコモ
端末及び通信方法
10日前
株式会社NTTドコモ
端末及び通信方法
11日前
株式会社NTTドコモ
端末及び通信方法
11日前
株式会社NTTドコモ
端末及び通信方法
11日前
株式会社NTTドコモ
端末及び通信方法
11日前
株式会社NTTドコモ
端末及び通信方法
11日前
株式会社NTTドコモ
端末及び通信方法
11日前
株式会社NTTドコモ
端末及び通信方法
10日前
株式会社NTTドコモ
端末及び通信方法
10日前
株式会社NTTドコモ
端末及び通信方法
11日前
株式会社NTTドコモ
端末及び通信方法
11日前
続きを見る
他の特許を見る