TOP
|
特許
|
意匠
|
商標
特許ウォッチ
Twitter
他の特許を見る
10個以上の画像は省略されています。
公開番号
2025151145
公報種別
公開特許公報(A)
公開日
2025-10-09
出願番号
2024052415
出願日
2024-03-27
発明の名称
車載システム
出願人
株式会社デンソー
代理人
個人
,
個人
主分類
H04W
52/24 20090101AFI20251002BHJP(電気通信技術)
要約
【課題】無線通信を利用して動作する車載装置の状態などに応じて、無線通信システムの無線通信のモードを変更することにより、無線通信システムにおける通信信頼性を担保しつつ、省電力化を図る。
【解決手段】無線通信システム10が、少なくとも、通信信頼性を高めた信頼性モードと、消費電力を抑制する省電力モードと、を含む複数のモードにて無線通信を実行することが可能に構成される。そして、無線通信システムは、車載装置1、2、3からモード設定関連情報を取得し、取得したモード設定関連情報に基づいて、複数のモードの中から、無線通信を実行する際のモードを設定する。
【選択図】図1
特許請求の範囲
【請求項1】
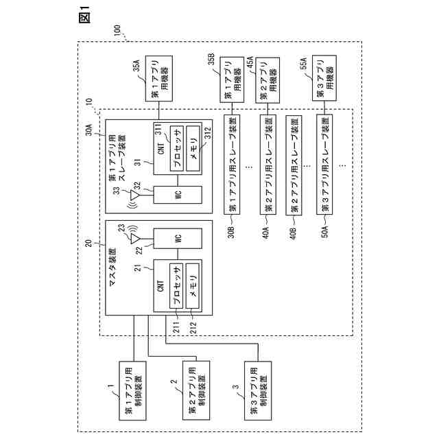
マスタノード(20)とスレーブノード(30A、30B、40A、40B、50A)との間で無線通信を実行する無線通信システム(10)と、
前記無線通信システムによる無線通信を利用して動作する車載装置(1、2、3、35A、35B、45A、55A)と、を備え、
前記無線通信システムは、少なくとも、通信信頼性を高めた信頼性モードと、消費電力を抑制する省電力モードとを含む複数のモードにて、無線通信を実行することが可能であり、
前記無線通信システムは、前記車載装置から取得したモード設定関連情報に基づいて、前記複数のモードの中から、無線通信のモードを設定する、車載システム。
続きを表示(約 2,200 文字)
【請求項2】
前記無線通信システムは、複数の通信チャネルから順次に選択される1つの通信チャネルを介して、無線通信を実行するものであり、
前記無線通信システムは、前記信頼性モードにて無線通信を実行する際、前記複数の通信チャネルごとの通信品質を示す通信品質データに基づいて、前記複数の通信チャネルから通信品質が低下した通信チャネルを除外した後の複数の通信チャネルを示すチャネルマップを作成し、前記チャネルマップによって示される無線通信に使用可能な前記複数の通信チャネルから無線通信に使用する通信チャネルが選択されるようにする通信チャネル制御を実行する、請求項1に記載の車載システム。
【請求項3】
前記無線通信システムは、前記省電力モードにて無線通信を実行する際、前記チャネルマップによって示される無線通信に使用可能な前記複数の通信チャネルでのそれぞれの通信品質データに基づいて、前記チャネルマップによって示される無線通信に使用可能な前記複数の通信チャネルでの送信電力を制御する送信電力制御を実行する、請求項2に記載の車載システム。
【請求項4】
前記無線通信システムは、複数の通信チャネルから順次に選択される1つの通信チャネルを介して、無線通信を実行するものであり、
前記複数のモードには、前記複数の通信チャネルごとの通信品質を示す通信品質データに基づいて、前記複数の通信チャネルから通信品質が低下した通信チャネルを除外した後の複数の通信チャネルを示すチャネルマップを作成し、前記チャネルマップによって示される無線通信に使用可能な前記複数の通信チャネルから、無線通信に使用する通信チャネルが選択されるようにする通信チャネル制御と、前記チャネルマップによって示される無線通信に使用可能な前記複数の通信チャネルでのそれぞれの通信品質データに基づいて、前記チャネルマップによって示される無線通信に使用可能な前記複数の通信チャネルでの送信電力を制御する送信電力制御と、の両方を実行するバランスモードが含まれる、請求項1乃至3のいずれか1項に記載の車載システム。
【請求項5】
前記無線通信システムは、前記車載装置から前記モード設定関連情報を取得しない場合、初期的に、前記バランスモードを設定する、請求項4に記載の車載システム。
【請求項6】
前記信頼性モードには、前記複数の通信チャネルごとの通信品質を示す通信品質データに基づいて、前記複数の通信チャネルから通信品質が低下した通信チャネルを除外した後の複数の通信チャネルを示すチャネルマップを作成し、前記チャネルマップによって示される無線通信に使用可能な前記複数の通信チャネルから無線通信に使用する通信チャネルが選択されるようにする通信チャネル制御と、前記チャネルマップによって示される無線通信に使用可能な前記複数の通信チャネルでのそれぞれの通信品質データに基づいて、通信チャネルでの送信電力が前記バランスモードでの送信電力の低下量よりも小さい範囲で低下するように、前記チャネルマップによって示される無線通信に使用可能な前記複数の通信チャネルでの送信電力を制御する送信電力制御と、の両方を実行する信頼性重視バランスモードが含まれる、請求項4に記載の車載システム。
【請求項7】
前記省電力モードには、前記複数の通信チャネルごとの通信品質を示す通信品質データに基づいて、前記複数の通信チャネルから通信品質が低下した通信チャネルを除外した後の複数の通信チャネルを示すチャネルマップを作成し、前記チャネルマップによって示される無線通信に使用可能な前記複数の通信チャネルから無線通信に使用する通信チャネルが選択されるようにする通信チャネル制御と、前記チャネルマップによって示される無線通信に使用可能な前記複数の通信チャネルでのそれぞれの通信品質データに基づいて、通信チャネルでの送信電力が前記バランスモードでの送信電力の低下量よりも大きい範囲で低下するように、前記チャネルマップによって示される無線通信に使用可能な前記複数の通信チャネルでの送信電力を制御する送信電力制御と、の両方を実行する省電力重視バランスモードが含まれる、請求項4に記載の車載システム。
【請求項8】
前記無線通信システムは、前記チャネルマップによって示される無線通信に使用可能な前記複数の通信チャネルでのそれぞれの通信品質を示す通信品質データに基づいて、各モードでの送信電力の調整範囲において、送信電力を制御する、請求項4に記載の車載システム。
【請求項9】
前記無線通信システムは、前記車載装置から取得するモード設定関連情報に基づいて無線通信のモードが設定されない場合、前記チャネルマップによって示される無線通信に使用可能な前記複数の通信チャネルでのそれぞれの通信品質を示す通信品質データに基づいて、各モード間を遷移しての、送信電力の制御を許容する、請求項4に記載の車載システム。
【請求項10】
前記無線通信システムは、前記車載装置から、前記モード設定関連情報として、車載装置の動作状態が異常であることを示す異常情報を取得した場合、無線通信を実行する際のモードを前記信頼性モードに設定する、請求項1乃至3のいずれか1項に記載の車載システム。
(【請求項11】以降は省略されています)
発明の詳細な説明
【技術分野】
【0001】
本開示は、無線通信システムと車載装置とを備え、車載装置が無線通信システムによる無線通信を利用して動作する車載システムに関する。
続きを表示(約 2,200 文字)
【背景技術】
【0002】
例えば、特許文献1には、複数の電池を監視制御する電池システムが開示されている。電池システムは、マスタ管理装置と、複数の電池モジュールを備える。各電池モジュールは、スレーブ管理装置と電池セルを備える。マスタ管理装置は、スレーブ管理装置へ、電池セルの計測内容、計測タイミング、各スレーブ管理装置の無線通信タイミング、及び無線通信に用いる周波数チャネルの情報を含む監視制御指示信号を送信する。スレーブ管理装置は、電池セルの計測結果と監視制御指示信号の受信状態の情報を含む監視制御結果信号を、指示された周波数チャネルを介して、送信する。
【0003】
マスタ管理装置は、スレーブ管理装置毎、周波数チャネル毎に通信品質を管理する。そして、通信品質が劣化した周波数チャネルは、監視制御指示信号に含まれる周波数チャネルの情報によって、通信品質が劣化していない他の周波数チャネルに変更される。このようにして、監視制御指示信号や監視制御結果信号の通信信頼性を高く維持するようにしている。
【0004】
さらに、特許文献1には、監視制御指示信号や監視制御結果信号の送信電力を増やすことや、周波数チャネルホッピングのホッピングパターンを変更することで、より通信信頼性を高めることができることも記載されている。
【先行技術文献】
【特許文献】
【0005】
国際公開第WO2015/189898A1号公報
【発明の概要】
【発明が解決しようとする課題】
【0006】
上記の特許文献1に記載の電池システムでは、マスタ管理装置とスレーブ管理装置との間で送受信される無線通信信号(監視制御指示信号や監視制御結果信号)の通信信頼性を高めるために、種々の対策を講じている。
【0007】
ここで、無線通信システムを含むシステムが、モータにより駆動される車両において使用される場合、いわゆる電費の悪化を避けるなどのため、バッテリの電力消費を抑えることも重要な観点となる。しかし、特許文献1に記載されるように、無線通信システム(マスタ管理装置とスレーブ管理装置)が、常に通信信頼性を高めるための対策を実施すると、例えば、通信品質の劣化判定処理や周波数チャネルの変更処理のための処理負荷や、無線通信信号の送信電力増大などにより、消費電力が過大になるという問題がある。
【0008】
本開示は、上述した点に鑑みてなされたものであり、無線通信を利用して動作する車載装置の状態などに応じて、無線通信システムの無線通信のモードを変更することにより、無線通信システムにおける通信信頼性を担保しつつ、省電力化を図ることが可能な車載システムを提供することを目的とする。
【課題を解決するための手段】
【0009】
上記目的を達成するために、本開示による車載システム(100)は、
マスタノード(20)とスレーブノード(30A、30B、40A、40B、50A)との間で無線通信を実行する無線通信システム(10)と、
無線通信システムによる無線通信を利用して動作する車載装置(1、2、3、35A、35B、45A、55A)と、を備え、
無線通信システムは、少なくとも、通信信頼性を高めた信頼性モードと、消費電力を抑制する省電力モードとを含む複数のモードにて、無線通信を実行することが可能であり、
無線通信システムは、車載装置から取得したモード設定関連情報に基づいて、複数のモードの中から、無線通信のモードを設定する、ように構成される。
【0010】
例えば、車載装置が電池監視装置であった場合、車両が走行中であるとき、駆動モータへの電力供給、及び回生モータによる電力回生によって、組電池の各電池スタックにて充放電が行われる。その結果、各電池スタックの電圧、電流、温度などが時々刻々と変化する。このため、車両が走行中であるときには、各電池スタックの計測値を遅滞なく把握するため、無線通信システムは、高い通信信頼性にて無線通信を行うことが好ましい。一方、車両が停車していたり、駐車していたりする場合には、各電池スタックの状態の変化は少ないので、車両走行中に比較して、それほど高い通信信頼性は求められない。従って、車両が停車、又は駐車している場合、無線通信の省電力化を図ることが可能である。また、例えば、車載装置がスマートエントリ装置であった場合、車両が駐車している場合に、デジタルキーを携帯したユーザが車両に接近してきたときに、早期かつ確実に、デジタルキーとの通信が行い得るように、無線通信システムは高い通信信頼性にて無線通信を行うことが好ましい。一方、車両が走行を開始した後は、デジタルキーは車室内にあるので、それほど高い通信信頼性は求められず、さらに、距離が近いので、送信電力が高くなくても通信を行うことが可能である。従って、この場合も、無線通信の省電力化を図ることが可能である。さらに、例えば、車載装置になんらかの異常が発生したときには、その異常に関する情報を確実に伝えるために、無線通信システムは、高い通信信頼性にて無線通信を行うことが好ましい。
(【0011】以降は省略されています)
この特許をJ-PlatPat(特許庁公式サイト)で参照する
関連特許
株式会社デンソー
車載器
7日前
株式会社デンソー
電子装置
2日前
株式会社デンソー
ねじ部材
7日前
株式会社デンソー
反力装置
1日前
株式会社デンソー
電子装置
1日前
株式会社デンソー
電子装置
11日前
株式会社デンソーエレクトロニクス
発音装置
11日前
株式会社デンソー
ステータ
7日前
株式会社デンソー
ステータ
7日前
株式会社デンソー
半導体装置
7日前
株式会社デンソー
レーダ装置
11日前
株式会社デンソーテン
インバータ
1日前
株式会社デンソー
農業用装置
3日前
株式会社デンソー
レーダ装置
今日
株式会社デンソーエアクール
換気空調装置
8日前
株式会社デンソーテン
車載映像装置
7日前
株式会社デンソー
電子制御装置
11日前
株式会社デンソー
通信システム
11日前
株式会社デンソー
電気化学セル
11日前
株式会社デンソー
制御システム
14日前
株式会社デンソー
衝突予測装置
2日前
株式会社デンソー
運転支援装置
2日前
株式会社デンソー
衝突予測装置
2日前
株式会社デンソー
電力変換装置
3日前
株式会社デンソー
電力変換装置
7日前
株式会社デンソー
電圧検出回路
3日前
株式会社デンソー
ステータコア
14日前
株式会社デンソー
電力変換装置
15日前
株式会社デンソー
フィルタ回路
15日前
株式会社デンソー
電子制御装置
7日前
株式会社デンソー
車載システム
1日前
株式会社デンソー
車載システム
1日前
株式会社デンソー
運航管理装置
今日
株式会社デンソー
車両制御装置
1日前
株式会社デンソー
電波吸収装置
11日前
株式会社デンソー
圧着ヘッド装置
7日前
続きを見る
他の特許を見る