TOP
|
特許
|
意匠
|
商標
特許ウォッチ
Twitter
他の特許を見る
10個以上の画像は省略されています。
公開番号
2025151592
公報種別
公開特許公報(A)
公開日
2025-10-09
出願番号
2024053102
出願日
2024-03-28
発明の名称
反力装置
出願人
株式会社デンソー
代理人
弁理士法人服部国際特許事務所
主分類
B60K
26/02 20060101AFI20251002BHJP(車両一般)
要約
【課題】ペダル急開放時の衝突音を低減可能な反力装置を提供する。
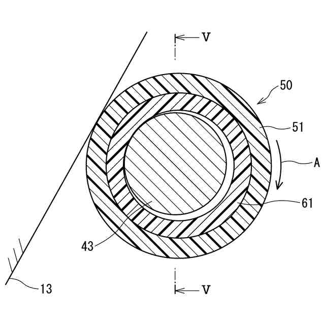
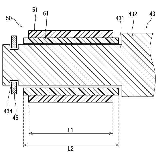
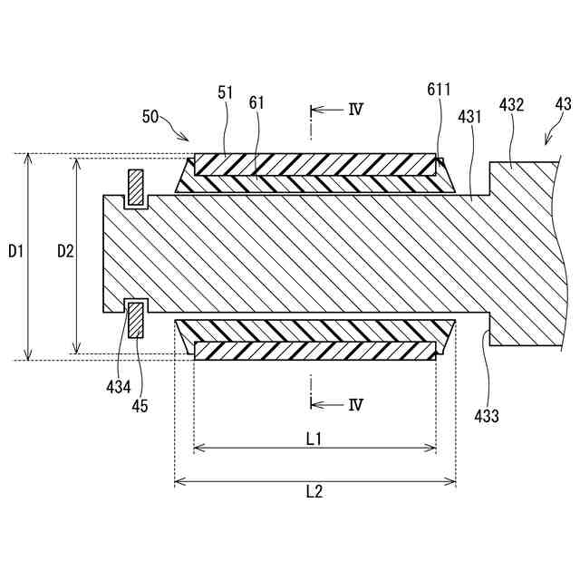
【解決手段】反力装置30は、運転者により踏込操作されるペダル13を備えるアクセル装置10に対して運転者の踏み込み力対する反力を付加可能であって、アクチュエータ35と、反力伝達機構40と、を備える。アクチュエータ35は、通電により駆動力を発生させる。反力伝達機構40は、レバー41、および、緩衝部材50を有する。レバー41は、緩衝部材保持部43を有し、アクチュエータ35に駆動される。緩衝部材50は、緩衝部材保持部43に設けられ、ペダル13と離間可能に当接する。緩衝部材50は、ペダル13と当接する当接部材51、および、当接部材51と緩衝部材保持部43との間に設けられる摺動部材61を有し、ペダル13とレバー41との間で転動可能に設けられている。当接部材51は、摺動部材61より低硬度である。
【選択図】 図1
特許請求の範囲
【請求項1】
運転者により踏込操作されるペダル(13、23)を備えるアクセル装置(10、20)に対して運転者の踏み込み力に対する反力を付加可能な反力装置であって、
通電により駆動力を発生させるアクチュエータ(35)と、
緩衝部材保持部(43)を有し前記アクチュエータに駆動される回動部材(41)、および、前記緩衝部材保持部に設けられ前記ペダルまたは前記ペダルと一体に駆動される中間部材(28)と離間可能に当接する緩衝部材(50)を有し、前記ペダル側に反力を伝達する反力伝達機構(40)と、
を備え、
前記緩衝部材は、前記ペダルまたは前記中間部材と当接する第1部材(51~56)、および、前記第1部材と前記緩衝部材保持部との間に設けられる第2部材(61~68)を有し、前記ペダルまたは前記中間部材と前記回動部材との間で転動可能に設けられており、
前記第1部材は、前記第2部材より低硬度である反力装置。
続きを表示(約 830 文字)
【請求項2】
前記第2部材の摩擦係数は、前記第1部材の摩擦係数より小さい請求項1に記載の反力装置。
【請求項3】
前記第1部材と前記第2部材とは、相対回転不能に固定されている請求項1または2に記載の反力装置。
【請求項4】
前記第1部材と前記第2部材との当接面には、少なくとも一方向側への相対移動を規制する係止部(521、531、621、631)が設けられている請求項3に記載の反力装置。
【請求項5】
前記第1部材および前記第2部材は円筒状に形成され、外周側に設けられる前記第1部材の外周面にて前記ペダルまたは前記中間部材と当接し、内周側に設けられる前記第2部材の径方向内側に前記緩衝部材保持部が挿入されている請求項1に記載の反力装置。
【請求項6】
前記第2部材(61)の軸方向長さは、前記第1部材(51)の軸方向長さより大きく、
軸方向の両側において、前記第2部材が前記第1部材よりも突出して設けられている請求項5に記載の反力装置。
【請求項7】
前記第2部材には、軸方向の両側にて径方向外側に延びる軸係止部(611)が設けられている請求項6に記載の反力装置。
【請求項8】
前記軸係止部の径方向外側の端部は、前記第1部材の外周面よりも径方向内側に位置している請求項7に記載の反力装置。
【請求項9】
前記緩衝部材保持部には、前記緩衝部材の径方向内側に挿入される小径部(431)、および、前記緩衝部材の軸方向外側にて当該緩衝部材と当接可能である抜け止め部(433、436、45)が設けられている請求項5に記載の反力装置。
【請求項10】
前記抜け止め部の外径は、前記第2部材(67)の内径より大きく、前記第2部材の外径より小さく形成されている請求項9に記載の反力装置。
(【請求項11】以降は省略されています)
発明の詳細な説明
【技術分野】
【0001】
本発明は、反力装置に関する。
続きを表示(約 1,900 文字)
【背景技術】
【0002】
従来、ペダルアームに反力を付加可能なアクセルペダル装置が知られている。例えば特許文献1では、駆動源の駆動力により回動部材がペダルアームを休止位置に戻す方向に反力を付加するように形成されている。回動部材は、回動レバーとして形成されており、ペダルアームに離脱可能に接触するローラを含む接触部を有している。
【先行技術文献】
【特許文献】
【0003】
特許第5491115号公報
【発明の概要】
【発明が解決しようとする課題】
【0004】
ペダルと当接する当接部材とペダルとが離間可能である場合、ペダルが踏込状態から急開放された場合、回動部材の戻り速度がペダルに対して相対的に遅れ、ペダルと回転部材とが衝突する。ここで、当接部材の硬度が比較的高い材質で形成されていると、衝突音が発生する虞がある。また、衝突音を低減すべく当接部材を硬度が比較的低い材質で形成すると、摩擦係数が大きく、摩耗が増大する虞がある。
【0005】
本発明は、上述の課題に鑑みてなされたものであり、その目的は、ペダル急開放時の衝突音を低減可能な反力装置を提供することにある。
【課題を解決するための手段】
【0006】
本発明の反力装置は、運転者により踏込操作されるペダル(13、23)を備えるアクセル装置(10、20)に対して運転者の踏み込み力に対する反力を付加可能であって、アクチュエータ(35)と、反力伝達機構(40)と、を備える。アクチュエータは、通電により駆動力を発生させる。
【0007】
反力伝達機構(40)は、回動部材(41)、および、緩衝部材(50)を有し、ペダル側に反力を伝達する。回動部材は、緩衝部材保持部(43)を有し、アクチュエータに駆動される。緩衝部材は、緩衝部材保持部に設けられ、ペダルまたはペダルと一体に駆動される中間部材(28)と離間可能に当接する。
【0008】
緩衝部材は、ペダルまたは中間部材と当接する第1部材(51~56)、および、第1部材と緩衝部材保持部との間に設けられる第2部材(61~68)を有し、ペダルまたは中間部材と回動部材との間で転動可能に設けられている。第1部材は、第2部材より低硬度である。これにより、摺動性を確保しつつ、ペダル急開放時の衝突音を低減することができる。
【図面の簡単な説明】
【0009】
第1実施形態によるアクセル装置および反力装置の側面図である。
第1実施形態によるアクセル装置および反力装置の斜視図である。
第1実施形態による反力装置の平面図である。
図3のIV-IV線断面図である
図3のV-V線断面図である。
第1実施形態において、緩衝部材の動作を説明する説明図である。
第2実施形態による緩衝部材および緩衝部材保持部を示す断面図である。
第3実施形態による緩衝部材および緩衝部材保持部を示す断面図である。
図8のIX-IX線断面図である。
第4実施形態による緩衝部材および緩衝部材保持部を示す断面図である。
第5実施形態による緩衝部材を示す断面図である。
第6実施形態による緩衝部材および緩衝部材保持部を示す断面図である。
第6実施形態による摺動部材の外周面を示す模式図である。
第7実施形態による緩衝部材および緩衝部材保持部を示す断面図である。
第8実施形態による緩衝部材および緩衝部材保持部を示す断面図である。
第9実施形態による緩衝部材および緩衝部材保持部を示す断面図である。
(a)は、第10実施形態による緩衝部材保持部の先端を示す断面図であり、(b)は、第10実施形態による緩衝部材保持部の先端を示す断面図である。
第11実施形態に緩衝部材および緩衝部材保持部を示す断面図である。
第12実施形態に緩衝部材および緩衝部材保持部を示す断面図である。
第13実施形態に緩衝部材および緩衝部材保持部を示す断面図である。
第14実施形態によるアクセル装置および反力装置の側面図である。
第14実施形態によるアクセル装置および反力装置の斜視図である。
【発明を実施するための形態】
【0010】
以下、本発明による反力装置を図面に基づいて説明する。以下、複数の実施形態において、実質的に同一の構成には同一の符号を付して説明を省略する。
(【0011】以降は省略されています)
この特許をJ-PlatPat(特許庁公式サイト)で参照する
関連特許
株式会社デンソー
車載器
7日前
株式会社デンソー
反力装置
1日前
株式会社デンソー
ねじ部材
7日前
株式会社デンソー
電子装置
1日前
株式会社デンソー
ステータ
7日前
株式会社デンソー
電子装置
2日前
株式会社デンソー
電子装置
11日前
株式会社デンソーエレクトロニクス
発音装置
11日前
株式会社デンソー
ステータ
7日前
株式会社デンソー
農業用装置
3日前
株式会社デンソー
半導体装置
7日前
株式会社デンソーテン
インバータ
1日前
株式会社デンソー
レーダ装置
今日
株式会社デンソー
衝突予測装置
2日前
株式会社デンソー
電力変換装置
3日前
株式会社デンソー
電圧検出回路
3日前
株式会社デンソーテン
車載映像装置
7日前
株式会社デンソー
電力変換装置
7日前
株式会社デンソー
運転支援装置
2日前
株式会社デンソー
車載システム
1日前
株式会社デンソー
車載システム
1日前
株式会社デンソー
電子制御装置
7日前
株式会社デンソー
衝突予測装置
2日前
株式会社デンソーエアクール
換気空調装置
8日前
株式会社デンソー
電波吸収装置
11日前
株式会社デンソー
運航管理装置
今日
株式会社デンソー
車両制御装置
1日前
株式会社デンソー
圧着ヘッド装置
7日前
株式会社デンソー
移動体制御装置
8日前
株式会社デンソー
画像符号化装置
9日前
株式会社デンソートリム
エンジン制御装置
7日前
株式会社デンソーウェーブ
通行管理システム
1日前
株式会社デンソー
スイッチング電源
1日前
株式会社デンソー
フェード検知装置
1日前
株式会社デンソーウェーブ
光学読取システム
8日前
株式会社デンソー
無線通信システム
1日前
続きを見る
他の特許を見る