TOP
|
特許
|
意匠
|
商標
特許ウォッチ
Twitter
他の特許を見る
10個以上の画像は省略されています。
公開番号
2025150877
公報種別
公開特許公報(A)
公開日
2025-10-09
出願番号
2024052023
出願日
2024-03-27
発明の名称
電子装置
出願人
株式会社デンソー
代理人
弁理士法人ゆうあい特許事務所
主分類
H01L
23/36 20060101AFI20251002BHJP(基本的電気素子)
要約
【課題】放熱部材に加工を施さずに端子と放熱部材との接触を抑制しつつ、発熱部材の放熱性が向上した電子装置を提供する。
【解決手段】電子装置1は、表裏の関係にある上面3aおよび下面3bとこれらを繋ぐスルーホール31とを有する基板3と、端子4と、下面3bに搭載される発熱部材5と、下面3bと対向配置される放熱部材8とを備える。端子4は、基板3のスルーホール31に上面3aの側から挿入されている。放熱部材8は、基板3よりも熱伝導性が高く、発熱部材5と熱的に接続されている。
【選択図】図2
特許請求の範囲
【請求項1】
表裏の関係にある上面(3a)と下面(3b)とを有し、前記上面と前記下面とを繋ぐスルーホール(31)と、前記スルーホールの壁面を覆う導電膜(32)とを有する基板(3)と、
前記スルーホールに前記上面の側から挿入される端子(4)と、
前記下面に搭載される発熱部材(5、9、10、11、12、41)と、
前記下面と対向して配置され、前記基板よりも熱伝導性が高く、前記発熱部材と熱的に接続された放熱部材(8)と、を備える電子装置。
続きを表示(約 940 文字)
【請求項2】
前記発熱部材と前記放熱部材とを繋ぐ絶縁性の放熱材(7)をさらに備える請求項1に記載の電子装置。
【請求項3】
前記発熱部材は、前記基板とは反対側の面が絶縁性の樹脂で覆われており、前記放熱部材と接触している、請求項1に記載の電子装置。
【請求項4】
前記発熱部材は、パワー半導体素子(52)と、前記パワー半導体素子に接続される導電クリップ(53)と、前記パワー半導体素子を覆う絶縁性の封止樹脂(54)とを有し、前記基板とは反対側が前記封止樹脂で完全に覆われている半導体パッケージである、請求項1に記載の電子装置。
【請求項5】
前記下面に接続される板状のバスバー(9)をさらに有し、
前記バスバーは、前記放熱材を介して前記放熱部材に熱的に接続されている、請求項2に記載の電子装置。
【請求項6】
前記下面のうち前記スルーホールの近傍に接続され、前記端子のうち前記下面よりも突き出す部分を囲むとともに、前記基板よりも熱伝導性が高い材料で構成される端子カバー(10)をさらに有し、
前記端子カバーは、前記放熱材を介して前記放熱部材に熱的に接続されている、請求項2に記載の電子装置。
【請求項7】
導電性材料で構成され、前記スルーホールに挿入され、前記導電膜に当接する筒状の導電筒(11)をさらに有し、
前記端子は、前記導電筒に圧入保持されている、請求項1に記載の電子装置。
【請求項8】
前記発熱部材と前記放熱部材とを繋ぐとともに、前記基板よりも熱伝導性が高く、かつ絶縁性の放熱材(7)をさらに備え、
前記導電筒は、前記下面から突き出した端部が閉塞されており、前記放熱材を介して前記放熱部材に熱的に接続されている、請求項7に記載の電子装置。
【請求項9】
前記導電筒は、前記端子が挿入される部位が楕円形筒状である、請求項7に記載の電子装置。
【請求項10】
前記導電筒は、内壁面に前記端子が挿入されるスリット部(11e)を有する、請求項7に記載の電子装置。
(【請求項11】以降は省略されています)
発明の詳細な説明
【技術分野】
【0001】
本開示は、発熱部品が搭載された基板に端子が接続されてなる電子装置に関する。
続きを表示(約 2,300 文字)
【背景技術】
【0002】
従来、この種の電子装置としては、例えば、特許文献1に記載のものが挙げられる。特許文献1に記載の電子装置は、回路基板にCPUや集積回路素子などの発熱部品が複数搭載されるとともに、回路基板に設けられたスルーホールにプレスフィット端子が挿入され、圧入保持された構造である。CPUとは、Central Processing Unitの略称である。この電子装置は、プレスフィット端子にヒートパイプなどの放熱部材が接続されており、プレスフィット端子を通じた放熱が可能となっている。
【先行技術文献】
【特許文献】
【0003】
特開2008-283154号公報
【発明の概要】
【発明が解決しようとする課題】
【0004】
この種の電子装置は、例えば、発熱部材が搭載された回路基板を筐体などの放熱部材に配置し、プレスフィットなどの端子と筐体とが直接接触しないようにしつつ、回路基板を介して発熱部材の熱を筐体に逃がす構造とされうる。このような構造とされた電子装置は、例えば、回路基板と放熱部材との間に放熱ゲルを配置することでより放熱性を高めることができる。
【0005】
しかしながら、上記構造の電子装置は、端子部のうち回路基板のスルーホールから突き出た部分が放熱部材に接触しないように、放熱部材のうち端子の直下の領域に凹部あるいは段差部のような掘り込みを形成する必要がある。また、放熱部材に掘り込みを設けた場合、回路基板と放熱部材との間に配置した放熱ゲルが掘り込みに落ち込むことで、端子における放熱性が低下しうる。
【0006】
本開示は、上記の点に鑑み、放熱部材に加工を施さずに端子と放熱部材との接触を抑制しつつ、発熱部材の放熱性が向上した電子装置を提供することを目的とする。
【課題を解決するための手段】
【0007】
本開示の1つの観点によれば、電子装置は、
表裏の関係にある上面(3a)と下面(3b)とを有し、上面と下面とを繋ぐスルーホール(31)と、スルーホールの壁面を覆う導電膜(32)とを有する基板(3)と、
スルーホールに前記上面の側から挿入される端子(4)と、
下面に搭載される発熱部材(5、9、10、11、12、41)と、
下面と対向して配置され、基板よりも熱伝導性が高く、発熱部材と熱的に接続された放熱部材(8)と、を備える。
【0008】
この電子装置は、上面および下面を有する基板のスルーホールに、上面側から端子が挿入されるとともに、下面に発熱部材が搭載され、発熱部材が下面と対向する放熱部材と熱的に接続された構造である。このため、この電子装置は、従来の上面に発熱部材が搭載された構造に比べて、発熱部材と放熱部材との距離が短くなり、放熱性が向上する。また、この電子装置は、下面に発熱部材が搭載されることで、少なくとも発熱部材の高さ分だけ下面と放熱部材との隙間が確保され、端子のうちスルーホールから下面側にはみ出す部分が放熱部材に接触することが抑制される。このため、この電子装置は、放熱部材に端子との接触防止用の掘り込み加工を施す必要がない。
【0009】
なお、各構成要素等に付された括弧付きの参照符号は、その構成要素等と後述する実施形態に記載の具体的な構成要素等との対応関係の一例を示すものである。
【図面の簡単な説明】
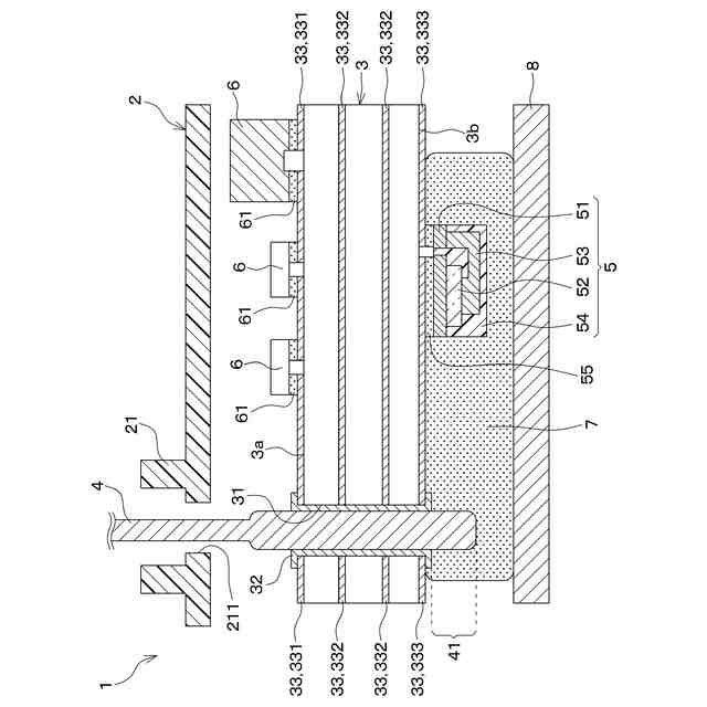
【0010】
第1実施形態の電子装置の概略を示す斜視分解図である。
第1実施形態の電子装置のうち端子が挿入される部分近傍を示す断面図である。
比較例および実施例の電子装置における熱解析結果を示す図である。
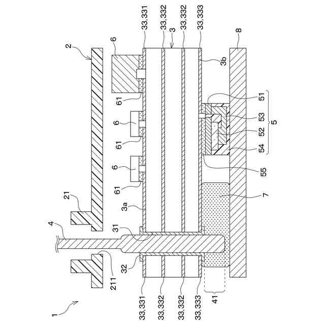
図2に相当する図であって、第1実施形態の電子装置の変形例を示す断面図である。
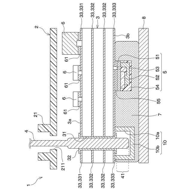
図2に相当する図であって、第2実施形態の電子装置を示す断面図である。
図2に相当する図であって、第3実施形態の電子装置を示す断面図である。
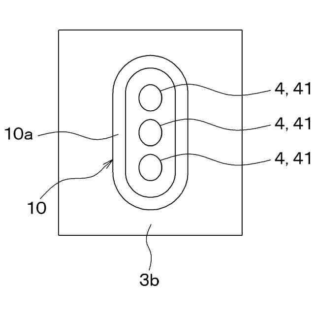
基板の下面側から見た端子カバーの形状例を示す正面図である。
基板の下面側から見た端子カバーの他の形状例を示す正面図である。
基板の下面側から見た端子カバーの他の形状例を示す正面図である。
図2に相当する図であって、第4実施形態の電子装置を示す断面図である。
第4実施形態の電子装置における導電筒の第1変形例を示す断面図である。
第4実施形態の電子装置における導電筒の第2変形例を示す断面図である。
第4実施形態の電子装置における導電筒の第3変形例を示す断面図である。
第4実施形態の電子装置における導電筒の第4変形例を示す正面図である。
第4実施形態の電子装置における導電筒の第5変形例を示す正面図である。
第4実施形態の電子装置における導電筒の第6変形例を示す断面図である。
第5実施形態の電子装置のうち充填部材の近傍を示す断面図である。
基板の下面側から見た充填部材の形状例を示す正面図である。
図2に相当する図であって、第6実施形態の電子装置を示す断面図である。
図2に相当する図であって、第6実施形態の電子装置の第1変形例を示す断面図である。
図2に相当する図であって、第6実施形態の電子装置の第2変形例を示す断面図である。
【発明を実施するための形態】
(【0011】以降は省略されています)
この特許をJ-PlatPat(特許庁公式サイト)で参照する
関連特許
株式会社デンソー
車載器
12日前
株式会社デンソー
接合体
26日前
株式会社デンソー
ステータ
12日前
株式会社デンソー
ステータ
27日前
株式会社デンソー
電子装置
7日前
株式会社デンソー
電子装置
6日前
株式会社デンソー
ステータ
12日前
株式会社デンソー
反力装置
6日前
株式会社デンソーエレクトロニクス
発音装置
16日前
株式会社デンソー
ねじ部材
12日前
株式会社デンソー
電子装置
16日前
株式会社デンソー
ステータ
27日前
株式会社デンソー
レーダ装置
5日前
株式会社デンソーテン
インバータ
6日前
株式会社デンソー
半導体装置
12日前
株式会社デンソー
農業用装置
8日前
株式会社デンソー
レーダ装置
16日前
株式会社デンソー
電子制御装置
12日前
株式会社デンソー
制御システム
19日前
株式会社デンソー
ステータコア
19日前
株式会社デンソーテン
車載映像装置
12日前
株式会社デンソー
電圧検出回路
8日前
株式会社デンソーエアクール
換気空調装置
13日前
株式会社デンソー
衝突予測装置
7日前
株式会社デンソー
運転支援装置
7日前
株式会社デンソー
衝突予測装置
7日前
株式会社デンソー
電気化学セル
16日前
株式会社デンソー
電力変換装置
今日
株式会社デンソー
電力変換装置
20日前
株式会社デンソー
電力変換装置
12日前
株式会社デンソー
フィルタ回路
20日前
株式会社デンソー
電波吸収装置
16日前
株式会社デンソー
光位相変調器
26日前
株式会社デンソー
電力変換装置
8日前
株式会社デンソー
電子制御装置
27日前
株式会社デンソー
通信システム
16日前
続きを見る
他の特許を見る