TOP
|
特許
|
意匠
|
商標
特許ウォッチ
Twitter
他の特許を見る
公開番号
2025160758
公報種別
公開特許公報(A)
公開日
2025-10-23
出願番号
2024063527
出願日
2024-04-10
発明の名称
盛土評価システムおよび盛土評価方法
出願人
鹿島建設株式会社
代理人
個人
,
個人
,
個人
,
個人
主分類
G01N
27/04 20060101AFI20251016BHJP(測定;試験)
要約
【課題】盛土の品質評価の精度を高めることができる盛土評価システムおよび盛土評価方法を提供する。
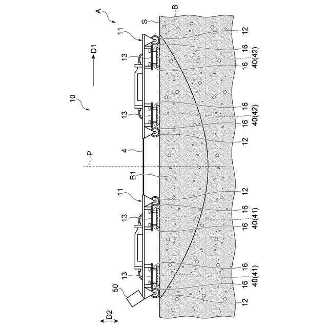
【解決手段】一実施形態に係る盛土評価システムは、盛土Bに対向した状態で盛土Bの比抵抗を測定する一対の電位電極41、および一対の電流電極42を有する比抵抗測定部10と、盛土Bにおいて比抵抗測定部10を移動させる牽引部と、盛土Bのうち、比抵抗測定部10によって比抵抗が測定される部分を撮影するカメラ50と、比抵抗測定部10によって測定された比抵抗、およびカメラ50によって撮影された盛土Bの画像を用いて盛土Bの品質を評価する品質評価部と、を備える。
【選択図】図2
特許請求の範囲
【請求項1】
盛土に対向した状態で前記盛土の比抵抗を測定する一対の電位電極、および一対の電流電極を有する比抵抗測定部と、
前記盛土において前記比抵抗測定部を移動させる牽引部と、
前記盛土のうち、前記比抵抗測定部によって比抵抗が測定される部分を撮影するカメラと、
前記比抵抗測定部によって測定された比抵抗、および前記カメラによって撮影された前記盛土の画像を用いて前記盛土の品質を評価する品質評価部と、
を備える、
盛土評価システム。
続きを表示(約 1,200 文字)
【請求項2】
前記比抵抗測定部は、前記牽引部によって移動方向に沿って移動し、
前記カメラは、前記比抵抗測定部よりも前記移動方向とは反対側において前記比抵抗測定部とともに前記移動方向に沿って移動する、
請求項1に記載の盛土評価システム。
【請求項3】
前記比抵抗測定部によって測定された比抵抗が比抵抗閾値以上であるか否かを判定する比抵抗判定部を備え、
前記カメラは、前記盛土のうち、前記比抵抗判定部によって比抵抗が比抵抗閾値以上であると判定された部分を撮影する、
請求項1または請求項2に記載の盛土評価システム。
【請求項4】
前記比抵抗測定部によって測定された比抵抗が比抵抗閾値以上であるか否かを判定する比抵抗判定部と、
前記カメラによって撮影された前記盛土の画像から前記盛土の礫率を算出する礫率算出部と、を備え、
前記品質評価部は、前記比抵抗判定部によって比抵抗が比抵抗閾値以上であると判定され、かつ前記礫率算出部によって算出された礫率が礫率閾値以上であるときに、前記盛土の品質が良好であると評価する、
請求項1または請求項2に記載の盛土評価システム。
【請求項5】
前記カメラによって撮影された前記盛土の画像から前記盛土の礫率を算出する礫率算出部と、
前記盛土に対向した状態で前記盛土の体積含水率を測定する水分計と、を備え、
前記品質評価部は、前記比抵抗測定部によって測定された比抵抗、および前記水分計によって測定された体積含水率から、前記盛土の密度を算出し、
前記礫率算出部によって算出された礫率を前記密度とともに表示する表示部をさらに備える、
請求項1または請求項2に記載の盛土評価システム。
【請求項6】
前記盛土に対向した状態で前記盛土の体積含水率を測定する水分計を備え、
前記水分計は、散乱型RI水分計である、
請求項1または請求項2に記載の盛土評価システム。
【請求項7】
一対の電位電極、および一対の電流電極が盛土に対向した状態で前記盛土の比抵抗を測定する工程と、
前記盛土のうち、前記比抵抗を測定する工程において比抵抗が測定される部分を撮影する工程と、
前記比抵抗を測定する工程において測定された比抵抗、および前記撮影する工程において撮影された前記盛土の画像を用いて前記盛土の品質を判定する工程と、
を備える、
盛土評価方法。
【請求項8】
前記盛土の品質を判定する工程において前記盛土の品質が良好でないと判定された場合に、前記盛土の比抵抗の再計測、および前記盛土の転圧、の少なくともいずれかを行う工程をさらに備える、
請求項7に記載の盛土評価方法。
発明の詳細な説明
【技術分野】
【0001】
本開示は、盛土を評価する盛土評価システムおよび盛土評価方法に関する。
続きを表示(約 2,100 文字)
【背景技術】
【0002】
特許文献1には、土質測定方法および土質測定装置が記載されている。土質測定方法は、電気抵抗測定工程と、土部分乾燥密度導出工程と、全体乾燥密度導出工程とを有する。電気抵抗測定工程では、地盤材料の電気抵抗が測定される。土部分乾燥密度導出工程では、電気抵抗測定工程において測定された地盤材料の電気抵抗と、地盤材料から礫分・石分が除去された土部分の電気抵抗と乾燥密度との予め規定された関係と、によって、地盤材料の土部分の乾燥密度が測定される。全体乾燥密度導出工程では、土部分乾燥密度導出工程において導出された地盤材料の土部分の乾燥密度と、地盤材料の礫分・石分の密度と、地盤材料の質量に対する礫分・石分の質量の比である礫分石分含有率とに基づいて地盤材料の乾燥密度が導出される。
【0003】
土質測定装置は、中央フレーム部と、中央フレーム部により牽引される電極部と、中央フレーム部に設けられており土質測定装置を地盤材料の上で移動させる駆動輪とを備える。電極部は、地盤材料の表面に接触する。電極部は、補助輪と、中央フレームに牽引される牽引体と、牽引体の後部に連結された4つの車輪状電極とを有する。車輪状電極の外周面は、地盤材料の表面と接触する。地盤材料の上を移動しつつ地盤材料に接触する車輪状電極により、地盤材料の電気抵抗が測定される。
【先行技術文献】
【特許文献】
【0004】
特開2022-90386号公報
【発明の概要】
【発明が解決しようとする課題】
【0005】
ところで、盛土の比抵抗を測定し比抵抗を用いて盛土を評価するときには、比抵抗が低い箇所は密度が高い箇所であると測定され、比抵抗が高い箇所は密度が低い箇所であると測定される。前述した車輪状電極のように、複数の電極が盛土に接触することによって比抵抗が測定される。しかしながら、盛土には粒径が大きい礫分が多く含まれている領域が存在することがあり、このような領域では盛土と電極との間に多くの空気が入り込むことがある。
【0006】
盛土と電極との間に多くの空気が入り込むと、実際密度が低くないにもかかわらず、比抵抗が高く測定され、その結果、密度が低いと誤った測定がなされることがある。このように、実際密度が低くないにもかかわらず、密度が低いと測定されると、盛土の品質が良好でないと誤った評価がなされる場合がある。したがって、盛土の品質評価の精度において改善の余地がある。
【0007】
本開示は、盛土の品質評価の精度を高めることができる盛土評価システムおよび盛土評価方法を提供することを目的とする。
【課題を解決するための手段】
【0008】
(1)本開示に係る盛土評価システムは、盛土に対向した状態で盛土の比抵抗を測定する一対の電位電極、および一対の電流電極を有する比抵抗測定部と、盛土において比抵抗測定部を移動させる牽引部と、盛土のうち、比抵抗測定部によって比抵抗が測定される部分を撮影するカメラと、比抵抗測定部によって測定された比抵抗、およびカメラによって撮影された盛土の画像を用いて盛土の品質を評価する品質評価部と、を備える。
【0009】
この盛土評価システムでは、一対の電位電極、および一対の電流電極が盛土に対向した状態で比抵抗測定部が盛土の比抵抗を測定する。比抵抗測定部は、牽引部によって牽引されながら盛土の比抵抗を測定する。この盛土評価システムはカメラを備え、カメラは盛土のうち比抵抗が測定される部分を撮影する。盛土の品質を評価する品質評価部は、比抵抗測定部によって測定された比抵抗、およびカメラによって撮影された盛土の画像を用いる。よって、比抵抗だけでなく、比抵抗が測定される盛土の画像から盛土の品質が評価される。盛土の画像を取得することによって盛土の実際の状態を把握できるので、画像を用いて測定された比抵抗の値を調整することにより、実際密度が低くないにもかかわらず比抵抗が高く測定されることを回避できる。したがって、実際密度が低くないにもかかわらず密度が低いと測定されることを回避できるので、盛土の品質が良好でないと誤った評価がなされることを防止できる。その結果、盛土の品質評価の精度を高めることができる。
【0010】
(2)上記(1)において、比抵抗測定部は、牽引部によって移動方向に沿って移動してもよい。カメラは、比抵抗測定部よりも移動方向とは反対側において比抵抗測定部とともに移動方向に沿って移動してもよい。この場合、比抵抗測定部が前方に移動するときに、カメラは比抵抗測定部よりも後方に位置する。そして、カメラは、比抵抗測定部の後方において比抵抗測定部とともに移動方向に沿って移動する。よって、比抵抗の測定、および盛土の撮影を牽引しながら実行できるので、盛土の評価を効率よく行うことができる。
(【0011】以降は省略されています)
この特許をJ-PlatPat(特許庁公式サイト)で参照する
関連特許
鹿島建設株式会社
制震架構
17日前
鹿島建設株式会社
接合構造
9日前
鹿島建設株式会社
解体方法
14日前
鹿島建設株式会社
過重力施設
17日前
鹿島建設株式会社
空調システム
29日前
鹿島建設株式会社
床版架設方法
7日前
鹿島建設株式会社
シールド掘進機
22日前
鹿島建設株式会社
橋、および橋の製造方法
15日前
鹿島建設株式会社
接続方法および接続構造
17日前
鹿島建設株式会社
作業サイクル分析システム
7日前
鹿島建設株式会社
壁体の構築方法およびタンク
8日前
鹿島建設株式会社
鋼管柱の接合方法、及び鋼管柱
15日前
鹿島建設株式会社
品質評価装置および品質評価方法
3日前
鹿島建設株式会社
水硬性硬化体の炭酸化養生システム
14日前
鹿島建設株式会社
盛土評価システムおよび盛土評価方法
8日前
鹿島道路株式会社
コンクリート舗装の養生方法
23日前
鹿島道路株式会社
コンクリート舗装の養生方法
23日前
鹿島道路株式会社
アスファルト混合物の製造方法
2日前
鹿島建設株式会社
環境音モニタ装置、環境音モニタ方法及びプログラム
14日前
ゼネラルヒートポンプ工業株式会社
ヒートポンプシステム
7日前
ケイミューシポレックス株式会社
軽量気泡コンクリートの製造方法
22日前
鹿島建設株式会社
生物生息場構造体、生物生息場構造、生物生息場構造体の引き上げ方法
1か月前
Haloworld株式会社
マップ作成システム及び自動走行システム
24日前
鹿島建設株式会社
光ファイバー設置構造、コンクリート部材養生方法、損傷評価方法及び構造特性評価方法
15日前
個人
メジャー文具
24日前
個人
採尿及び採便具
1日前
個人
高精度同時多点測定装置
16日前
個人
アクセサリー型テスター
17日前
株式会社ミツトヨ
測定器
7日前
ユニパルス株式会社
ロードセル
23日前
日本精機株式会社
位置検出装置
1か月前
日本精機株式会社
位置検出装置
1か月前
日本精機株式会社
位置検出装置
1か月前
アズビル株式会社
電磁流量計
10日前
アズビル株式会社
圧力センサ
29日前
トヨタ自動車株式会社
検査装置
1か月前
続きを見る
他の特許を見る