TOP
|
特許
|
意匠
|
商標
特許ウォッチ
Twitter
他の特許を見る
10個以上の画像は省略されています。
公開番号
2025161418
公報種別
公開特許公報(A)
公開日
2025-10-24
出願番号
2024064589
出願日
2024-04-12
発明の名称
液性判定システム及び液性判定方法
出願人
WOTA株式会社
代理人
個人
主分類
C02F
3/34 20230101AFI20251017BHJP(水,廃水,下水または汚泥の処理)
要約
【課題】
本発明の目的は、装置内へのセンサの配置及び気体分離器の利用の有無にかかわらずに、簡易に液体から排出される排気の性質によって液性を判定し、さらに判定した液性によって排水処理の進行を制御し得る液性判定システムを提供することにある。
【解決手段】
上記目的は、液性判定システムであって、前記液性判定システムは、液体収容手段と、気体供給手段と、二酸化炭素濃度測定手段と、液性判定手段とを備え、該液性判定手段は、二酸化炭素濃度測定手段により測定される二酸化炭素濃度を、指標二酸化炭素濃度と照合して、液体収容手段が収容する液体の液性を判定可能である、前記液性判定システムなどにより解決される。
【選択図】図3
特許請求の範囲
【請求項1】
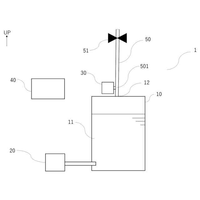
液性判定システムであって、
前記液性判定システムは、液体収容手段と、気体供給手段と、二酸化炭素濃度測定手段と、液性判定手段とを備え、
前記液体収容手段は、液体を収容可能であり、かつ排気口を有し、
前記気体供給手段は、前記液体収容手段が収容する液体内に気体を供給可能であり、
前記二酸化炭素濃度測定手段は、前記液体収容手段の排気口から排出される排気における二酸化炭素濃度を測定可能であり、及び
前記液性判定手段は、前記二酸化炭素濃度測定手段により測定される二酸化炭素濃度を、指標二酸化炭素濃度と照合して、前記液体収容手段が収容する液体の液性を判定可能である、前記液性判定システム。
続きを表示(約 930 文字)
【請求項2】
前記指標二酸化炭素濃度は、前記液体収容手段に収容された直後であり、かつpHが中性、酸性又はアルカリ性である液体の二酸化炭素濃度である、請求項1に記載の液性判定システム。
【請求項3】
前記液体収容手段は排水処理槽であり、かつ前記液体は排水である、請求項1又は2に記載の液性判定システム。
【請求項4】
前記排水処理槽は、生物処理槽である、請求項3に記載の液性判定システム。
【請求項5】
生物処理判定システムであって、
請求項4に記載の液性判定システムと、有機物供給手段とを備え、
前記有機物供給手段は、前記液体収容手段に収容される液体に有機物を供給可能であり、及び
前記二酸化炭素濃度は、前記有機物が供給された後に測定される二酸化炭素濃度である、前記生物処理判定システム。
【請求項6】
前記有機物は、炭素数が1~3のアルコール、単糖及び二糖からなる群から選ばれる少なくとも1種の有機物である、請求項5に記載の生物処理判定システム。
【請求項7】
前記気体は、空気、酸素、オゾン及び窒素からなる群から選択される気体である、請求項5に記載の生物処理判定システム。
【請求項8】
前記液性判定手段は、さらに判定された液体の液性に基づいて、液体の生物処理の状態を判定可能である、請求項5に記載の生物処理判定システム。
【請求項9】
生物処理制御システムであって、
請求項8に記載の生物処理判定システムを備え、
前記液性判定手段は、さらに判定された液体の生物処理の状態に基づいて、液体の生物処理を制御可能である、前記生物処理制御システム。
【請求項10】
液性判定方法であって、
液体収容手段が収容する液体に気体を供給して、該液体収容手段の排気口から排出される排気における二酸化炭素濃度を測定する測定工程と、
測定された二酸化炭素濃度を、指標二酸化炭素濃度と照合して、前記液体の液性を判定する判定工程とを含む、前記液性判定方法。
(【請求項11】以降は省略されています)
発明の詳細な説明
【技術分野】
【0001】
本発明は、液体の液性を判定するための液性判定システム及び液性判定方法に関する。
続きを表示(約 3,300 文字)
【背景技術】
【0002】
排水処理において、排水及びその処理水といった液体の性質(液性)は、排水処理の効率や進行度に影響を与える。そこで、液体の液性を検出するために、様々な接液型のセンサが用いられている。そのようなセンサの代表例として、溶存酸素濃度を検出するための溶存酸素センサ、導電率を検出するための導電率センサ、酸化還元電位を検出するための酸化還元電位センサ、pHを検出するためのpHセンサなどが挙げられる。
【0003】
しかし、これらの接液型のセンサを排水処理装置に備え付ける場合、種々の問題が生じる。例えば、自立循環型の浄水装置に備え付ける場合、センサが高価であることから該装置も高価になること、検出しようとする液性に応じてセンサを用意するために該装置の構成が複雑になること、備え付けた後のキャリブレーションに制限がかかることなどの問題が生じる。そこで、これらの問題を解決するために、センサを用いずに、簡易な手段により液体の液性を判定することが求められる。
【0004】
そのようなことを実現するために、液体そのものではなく、液体から排出される気体(排気)の性質によって、液性を判定することが考えられる。例えば、浄水装置の排気口付近に排気成分を測定する手段を設ければ、浄水装置において排水を処理する本体部の構成の複雑化を防ぐことができる。
【0005】
このような液体から排出される気体の性質によって液性を判定する方法として、有機性廃棄物を醗酵槽において嫌気性生物により分解処理してバイオガスとし、醗酵槽から排出されたバイオガスを脱硫塔で脱硫処理した後、バイオガス利用設備に供給するメタン醗酵処理装置の運転方法において、バイオガスを脱硫器で脱硫処理したガスの二酸化炭素濃度を計測し、計測値が所定濃度値より増大又は減少した際に、醗酵槽における処理負荷を低減又は増大する処理負荷制御を行う前記方法が知られている(例えば、特許文献1を参照)。
【先行技術文献】
【特許文献】
【0006】
特開2005-81264号公報
【発明の概要】
【発明が解決しようとする課題】
【0007】
特許文献1に記載の方法は、バイオガスを脱硫器で脱硫処理したガスの二酸化炭素濃度を計測する方法であり、脱硫器を用いた気体分離を要することから、装置の複雑化を招くという問題がある。
【0008】
そこで、本発明は、装置内へのセンサの配置及び気体分離器の利用の有無にかかわらずに、簡易に液体から排出される排気の性質によって液性を判定し、さらに判定した液性によって排水処理の進行を制御し得る液性判定システム及び液性判定方法を提供することを、本発明が解決しようとする課題とする。
【課題を解決するための手段】
【0009】
本発明者らは、上記課題を解決するために鋭意研究を積み重ねた結果、本発明の課題を解決するものとして、液体収容手段、気体供給手段、二酸化炭素濃度測定手段及び液性判定手段を基本要素とする液性判定システム及び液性判定方法を創作することに成功した。本発明はこのような本発明者らによって初めて為された成功例に基づいて完成するに至った発明である。
【0010】
すなわち、本発明の各側面によれば、以下の各態様が提供される。
[1]液性判定システムであって、
前記液性判定システムは、液体収容手段と、気体供給手段と、二酸化炭素濃度測定手段と、液性判定手段とを備え、
前記液体収容手段は、液体を収容可能であり、かつ排気口を有し、
前記気体供給手段は、前記液体収容手段が収容する液体内に気体を供給可能であり、
前記二酸化炭素濃度測定手段は、前記液体収容手段の排気口から排出される排気における二酸化炭素濃度を測定可能であり、及び
前記液性判定手段は、前記二酸化炭素濃度測定手段により測定される二酸化炭素濃度を、指標二酸化炭素濃度と照合して、前記液体収容手段が収容する液体の液性を判定可能である、前記液性判定システム。
[2]前記指標二酸化炭素濃度は、前記液体収容手段に収容された直後であり、かつpHが中性、酸性又はアルカリ性である液体の二酸化炭素濃度である、[1]に記載の液性判定システム。
[3]前記液体収容手段は排水処理槽であり、かつ前記液体は排水である、[1]又は[2]に記載の液性判定システム。
[4]前記排水処理槽は、生物処理槽である、[3]に記載の液性判定システム。
[5]生物処理判定システムであって、
[4]に記載の液性判定システムと、有機物供給手段とを備え、
前記有機物供給手段は、前記液体収容手段に収容される液体に有機物を供給可能であり、及び
前記二酸化炭素濃度は、前記有機物が供給された後に測定される二酸化炭素濃度である、前記生物処理判定システム。
[6]前記有機物は、炭素数が1~3のアルコール、単糖及び二糖からなる群から選ばれる少なくとも1種の有機物である、[5]に記載の生物処理判定システム。
[7]前記気体は、空気、酸素、オゾン及び窒素からなる群から選択される気体である、[5]に記載の生物処理判定システム。
[8]前記液性判定手段は、さらに判定された液体の液性に基づいて、液体の生物処理の状態を判定可能である、[5]に記載の生物処理判定システム。
[9]生物処理制御システムであって、
[8]に記載の生物処理判定システムを備え、
前記液性判定手段は、さらに判定された液体の生物処理の状態に基づいて、液体の生物処理を制御可能である、前記生物処理制御システム。
[10]液性判定方法であって、
液体収容手段が収容する液体に気体を供給して、該液体収容手段の排気口から排出される排気における二酸化炭素濃度を測定する測定工程と、
測定された二酸化炭素濃度を、指標二酸化炭素濃度と照合して、前記液体の液性を判定する判定工程とを含む、前記液性判定方法。
[11]生物処理判定方法であって、
生物処理槽が収容する生物処理水に添加した有機物を、生物処理水の溶存酸素を消費して生物学的に分解する生物分解工程と、
有機物が分解された生物処理水に気体を供給して、前記生物処理槽の排気口から排出される排気における二酸化炭素濃度を測定する測定工程と、
測定された二酸化炭素濃度を、指標二酸化炭素濃度と照合して、前記生物処理の状態を判定する判定工程とを含む、前記生物処理判定方法。
[12]前記判定工程は、測定された二酸化炭素濃度を、指標二酸化炭素濃度と照合して、前記生物処理水のpHを判定し、それにより硝化処理及び/又は脱窒処理の状態を判定する判定工程である、[11]に記載の生物処理判定方法。
[13]生物処理制御方法であって、
生物処理槽が収容する生物処理水に添加した有機物を、生物処理水の溶存酸素を消費して生物学的に分解する生物分解工程と、
有機物が分解された生物処理水に気体を供給して、前記生物処理槽の排気口から排出される排気における二酸化炭素濃度を測定する測定工程と、
測定された二酸化炭素濃度を、指標二酸化炭素濃度と照合して、前記生物処理水のpHを判定し、それにより硝化処理及び/又は脱窒処理の状態を判定する判定工程と、
前記生物処理水のpHがアルカリ性側にあり、それにより硝化反応を継続するように、及び/又は前記生物処理水のpHが酸性側にあり、それにより脱窒反応を継続するように、前記生物処理水の生物処理を制御する制御工程と
を含む、前記生物処理制御方法。
【発明の効果】
(【0011】以降は省略されています)
この特許をJ-PlatPat(特許庁公式サイト)で参照する
関連特許
WOTA株式会社
液性判定システム及び液性判定方法
今日
WOTA株式会社
排水処理システム及び排水処理方法
1か月前
株式会社ウィズアクア
水質浄化装置
10日前
三浦工業株式会社
汚泥減容方法
22日前
栗田工業株式会社
排水回収装置
21日前
三浦工業株式会社
汚泥乾燥加熱釜
2日前
三浦工業株式会社
精製水供給システム
2日前
名古屋メッキ工業株式会社
溶存金属析出装置
今日
栗田工業株式会社
用水の水質予測方法
21日前
栗田工業株式会社
電気イオン濃縮装置
今日
栗田工業株式会社
超純水製造装置の制御方法
10日前
栗田工業株式会社
有機性排水の生物処理方法
28日前
株式会社石垣
汚泥性状予測方法及び汚泥性状一定制御方法
25日前
栗田工業株式会社
電気脱イオン装置の運転方法
1日前
WOTA株式会社
液性判定システム及び液性判定方法
今日
株式会社神鋼環境ソリューション
貯留槽
14日前
栗田工業株式会社
水質予測方法及び水質制御方法
21日前
水ing株式会社
廃溶液の処理方法
15日前
株式会社クボタ
電解水生成装置
15日前
オルガノ株式会社
尿素処理装置および尿素処理方法
22日前
パナソニックIPマネジメント株式会社
軟水化装置
15日前
パナソニックIPマネジメント株式会社
軟水化装置
15日前
株式会社クボタ
電解水生成装置
15日前
株式会社クボタ
電解水生成装置
15日前
株式会社クボタ
電解水生成装置
15日前
水ing株式会社
排水処理方法及び装置
21日前
オルガノ株式会社
水処理システムおよびその運転方法
23日前
パナソニックIPマネジメント株式会社
電解水生成装置
14日前
三浦工業株式会社
汚泥減容システム
14日前
株式会社フジタ
水処理装置
25日前
パナソニックIPマネジメント株式会社
水処理装置
15日前
パナソニックIPマネジメント株式会社
水処理装置
15日前
パナソニックIPマネジメント株式会社
水処理装置
15日前
パナソニックIPマネジメント株式会社
水処理装置
15日前
パナソニックIPマネジメント株式会社
水処理装置
15日前
株式会社ヘルスカンパニー
浴用剤の使用方法
今日
続きを見る
他の特許を見る