TOP
|
特許
|
意匠
|
商標
特許ウォッチ
Twitter
他の特許を見る
公開番号
2025151399
公報種別
公開特許公報(A)
公開日
2025-10-09
出願番号
2024052802
出願日
2024-03-28
発明の名称
軟水化装置
出願人
パナソニックIPマネジメント株式会社
代理人
個人
,
個人
主分類
C02F
1/469 20230101AFI20251002BHJP(水,廃水,下水または汚泥の処理)
要約
【課題】再生時の排水の抑制及び効率的な樹脂の再生が可能な軟水化装置を提供する。
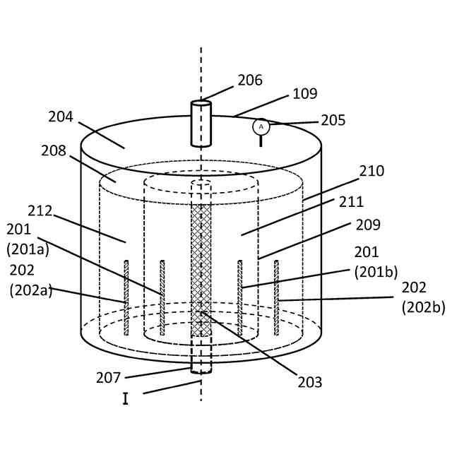
【解決手段】軟水化装置100は、軟水化室209と、中和室210と、内周側隔膜215と、軟水化室209の内周に位置し原水を軟水化室209に供給する導水部203と、中和室210にて生成された中和軟水を外部に送水する送水部204と、弱酸性陽イオン交換樹脂213の再生時に陽極として作用する第一電極201と、を備える。軟水化室209の底面に対して垂直な中心軸を有する導水部203から、中心軸を中心とする円の外周方向に向かって、軟水化室209、内周側隔膜215、中和室210、送水部204の順に配置され、第一電極201は、軟水化室209内において導水部203側に偏った位置に配置されている。
【選択図】図2
特許請求の範囲
【請求項1】
弱酸性陽イオン交換樹脂を有し硬度成分を含む原水から軟水を生成する軟水化室と、
弱塩基性陰イオン交換樹脂を有し前記軟水を中和する中和室と、
前記軟水化室と前記中和室との間を前記軟水が通水可能に区画する隔膜と、
外部から前記原水を前記軟水化室内に導入する導水部と、
前記中和室にて生成された中和軟水を外部に送水する送水部と、
前記軟水化室内において前記弱酸性陽イオン交換樹脂に囲まれて設けられ前記弱酸性陽イオン交換樹脂の再生時に陽極として作用する第一電極と、
前記中和室内において前記弱塩基性陰イオン交換樹脂に囲まれて設けられ前記弱塩基性陰イオン交換樹脂の再生時に陰極として作用する第二電極と、
を備え、
前記軟水化室の底面に対して垂直な中心軸を有する前記導水部から、前記中心軸を中心とする円の外周方向に向かって、前記軟水化室、前記隔膜、前記中和室、前記送水部の順に配置され、
前記第一電極は、前記軟水化室内において前記導水部側に偏った位置に配置されている軟水化装置。
続きを表示(約 480 文字)
【請求項2】
前記第二電極は、前記中和室内において前記隔膜側に偏った位置に配置されている請求項1に記載の軟水化装置。
【請求項3】
前記第一電極は、
前記軟水化室の底面と平行な断面での前記円の同一半径上において、前記導水部と前記軟水化室との境界である第一境界部と、前記隔膜と、の中間点よりも前記導水部側に配置される請求項1に記載の軟水化装置。
【請求項4】
前記第二電極は、
前記同一半径上において、前記隔膜と、前記中和室と前記送水部との境界である第二境界部と、の中間点よりも前記隔膜側に配置される請求項3に記載の軟水化装置。
【請求項5】
一対の前記第一電極及び前記第二電極は、
前記断面において、前記同一半径上に設けられ、
前記第一境界部から前記隔膜までの第一距離に対する前記導水部から前記第一電極までの距離の割合と、
前記隔膜から前記第二境界部までの第二距離に対する前記隔膜から前記第二電極までの距離の割合と、が等しい位置に設けられる請求項4に記載の軟水化装置。
発明の詳細な説明
【技術分野】
【0001】
本発明は、イオン交換樹脂を利用した軟水化装置に関するものである。
続きを表示(約 1,500 文字)
【背景技術】
【0002】
現在、水道水中の硬度成分を除去する目的で硬水地域を中心として軟水器が広く使用されているが、このような軟水器は、定期的に塩補充の作業が必要である。
【0003】
また、塩補充に関わる作業負担の課題および塩補充を適切に実施しない場合には軟水を得ることができないという性能面の課題を解決するために、塩を使わずにメンテナンスを行うことができる軟水技術が開発されている(例えば、特許文献1)。
【0004】
特許文献1に開示されている軟水システムは、基本構成として、弱酸性陽イオン交換樹脂および弱塩基性陰イオン交換樹脂の2種類の樹脂が混在し、電極の陽極側にバイポーラ膜(陽イオン交換樹脂膜および陰イオン交換樹脂膜を接合した膜:以下BP膜)および陰極側に陽イオン交換樹脂膜を用いて中性の軟水を得ることができる。
【0005】
なお、従来技術は一定量の硬度イオンが樹脂に吸着すると当該樹脂の再生が必要になる。例えば特許文献1における再生工程では、電極を用いて、電極間に存在するBP膜および樹脂室に電圧を印加する。BP膜もしくはイオン交換樹脂室にはカチオン交換樹脂とアニオン交換樹脂の界面が存在する。この界面に電圧がかかると、水分子が開裂しH
+
とOH
-
が生成する。生成したH
+
により弱酸性陽イオン交換樹脂を、生成したOH
-
により弱塩基性陰イオン交換樹脂を再生することができる。
【先行技術文献】
【特許文献】
【0006】
特開2016―163890号公報
【発明の概要】
【発明が解決しようとする課題】
【0007】
しかしながら、特許文献1に記載の技術では、イオン交換樹脂から脱離した硬度イオンがイオン交換樹脂に再吸着してしまい、樹脂の再生時の反応が阻害されやすい。そのため、脱離した硬度イオンを排出するために、通水しながら再生を行う必要がある。この通水操作により、樹脂再生時の排水量が多くなるという課題を有する。
【0008】
本発明は、このような従来技術の有する課題に鑑みてなされたものである。本発明の目的は、再生時の排水の抑制及び効率的な樹脂の再生が可能な軟水化装置を提供することにある。
【課題を解決するための手段】
【0009】
上記課題を解決するために、本発明に係る軟水化装置は、弱酸性陽イオン交換樹脂を有し硬度成分を含む原水から軟水を生成する軟水化室と、弱塩基性陰イオン交換樹脂を有し軟水を中和する中和室と、軟水化室と中和室との間を軟水が通水可能に区画する隔膜と、外部から原水を軟水化室内に導入する導水部と、中和室にて生成された中和軟水を外部に送水する送水部と、軟水化室内において弱酸性陽イオン交換樹脂に囲まれて設けられ弱酸性陽イオン交換樹脂の再生時に陽極として作用する第一電極と、中和室内において弱塩基性陰イオン交換樹脂に囲まれて設けられ弱塩基性陰イオン交換樹脂の再生時に陰極として作用する第二電極と、を備える。軟水化室の底面に対して垂直な中心軸を有する導水部か
ら、中心軸を中心とする円の外周方向に向かって、軟水化室、隔膜、中和室、送水部の順に配置され、第一電極は、軟水化室内において導水部側に偏った位置に配置されている。これにより、所期の目的を達成するものである。
【発明の効果】
【0010】
本発明によれば、再生時の排水の抑制及び効率的な樹脂の再生が可能な軟水化装置を提供することができる。
【図面の簡単な説明】
(【0011】以降は省略されています)
この特許をJ-PlatPat(特許庁公式サイト)で参照する
関連特許
三浦工業株式会社
汚泥減容方法
9日前
栗田工業株式会社
排水回収装置
8日前
栗田工業株式会社
用水の水質予測方法
8日前
株式会社石垣
汚泥性状予測方法及び汚泥性状一定制御方法
12日前
株式会社神鋼環境ソリューション
貯留槽
1日前
水ing株式会社
廃溶液の処理方法
2日前
栗田工業株式会社
水質予測方法及び水質制御方法
8日前
オルガノ株式会社
尿素処理装置および尿素処理方法
9日前
株式会社クボタ
電解水生成装置
2日前
株式会社クボタ
電解水生成装置
2日前
株式会社クボタ
電解水生成装置
2日前
株式会社クボタ
電解水生成装置
2日前
パナソニックIPマネジメント株式会社
軟水化装置
2日前
パナソニックIPマネジメント株式会社
軟水化装置
2日前
水ing株式会社
排水処理方法及び装置
8日前
オルガノ株式会社
水処理システムおよびその運転方法
10日前
三浦工業株式会社
汚泥減容システム
1日前
パナソニックIPマネジメント株式会社
電解水生成装置
1日前
パナソニックIPマネジメント株式会社
水処理装置
2日前
パナソニックIPマネジメント株式会社
水処理装置
2日前
パナソニックIPマネジメント株式会社
水処理装置
2日前
パナソニックIPマネジメント株式会社
水処理装置
2日前
パナソニックIPマネジメント株式会社
水処理装置
2日前
パナソニックIPマネジメント株式会社
水処理装置
2日前
水ing株式会社
排水処理装置及び排水処理方法
3日前
株式会社海洋開発技術研究所
水質改善装置および水質改善方法
3日前
水ing株式会社
排水処理方法および排水処理装置
8日前
株式会社クボタ
電解水生成装置および運転方法
2日前
Daigasエナジー株式会社
廃液処理装置および運転方法
1日前
オルガノ株式会社
水処理装置および水処理方法
2日前
オルガノ株式会社
水処理装置および水処理方法
2日前
オルガノ株式会社
水処理設備、制御装置、運転方法およびプログラム
3日前
水ing株式会社
メタンガスの抑制方法及び装置、ならびにメタンガス抑制剤
2日前
株式会社フジタ
バイオマスの乾燥システム及びバイオマスの乾燥方法
12日前
株式会社クボタ
電解水生成設備および原水タンク浄化方法
2日前
国立大学法人北海道国立大学機構
液状物の処理方法
1日前
続きを見る
他の特許を見る