TOP
|
特許
|
意匠
|
商標
特許ウォッチ
Twitter
他の特許を見る
10個以上の画像は省略されています。
公開番号
2025149984
公報種別
公開特許公報(A)
公開日
2025-10-09
出願番号
2024050603
出願日
2024-03-27
発明の名称
電解水生成装置
出願人
株式会社クボタ
代理人
弁理士法人森本国際特許事務所
主分類
C02F
1/461 20230101AFI20251002BHJP(水,廃水,下水または汚泥の処理)
要約
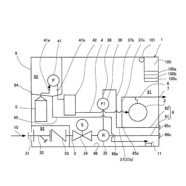
【課題】装置内の一箇所にのみ漏水センサを配置する構成において、複数の原因箇所で生じる漏洩の何れの漏洩も速やかに検知することができる電解水生成装置を提供する。
【解決手段】電解槽2と給水系3と電解液供給系4と電解水供給系6を収める装置筐体9の内部において、電解槽2から離隔した上部位置に薬液ポンプ41を配置し、装置筐体9の内底部96に漏水センサ11を配置し、薬液ポンプ41の下方に漏液受け部94を設け、漏液を漏液受け部94から漏水センサ11へ自然流下で導く漏液誘導部95を設けた。
【選択図】図1
特許請求の範囲
【請求項1】
電解液の電気分解により塩素ガスを生成し、給水中に混気して電解水を生成する電解槽と、
電解槽に給水する給水系と、
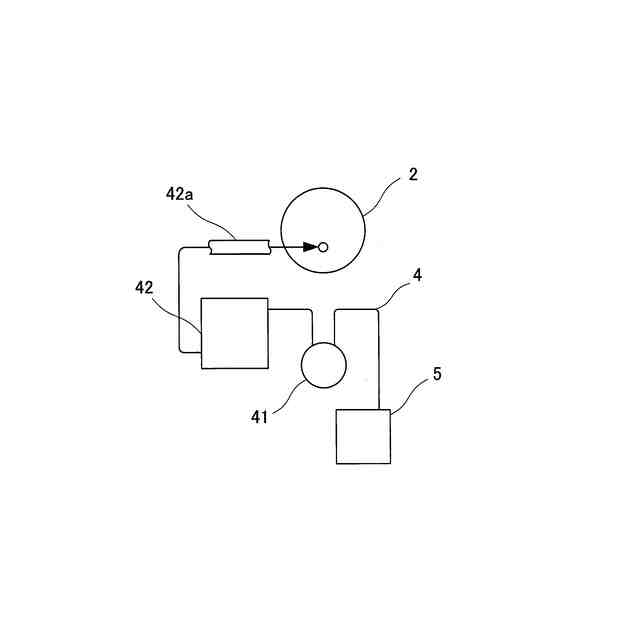
電解液を薬液ポンプで電解槽へ供給する電解液供給系と、
電解槽で生成した電解水を電解水吐出口に供給する電解水供給系と、
電解槽と給水系と電解液供給系と電解水供給系を収める装置筐体を備え、
電解槽から離隔した上部位置に薬液ポンプを配置し、
装置筐体の内底部に漏水センサを配置し、
薬液ポンプの下方に漏液受け部を設け、
漏液を漏液受け部から漏水センサへ自然流下で導く漏液誘導部を設けたことを特徴とする電解水生成装置。
続きを表示(約 180 文字)
【請求項2】
漏液誘導部は、薬液ポンプと漏水センサの間にある装置筐体内の障害物を回避して配置する筒状体からなることを特徴とする請求項1に記載の電解水生成装置。
【請求項3】
漏液誘導部は、漏液受け部を兼ねる傾斜部からなり、傾斜部が漏水センサに向けた漏液の流れを形成するシュート部をなすことを特徴とする請求項1に記載の電解水生成装置。
発明の詳細な説明
【技術分野】
【0001】
本発明は、電解水生成装置に関し、電解により次亜塩素酸水を生成する技術に貢献するものである。
続きを表示(約 1,200 文字)
【背景技術】
【0002】
従来、電解水生成装置で生成した電解次亜塩素酸水を利用する分野として、農畜産業分野、食料分野、加湿空気清浄機など機内で水を扱う家電や設備の分野や、空調機、上下水インフラ、人が集まる学校や病院や商業施設等々における閉鎖空間、半閉鎖空間での除菌、衛生管理、感染症対策、BCP(事業継続計画)がある。
【0003】
また、農畜産業分野においては、酸性電解水(電解次亜塩素酸水)が農産物に使用する特定農薬(特定防除資材)として使用可能となり、活用が促進されている。
【0004】
電解水生成装置は、電解槽で原料薬液を電気分解して塩素ガスを発生させ、塩素ガスを給水系から供給する給水中に混気し、電解水を生成している。
【0005】
特許文献1に記載する空気浄化装置は、貯水容器から溢れた水が、本体ケース外に漏れることを抑制することを目的としており、本体ケース内に設けられた水を貯水する貯水容器と、水を電気分解する電解ユニットと、貯水容器から溢れる水を貯水する排水用容器を備えている。
【0006】
特許文献2に記載する強酸性水生成装置は、液体流通管路や混合液貯蔵タンクといった液体の流通、貯留を行う部分からの液漏れを早期に発見するために、原水の導入管から生成水を排出する排水管までの液体流通管路、混合液貯蔵タンクの外周部および液体流通管路や混合液貯蔵タンクの周囲に、液体が触れたときに検出信号を出力する液漏れ検出センサを取り付けている。
【0007】
特許文献3に記載する電解水生成装置は、処理水と濃縮水とを分離する逆浸透膜を有する逆浸透濾過部と、少なくとも一対の陰極および陽極を有し、処理水のみを導入して電解水を生成する電解槽とを備えている。さらに、電解水生成装置は、処理水を電解槽内に導入する導入路と、電解槽内で生成されたアルカリイオン水を吐出する吐出路と、導入路に連結する還流路を備え、還流手段によって電解槽で得られた電解水の少なくとも一部を、還流路を介して導入路に還流させるものである。
【先行技術文献】
【特許文献】
【0008】
特許第7361249号
特開平9-57270
特開2013-709
【発明の概要】
【発明が解決しようとする課題】
【0009】
従来、電解水生成装置には種々のものがあり、例えば電解型次亜塩素酸水生成装置は、薬液(塩酸)を薬液ポンプにより無隔膜電解槽に移送し、無隔膜電解槽で薬液を電気分解して塩素ガス生成し、塩素ガスを原水と混合して次亜塩素酸水を生成し、外部に吐水する。
【0010】
薬液ポンプは、電解槽から拡散する塩素などの電解生成物による劣化を防止するために、電解槽から離れた装置内の上部域などの位置に、あるいは隔壁を介して配置されることが多い。
(【0011】以降は省略されています)
この特許をJ-PlatPat(特許庁公式サイト)で参照する
関連特許
株式会社クボタ
作業機
24日前
株式会社クボタ
作業車
12日前
株式会社クボタ
作業車
5日前
株式会社クボタ
作業車
12日前
株式会社クボタ
作業車
5日前
株式会社クボタ
作業車
4日前
株式会社クボタ
作業車
14日前
株式会社クボタ
作業車
4日前
株式会社クボタ
作業車
4日前
株式会社クボタ
作業車両
14日前
株式会社クボタ
作業車両
14日前
株式会社クボタ
作業車両
14日前
株式会社クボタ
作業車両
4日前
株式会社クボタ
作業車両
14日前
株式会社クボタ
作業車両
14日前
株式会社クボタ
作業車両
14日前
株式会社クボタ
作業車両
14日前
株式会社クボタ
作業車両
14日前
株式会社クボタ
作業車両
14日前
株式会社クボタ
作業車両
4日前
株式会社クボタ
圃場作業車
5日前
株式会社クボタ
コンバイン
5日前
株式会社クボタ
多目的車両
5日前
株式会社クボタ
多目的車両
5日前
株式会社クボタ
多目的車両
5日前
株式会社クボタ
多目的車両
5日前
株式会社クボタ
コンバイン
5日前
株式会社クボタ
コンバイン
5日前
株式会社クボタ
多目的車両
5日前
株式会社クボタ
多目的車両
5日前
株式会社クボタ
電解水生成装置
4日前
株式会社クボタ
電解水生成装置
4日前
株式会社クボタ
電解水生成装置
4日前
株式会社クボタ
電解水生成装置
4日前
株式会社クボタ
推定装置および推定方法
17日前
株式会社クボタ
予測装置および予測方法
14日前
続きを見る
他の特許を見る