TOP
|
特許
|
意匠
|
商標
特許ウォッチ
Twitter
他の特許を見る
10個以上の画像は省略されています。
公開番号
2025161648
公報種別
公開特許公報(A)
公開日
2025-10-24
出願番号
2024065017
出願日
2024-04-12
発明の名称
容器および検査方法
出願人
キヤノン株式会社
代理人
弁理士法人秀和特許事務所
主分類
G03G
21/18 20060101AFI20251017BHJP(写真;映画;光波以外の波を使用する類似技術;電子写真;ホログラフイ)
要約
【課題】従来のカートリッジを更に発展させる。
【解決手段】現像剤を収容し、画像形成装置に配置される容器であって、接着剤を用いて樹脂部材である第1の部材と第2の部材を接合して一体的に構成されたものであり、接着剤は、蛍光剤が添加されたものであることを特徴とする容器。
【選択図】図19
特許請求の範囲
【請求項1】
現像剤を収容するための容器であって、
第1の部材及び第2の部材と、
前記第1の部材と前記第2の部材とを接続する接続部材と、
を備え、
前記接続部材には蛍光剤が添加されている、
ことを特徴とする容器。
続きを表示(約 830 文字)
【請求項2】
前記接続部材の少なくとも一部は、容器の外部に露出している
ことを特徴とする請求項1に記載の容器。
【請求項3】
前記第1の部材と前記第2の部材は互いに接着されることで現像剤を収容するための収容部を形成している
ことを特徴とする請求項1に記載の容器。
【請求項4】
前記第1の部材が有する第1の接合部と、前記第2の部材が有する第2の接合部が前記接続部材によって接合されるものである
ことを特徴とする請求項2に記載の容器。
【請求項5】
前記第1の接合部と前記第2の接合部のうち、一方は溝部、他方は凸部であり、前記溝部に前記接続部材が配置された状態で前記溝部と前記凸部が篏合することにより、前記第1の部材と前記第2の部材は接合される
ことを特徴とする請求項4に記載の容器。
【請求項6】
前記容器の外部に露出している前記接続部材は、前記第1の接合部と前記第2の接合部の接合面が、前記容器の外部に露出した部分に位置している
ことを特徴とする請求項4に記載の容器。
【請求項7】
前記第1の接合部および前記第2の接合部はそれぞれ、前記接続部材が間に配置された状態で突き当てられる平面である
ことを特徴とする請求項4に記載の容器。
【請求項8】
前記接続部材は、リモネンである
ことを特徴とする請求項1から7のいずれか1項に記載の容器。
【請求項9】
前記接続部材は、ホットメルトである
ことを特徴とする請求項1から7のいずれか1項に記載の容器。
【請求項10】
前記蛍光剤は、前記接続部材に対して0.01-6.0(wt%)の割合で添加されている
ことを特徴とする請求項1から7のいずれか1項に記載の容器。
(【請求項11】以降は省略されています)
発明の詳細な説明
【技術分野】
【0001】
本発明は、容器および検査方法に関する。
続きを表示(約 1,600 文字)
【背景技術】
【0002】
電子写真画像形成装置(画像形成装置)とは、電子写真画像形成方式を用いて記録媒体に画像を形成する装置である。画像形成装置の例としては、電子写真複写機、電子写真プリンタ(LEDプリンタ、レーザビームプリンタ等)、ファクシミリ装置及びワードプロセッサ等が挙げられる。
【0003】
画像形成装置に着脱可能なカートリッジであって、第1枠体と第2枠体と溶着することで、トナーを収納するトナー収納部を形成するカートリッジが開示されている(特許文献1)。
【先行技術文献】
【特許文献】
【0004】
特開平6-019241号公報
【発明の概要】
【発明が解決しようとする課題】
【0005】
本発明は、従来のカートリッジを更に発展させることを目的とする。
【課題を解決するための手段】
【0006】
本発明は、以下の構成を採用する。すなわち、
現像剤を収容するための容器であって、
第1の部材及び第2の部材と、
前記第1の部材と前記第2の部材とを接続する接続部材と、
を備え、
前記接続部材には蛍光剤が添加されている、
ことを特徴とする容器である。
【発明の効果】
【0007】
本発明によれば、新たな形態のカートリッジを提供することができる。
【図面の簡単な説明】
【0008】
プリンタの構成を示す概略断面図
プロセスカートリッジおよびトナーカートリッジの斜視図
プロセスカートリッジおよびトナーカートリッジの斜視図
プロセスカートリッジおよびトナーカートリッジの側面図
プロセスカートリッジおよびトナーカートリッジの側面図
プロセスカートリッジおよびトナーカートリッジの断面図
取り外し方向に見たプロセスカートリッジとトナーカートリッジの図
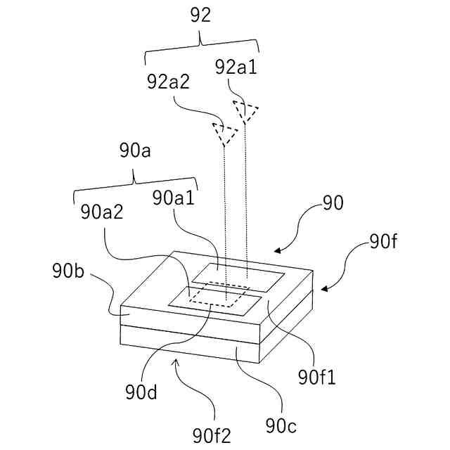
メモリタグの説明図
プロセスカートリッジのメモリタグの配置を示す斜視図
プロセスカートリッジのメモリタグの配置を示す上面図
プロセスカートリッジのメモリタグの配置を示す断面図
取り付け部材について説明する斜視図
プロセスカートリッジのメモリタグの配置を示す側面図
プロセスカートリッジへのトナーカートリッジ取り付けを示す断面図
取り付け部材の構成を示す斜視図
取り付け部材の及びクリーニング回収室の一部を示す図
取り付け部材の構成を示す斜視図
取り付け部材の構成を示す断面図
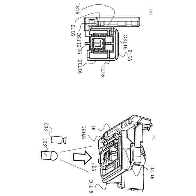
観察方法を説明する斜視図
観察方法を説明する図
観察方法の一例を示す図
観察方法の一例を示す図
クリーニング枠体の構成を示す断面図
クリーニング枠体の接合工程を示す図
接着剤の塗布状態の検査工程を示す図
【発明を実施するための形態】
【0009】
以下、図面を参照して、本発明の好適な実施形態を例示的に詳しく説明する。ただし、以下の実施形態に記載されている構成部品の寸法、材質、形状、それらの相対配置などは、本発明が適用される装置の構成や各種条件により適宜変更されるべきものである。従って、特に特定的な記載がない限りは、本発明の範囲をそれらのみに限定する趣旨のものではない。
【0010】
[実施形態]
<プリンタの全体概要>
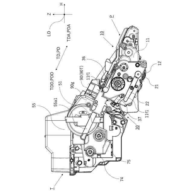
本実施形態に係る画像形成装置としてのプリンタ100の基本構成とその動作について、図1を用いて説明する。図1は、本実施形態に係るプリンタ100の構成を示す概略断面図である。矢印Zは鉛直方向を示し、矢印Hは水平方向を示す。
(【0011】以降は省略されています)
この特許をJ-PlatPat(特許庁公式サイト)で参照する
関連特許
キヤノン株式会社
容器
3日前
キヤノン株式会社
トナー
24日前
キヤノン株式会社
トナー
19日前
キヤノン株式会社
トナー
6日前
キヤノン株式会社
トナー
19日前
キヤノン株式会社
トナー
19日前
キヤノン株式会社
電子機器
1か月前
キヤノン株式会社
電子機器
1か月前
キヤノン株式会社
現像装置
17日前
キヤノン株式会社
電子機器
28日前
キヤノン株式会社
現像装置
10日前
キヤノン株式会社
撮影装置
17日前
キヤノン株式会社
現像容器
17日前
キヤノン株式会社
撮像装置
3日前
キヤノン株式会社
定着装置
1か月前
キヤノン株式会社
撮像装置
3日前
キヤノン株式会社
収容装置
1か月前
キヤノン株式会社
撮像装置
3日前
キヤノン株式会社
撮像装置
20日前
キヤノン株式会社
測距装置
12日前
キヤノン株式会社
撮像装置
1か月前
キヤノン株式会社
現像装置
17日前
キヤノン株式会社
表示装置
1か月前
キヤノン株式会社
撮像装置
24日前
キヤノン株式会社
現像容器
17日前
キヤノン株式会社
定着装置
1か月前
キヤノン株式会社
記録装置
3日前
キヤノン株式会社
記録装置
17日前
キヤノン株式会社
定着装置
18日前
キヤノン株式会社
電子機器
26日前
キヤノン株式会社
記録装置
24日前
キヤノン株式会社
発光装置
1か月前
キヤノン株式会社
モジュール
19日前
キヤノン株式会社
現像剤容器
25日前
キヤノン株式会社
光学センサ
19日前
キヤノン株式会社
半導体装置
26日前
続きを見る
他の特許を見る