TOP
|
特許
|
意匠
|
商標
特許ウォッチ
Twitter
他の特許を見る
公開番号
2025161832
公報種別
公開特許公報(A)
公開日
2025-10-24
出願番号
2025130143,2023197086
出願日
2025-08-04,2023-11-21
発明の名称
データ処理装置、プログラム及び制御方法
出願人
キヤノン株式会社
代理人
個人
,
個人
,
個人
,
個人
,
個人
主分類
G06F
3/12 20060101AFI20251017BHJP(計算;計数)
要約
【課題】 データ処理装置でファイルを選択する場合、アプリケーション内部にファイルブラウザ機能を搭載するように実装する場合と、オペレーティングシステム(OS)が提供するファイルブラウザ機能を利用する場合とがあり、ユーザビリティが向上するようにこれらを使い分けたい。
【解決手段】 OSに関する情報に応じて、アプリケーション内部のファイルブラウザ機能を利用するかOSが提供するファイルブラウザ機能を利用するかを制御するようにする。
【選択図】 図7
特許請求の範囲
【請求項1】
オペレーティングシステム(OS)が動作するデータ処理装置のコンピュータに制御方法を実行させるためのプログラムであって、
前記制御方法は、
前記OSが提供するファイルブラウザ機能を用いた第一ファイル選択画面を表示することを前記OSに対して指示するか、前記プログラムのファイルブラウザ機能を用いた第二ファイル選択画面を表示するかを、前記OSに関する情報に基づいて制御する制御工程を有することを特徴とするプログラム。
続きを表示(約 1,000 文字)
【請求項2】
前記OSに関する情報はOSのバージョンの情報であることを特徴とする請求項1に記載のプログラム。
【請求項3】
前記OSに関する情報はOSが提供する所定のファイル選択画面を提供できるかを示す情報であることを特徴とする請求項1に記載のプログラム。
【請求項4】
前記第二ファイル選択画面に表示するファイルは、ファイルの日付の情報に基づいて表示をフィルタリングすることが可能であることを特徴とする請求項1に記載のプログラム。
【請求項5】
前記OSが所定のバージョンである場合、前記制御工程では前記第一ファイル選択画面を表示することを指示し、前記OSが所定のバージョンでない場合、前記制御工程では前記第二ファイル選択画面を表示することを特徴とする請求項1に記載のプログラム。
【請求項6】
写真ファイルを選択する場合は、前記制御工程は前記第一ファイル選択画面を表示することを指示するか前記第二ファイル選択画面を表示するかを前記OSに関する情報に基づいて制御し、文書ファイルを選択する場合は、前記OSに関する情報によらず前記制御工程は前記OSが提供するファイルブラウザ機能を用いたファイル選択画面を表示することを前記OSに指示することを特徴とする請求項1に記載のプログラム。
【請求項7】
画像形成装置に印刷指示するための印刷データを選択するためのボタンが選択された場合、前記OSが所定の条件を満たすのであれば前記制御工程では前記第二ファイル選択画面を表示し、前記OSが前記所定の条件を満たさないのであれば前記制御工程では、ファイルの取得先を選択する画面を表示し、当該画面で所定の取得先が選択されると前記第一ファイル選択画面を表示することを前記OSに対して指示することを特徴とする請求項1に記載のプログラム。
【請求項8】
前記OSはAndroid(登録商標)であることを特徴とする請求項1に記載のプログラム。
【請求項9】
前記第一ファイル選択画面は写真ファイルを抽出して表示することを特徴とする請求項1に記載のプログラム。
【請求項10】
前記第一ファイル選択画面ではファイルにアクセスするためにユーザーの許可を求めないことを特徴とする請求項1に記載のプログラム。
(【請求項11】以降は省略されています)
発明の詳細な説明
【技術分野】
【0001】
本発明は、データ処理装置、プログラム及び制御方法に関する。
続きを表示(約 1,500 文字)
【背景技術】
【0002】
近年、モバイル端末の普及と共に、企業の業務端末としてもモバイル端末が採用されるケースが増えるようになった。複合機やプリンタ等の画像処理装置に対して処理の実行を指示するためのアプリケーションをインストールしたモバイル端末から、画像処理装置に対して印刷やスキャンの指示を行うことができる。例えばユーザーはモバイル端末のアプリケーション上でフォルダからのファイルの選択と印刷設定を行ってから、印刷の実行指示を画像処理装置に送信する。実行指示を受信した画像処理装置は設定に従って印刷処理を実行する。
【0003】
アプリケーションにおいてモバイル端末内のストレージに設けられたフォルダからファイルを選択する機能を有するためには、アプリケーション内部にファイルブラウザ機能を搭載するように実装する場合と、オペレーティングシステム(OS)が提供するファイルブラウザ機能を利用する場合が有る。特許文献1には、アプリケーション内部のファイルブラウザ機能とOSのファイルブラウザ機能の両方の機能を有し、ユーザー操作に応じて、どちらのファイルブラウザ機能を使用するか切り替える方法が開示されている。
【先行技術文献】
【特許文献】
【0004】
特開2019-008370号公報
【発明の概要】
【発明が解決しようとする課題】
【0005】
従来のようにアプリケーション内部のファイルブラウザ機能とOSのファイルブラウザ機能をユーザーが切り替える構成であると、ユーザーにとっては手間である。またOSの仕様変更等に応じて、ユーザーにとって使い勝手の良いファイルブラウザ機能は変わる可能性がある。
【0006】
本発明の目的は、ユーザーにとって使い勝手の良いアプリケーションのファイル選択方法を提供することである。
【課題を解決するための手段】
【0007】
オペレーティングシステム(OS)が動作するデータ処理装置のコンピュータに制御方法を実行させるためのプログラムであって、前記制御方法は前記OSが提供するファイルブラウザ機能を用いた第一ファイル選択画面を表示することを前記OSに対して指示するか、前記プログラムのファイルブラウザ機能を用いた第二ファイル選択画面を表示するかを、前記OSに関する情報に基づいて制御する制御工程を有することを特徴とするプログラム。
【発明の効果】
【0008】
ユーザーにとって使い勝手の良いアプリケーションのファイル選択方法を提供することができる。
【図面の簡単な説明】
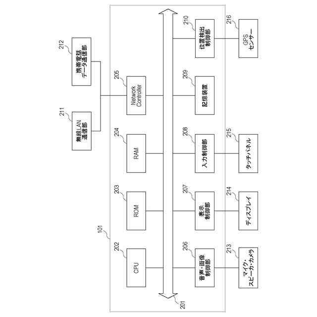
【0009】
本発明のシステム構成を示す図である。
データ処理装置のハードウェア構成を示す図である。
画像処理装置のハードウェア構成を示す図である。
データ処理装置のソフトウェアの構成を示す図である。
データ処理装置で動作するアプリケーションで表示する画面の一例を示す図である。
データ処理装置が表示する画面の一例を示す図である。
写真ファイルを選択、印刷指示する際の処理を示すフローチャートである。
文書ファイルを選択、印刷指示する際の処理を示すフローチャートである。
【発明を実施するための形態】
【0010】
以下、添付図面を参照して本実施形態を詳しく説明する。また、本実施形態で説明されている特徴の組み合わせの全てが本発明の解決手段に必須のものとは限らない。
(【0011】以降は省略されています)
この特許をJ-PlatPat(特許庁公式サイト)で参照する
関連特許
キヤノン株式会社
容器
7日前
キヤノン株式会社
容器
1日前
キヤノン株式会社
トナー
10日前
キヤノン株式会社
トナー
23日前
キヤノン株式会社
トナー
23日前
キヤノン株式会社
トナー
23日前
キヤノン株式会社
トナー
28日前
キヤノン株式会社
現像容器
21日前
キヤノン株式会社
現像装置
21日前
キヤノン株式会社
電子機器
1か月前
キヤノン株式会社
現像装置
14日前
キヤノン株式会社
定着装置
1か月前
キヤノン株式会社
現像容器
21日前
キヤノン株式会社
記録装置
21日前
キヤノン株式会社
撮影装置
21日前
キヤノン株式会社
撮像装置
28日前
キヤノン株式会社
表示装置
1か月前
キヤノン株式会社
発光装置
1か月前
キヤノン株式会社
撮像装置
1か月前
キヤノン株式会社
電子機器
1か月前
キヤノン株式会社
電子機器
1か月前
キヤノン株式会社
定着装置
22日前
キヤノン株式会社
記録装置
28日前
キヤノン株式会社
収容装置
1か月前
キヤノン株式会社
撮像装置
24日前
キヤノン株式会社
撮像装置
7日前
キヤノン株式会社
撮像装置
7日前
キヤノン株式会社
撮像装置
1日前
キヤノン株式会社
撮像装置
7日前
キヤノン株式会社
定着装置
1か月前
キヤノン株式会社
記録装置
7日前
キヤノン株式会社
電子機器
1か月前
キヤノン株式会社
表示装置
1日前
キヤノン株式会社
現像装置
21日前
キヤノン株式会社
測距装置
16日前
キヤノン株式会社
光学センサ
23日前
続きを見る
他の特許を見る