TOP
|
特許
|
意匠
|
商標
特許ウォッチ
Twitter
他の特許を見る
10個以上の画像は省略されています。
公開番号
2025161911
公報種別
公開特許公報(A)
公開日
2025-10-24
出願番号
2025137394,2021091344
出願日
2025-08-20,2021-05-31
発明の名称
電子機器及びその制御方法及びプログラム及び記録媒体
出願人
キヤノン株式会社
代理人
個人
,
個人
,
個人
,
個人
,
個人
主分類
H04N
23/63 20230101AFI20251017BHJP(電気通信技術)
要約
【課題】 複数のライブビュー画像が表示されている状態での拡大位置について、ユーザーが視認できる。
【解決手段】 第1の光学系を介して撮影された第1画像と、第2の光学系を介して撮影され前記第1画像に対して視差のある第2画像と、が並んだ第3画像を取得する取得手段と、
ユーザー操作に応じて、前記第3画像のうち所定の処理を適用する対象範囲を設定する設定手段と、を有し、
前記設定手段は、前記対象範囲を示すアイテムが前記第1画像と前記第2画像のうちいずれか一方のみを含むように前記対象範囲を設定することを特徴とする。
【選択図】 図7
特許請求の範囲
【請求項1】
第1の光学系を介して撮影された第1画像と、第2の光学系を介して撮影され前記第1画像に対して視差のある第2画像とが並んだ第3画像、又は単一の光学系を介して撮影された第4画像を取得する取得手段と、
焦点検出領域を示すアイテムを表示部に表示するよう制御する制御手段と、
ユーザー操作の検出に基づいて、前記アイテムの位置を前記表示部上で指定するための位置指定を受け付ける受付手段と、
前記位置指定に基づいて、前記アイテムを前記表示部上に表示するよう制御する表示制御手段と、を有し、
前記第3画像が前記表示部に表示されているか、前記第4画像が前記表示部に表示されているかに応じて、前記アイテムが前記受付手段による前記位置指定の受け付けに応じて前記表示部に表示される位置を異ならせることを特徴とする電子機器。
続きを表示(約 1,200 文字)
【請求項2】
前記第3画像が前記表示部に表示されている場合、前記受付手段による前記位置指定の受け付けに応じて、前記アイテムは前記第1画像の所定の位置に重畳して表示され、前記第4画像が前記表示部に表示されている場合、前記受付手段による前記位置指定の受け付けに応じて、前記アイテムは前記指定された位置に重畳して表示されることを特徴とする請求項1に記載の電子機器。
【請求項3】
前記第3画像が前記表示部に表示されている場合、前記受付手段による前記位置指定の受け付けに応じて、前記アイテムは前記第1画像及び前記第2画像のいずれか一方の所定の位置に重畳して表示されることを特徴とする請求項1又は2に記載の電子機器。
【請求項4】
前記第3画像が前記表示部に表示されている場合、前記受付手段による前記位置指定の受け付けに応じて、前記アイテムは前記第1画像及び前記第2画像の所定の位置に重畳して表示されることを特徴とする請求項1又は2に記載の電子機器。
【請求項5】
前記第3画像が前記表示部に表示されている場合、前記受付手段によって、前記第1画像と前記第2画像の両方を含む位置指定が受け付けられたとしても、前記アイテムは前記第1画像と前記第2画像の両方を含む位置に重畳して表示されないことを特徴とする請求項1又は2に記載の電子機器。
【請求項6】
前記アイテムは、さらに前記焦点検出領域の合焦度を示すことを特徴とする請求項1又は2に記載の電子機器。
【請求項7】
前記所定の位置は中央であることを特徴とする請求項1又は2に記載の電子機器。
【請求項8】
前記制御手段は、対象領域に対して拡大処理を実行するよう制御し、
前記受付手段は、ユーザー操作の検出に基づいて、前記拡大枠の位置を前記画面上で指定するための拡大位置指定を受け付け、
前記表示制御手段は、
前記対象領域を示す拡大枠を前記画面に表示するよう制御し、
前記位置指定に基づいて、前記拡大枠を前記画面上で移動して表示するよう制御し、
前記第3画像が前記表示部に表示されている場合、前記アイテムは前記拡大枠と連動して移動せずに表示され、前記第4画像が前記表示部に表示されている場合、前記アイテムは前記拡大枠と連動して移動して表示されることを特徴とする請求項1に記載の電子機器。
【請求項9】
前記表示制御手段は、前記第3画像が前記表示部に表示されている場合、外部表示装置で最初に表示される領域に対応する位置を示すマジックウィンドウを表示するよう制御することを特徴とする請求項1又は2に記載の電子機器。
【請求項10】
前記マジックウィンドウは、前記表示部上で、前記第1画像および前記第2画像の両方に重畳して表示されることを特徴とする請求項9に記載の電子機器。
(【請求項11】以降は省略されています)
発明の詳細な説明
【技術分野】
【0001】
本発明は、電子機器及びその制御方法及びプログラム及び記録媒体に関するものである。
続きを表示(約 1,700 文字)
【背景技術】
【0002】
近年、2つのレンズ光学系を有したデジタルカメラが知られている。2つの光学系が同じ方向を撮像するように配置されていれば、それぞれ取得した2つの視差のある画像から、180度の範囲を撮像した画像(半天球の画像)や立体視が可能な画像を作成することができる。2つの光学系が正反対の方向を撮像するように配置されていれば、それぞれ取得した2つの画像から、360度の範囲の画像(全天球の画像)を作成することができる。
【0003】
このような2つの光学系を有するデジタルカメラで2つの視差のある画像を撮影する場合、ユーザーは2つのライブビュー画像を確認しながら撮影を行うことになる。通常の、1つの光学系を有するデジタルカメラでは、ユーザーが1つのライブビュー画像を拡大表示して細かく確認することができる。
【0004】
特許文献1には、1つの光学系を有するデジタルカメラにおいて、ライブビュー画像内で拡大枠の位置とAF枠の位置を別々に設定可能であることが開示されている。ユーザーが拡大指示を行った場合、1つのライブビュー画像に表示される拡大枠の表示位置で拡大が実行される。特許文献2には、2つの光学系で取得した全天球画像を表示し、ユーザーによって撮影準備指示が行われると、特定の拡大範囲のライブビュー画像を拡大表示することが開示されている。
【先行技術文献】
【特許文献】
【0005】
特開2013-201527号公報
特開2019-12881号公報
【発明の概要】
【発明が解決しようとする課題】
【0006】
しかしながら特許文献1では、2つのライブビュー画像が表示されている場合についての開示がなく、どちらのライブビュー画像に拡大枠が表示され、どちらのライブビュー画像が拡大されるかについて考慮されていない。特許文献2では、撮影準備指示が行われるまでは魚眼画像のどこが拡大されるのか、拡大範囲を認識できない。
【0007】
そこで本発明は、複数のライブビュー画像が表示されている状態での拡大位置について、ユーザーが視認できるようにすることを目的とする。
【課題を解決するための手段】
【0008】
上記課題を解決するために、本発明は、
第1の光学系を介して撮影された第1画像と、第2の光学系を介して撮影され前記第1画像に対して視差のある第2画像と、が並んだ第3画像を取得する取得手段と、
ユーザー操作に応じて、前記第3画像のうち所定の処理を適用する対象範囲を設定する設定手段と、を有し、
前記設定手段は、前記対象範囲を示すアイテムが前記第1画像と前記第2画像のうちいずれか一方のみを含むように前記対象範囲を設定することを特徴とする。
【発明の効果】
【0009】
本発明によれば、複数のライブビュー画像が表示されている状態での拡大位置について、ユーザーが視認できる。
【図面の簡単な説明】
【0010】
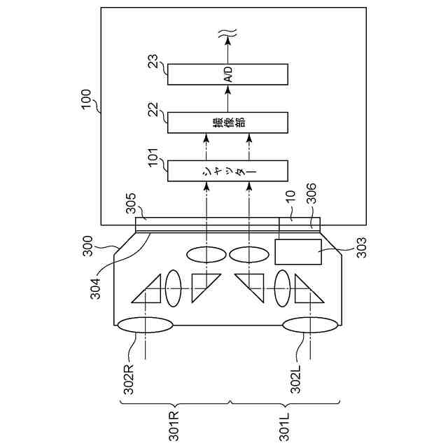
デジタルカメラ100の外観図である。
デジタルカメラ100のハードウェア構成例を示す概略ブロック図である。
レンズユニットの構成の一例を示す模式図である。
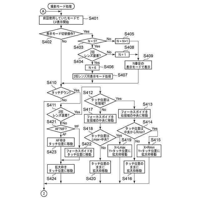
本実施形態による2眼レンズ装着時のカメラの表示モードの切り替え処理と、ライブビュータッチ時の処理のフローチャートである。
本実施形態による2眼レンズ装着時のカメラのライブビュー表示の一例を示す図である。
本実施形態による2眼レンズ装着時のカメラの拡大枠移動処理のフローチャートである。
本実施形態による2眼レンズ装着時のカメラのライブビューの左右境界を説明するための図である。
実施形態による2眼レンズ装着時のカメラの拡大処理と撮影操作のフローチャートである。
実施形態による2眼レンズ装着時のカメラの拡大操作を説明するための図である。
【発明を実施するための形態】
(【0011】以降は省略されています)
この特許をJ-PlatPat(特許庁公式サイト)で参照する
関連特許
キヤノン株式会社
容器
7日前
キヤノン株式会社
容器
1日前
キヤノン株式会社
トナー
10日前
キヤノン株式会社
トナー
23日前
キヤノン株式会社
トナー
23日前
キヤノン株式会社
トナー
23日前
キヤノン株式会社
トナー
28日前
キヤノン株式会社
現像容器
21日前
キヤノン株式会社
現像装置
21日前
キヤノン株式会社
電子機器
1か月前
キヤノン株式会社
現像装置
14日前
キヤノン株式会社
定着装置
1か月前
キヤノン株式会社
現像容器
21日前
キヤノン株式会社
記録装置
21日前
キヤノン株式会社
撮影装置
21日前
キヤノン株式会社
撮像装置
28日前
キヤノン株式会社
表示装置
1か月前
キヤノン株式会社
発光装置
1か月前
キヤノン株式会社
撮像装置
1か月前
キヤノン株式会社
電子機器
1か月前
キヤノン株式会社
電子機器
1か月前
キヤノン株式会社
定着装置
22日前
キヤノン株式会社
記録装置
28日前
キヤノン株式会社
収容装置
1か月前
キヤノン株式会社
撮像装置
24日前
キヤノン株式会社
撮像装置
7日前
キヤノン株式会社
撮像装置
7日前
キヤノン株式会社
撮像装置
1日前
キヤノン株式会社
撮像装置
7日前
キヤノン株式会社
定着装置
1か月前
キヤノン株式会社
記録装置
7日前
キヤノン株式会社
電子機器
1か月前
キヤノン株式会社
表示装置
1日前
キヤノン株式会社
現像装置
21日前
キヤノン株式会社
測距装置
16日前
キヤノン株式会社
光学センサ
23日前
続きを見る
他の特許を見る