TOP
|
特許
|
意匠
|
商標
特許ウォッチ
Twitter
他の特許を見る
公開番号
2025161983
公報種別
公開特許公報(A)
公開日
2025-10-24
出願番号
2025141850,2021126784
出願日
2025-08-28,2021-08-02
発明の名称
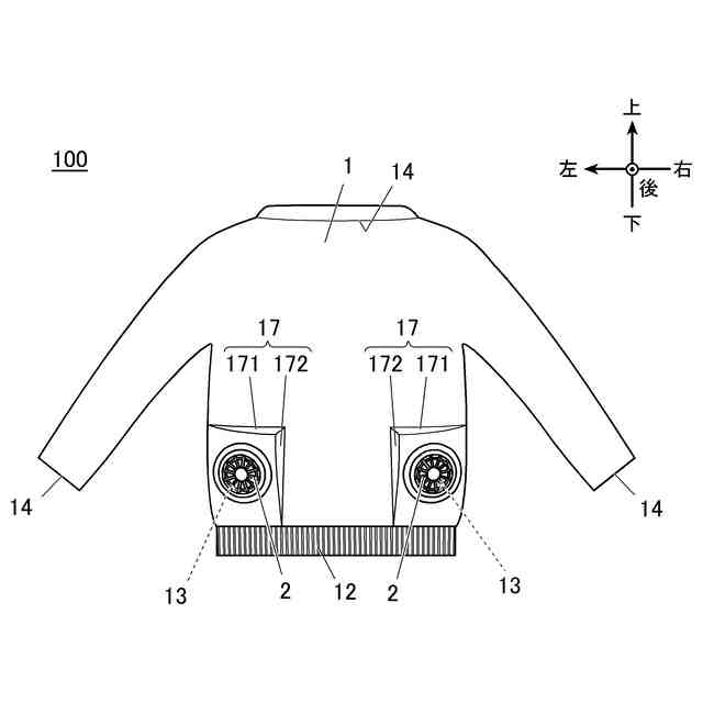
ファン付きウェアのウェア本体及びファン付きウェア
出願人
株式会社セフト研究所
代理人
個人
,
個人
主分類
A41D
13/002 20060101AFI20251017BHJP(衣類)
要約
【課題】着用時の体勢の自由度が高いファン付きウェア用のウェア本体及びファン付きウェアを提供する。
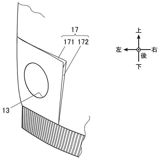
【解決手段】通気性のない又はファン2による空気の導入によって膨らませることができる程度の通気性を有する服地Cによって、少なくとも着用者の胴部を覆う形状に形成され、ファン2を取り付けるための取付孔13と、ファン2によって導入された空気を排出する空気排出部14と、を備えるファン付きウェア100のウェア本体1であって、取付孔13を覆うように設けられ、ファン2によって空気が流通した際に、ファン2を身体又は下着から離間させるためにウェア本体1の厚み方向の寸法を調整可能な襠部17を備え、襠部17は、取付孔13の上方に、左右方向に延在するように設けられた横襠部171と、取付孔13の側方の少なくとも一方に、上下方向に延在するように設けられた縦襠部172と、を備える。
【選択図】図2B
特許請求の範囲
【請求項1】
通気性のない又はファンによる空気の導入によって膨らませることができる程度の通気性を有する服地によって、少なくとも着用者の胴部を覆う形状に形成され、
前記ファンを取り付けるための取付孔と、
前記ファンによって導入された空気を排出する空気排出部と、
を備えるファン付きウェアのウェア本体であって、
前記取付孔を覆うように設けられ、前記ファンによって空気が流通した際に、前記ファンを身体又は下着から離間させるために前記ウェア本体の厚み方向の寸法を調整可能な襠部を備え、
前記襠部は、前記取付孔の上方に、左右方向に延在するように設けられた横襠部と、前記取付孔の側方の少なくとも一方に、上下方向に延在するように設けられた縦襠部と、を備えることを特徴とするファン付きウェアのウェア本体。
続きを表示(約 430 文字)
【請求項2】
前記襠部の襠幅の最大長は、前記ファンの厚み方向の長さ以下の長さであることを特徴とする請求項1に記載のファン付きウェアのウェア本体。
【請求項3】
前記縦襠部は、前記ウェア本体の裾部まで延設されていることを特徴とする請求項1又は2に記載のファン付きウェアのウェア本体。
【請求項4】
前記襠部は、その一端が前記ウェア本体に固定された笹襠であって、
前記横襠部は、脇側の端部が前記ウェア本体に固定され、
前記縦襠部は、下方側の端部が前記ウェア本体に固定されていることを特徴とする請求項1から3のいずれか一項に記載のファン付きウェアのウェア本体。
【請求項5】
請求項1から4のいずれか一項に記載のファン付きウェアのウェア本体と、
前記ウェア本体の内部に空気を導入するファンと、
前記ファンに電力を供給する電源と、を備えることを特徴とするファン付きウェア。
発明の詳細な説明
【技術分野】
【0001】
本発明は、身体又は下着の表面に空気の流れを発生させることによって身体を冷却するファン付きウェアのウェア本体及びファン付きウェアに関する。
続きを表示(約 1,400 文字)
【背景技術】
【0002】
近年、ウェア本体に設けられた平面状のファン取付孔にファンを取り付け、ファンが取り込んだ大量の外気を身体又は下着の表面と略平行に流通させることにより、身体から出た汗を蒸発させて、身体を冷却するファン付きウェアが実用化されている(例えば、特許文献1参照)。
【先行技術文献】
【特許文献】
【0003】
特許第6382314号公報
【発明の概要】
【発明が解決しようとする課題】
【0004】
しかしながら、特許文献1の発明では、ファンが所定の厚みを有するため、着用者が手を挙げる、あるいは前傾姿勢を取るなどの、ウェア本体を伸張させるような体勢を取った際に、ファンが身体又は下着の表面に当接することとなり、取り込まれる外気の量が低減してしまい、冷却効果を十分に得られないことがある。
【0005】
本発明の目的は、着用時の体勢の自由度が高いファン付きウェアのウェア本体及びファン付きウェアを提供することである。
【課題を解決するための手段】
【0006】
請求項1に記載の発明は、ファン付きウェアのウェア本体であって、
通気性のない又はファンによる空気の導入によって膨らませることができる程度の通気性を有する服地によって、少なくとも着用者の胴部を覆う形状に形成され、
前記ファンを取り付けるための取付孔と、
前記ファンによって導入された空気を排出する空気排出部と、
を備えるファン付きウェアのウェア本体であって、
前記取付孔を覆うように設けられ、前記ファンによって空気が流通した際に、前記ファンを身体又は下着から離間させるために前記ウェア本体の厚み方向の寸法を調整可能な襠部を備え、
前記襠部は、前記取付孔の上方に、左右方向に延在するように設けられた横襠部と、前記取付孔の側方の少なくとも一方に、上下方向に延在するように設けられた縦襠部と、を備えることを特徴とする。
【0007】
請求項2に記載の発明は、請求項1に記載のファン付きウェアのウェア本体であって、
前記襠部の襠幅の最大長は、前記ファンの厚み方向の長さ以下の長さであることを特徴とする。
【0008】
請求項3に記載の発明は、請求項1又は2に記載のファン付きウェアのウェア本体であって、
前記縦襠部は、前記ウェア本体の裾部まで延設されていることを特徴とする。
【0009】
請求項4に記載の発明は、請求項1から3のいずれか一項に記載のファン付きウェアのウェア本体であって、
前記襠部は、その一端が前記ウェア本体に固定された笹襠であって、
前記横襠部は、脇側の端部が前記ウェア本体に固定され、
前記縦襠部は、下方側の端部が前記ウェア本体に固定されていることを特徴とする。
【0010】
請求項5に記載の発明は、ファン付きウェアであって、
請求項1から4のいずれか一項に記載のファン付きウェアのウェア本体と、
前記ウェア本体の内部に空気を導入するファンと、
前記ファンに電力を供給する電源と、を備えることを特徴とする。
【発明の効果】
(【0011】以降は省略されています)
この特許をJ-PlatPat(特許庁公式サイト)で参照する
関連特許
株式会社セフト研究所
ファン付きウェアのウェア本体及びファン付きウェア
2日前
個人
衿芯
3か月前
個人
和服
5か月前
個人
シャツ
1か月前
個人
ネクタイ
1か月前
個人
二部式袍
9か月前
個人
靴下
10か月前
個人
下着
4か月前
個人
衣装
6か月前
個人
多機能装身具
1か月前
個人
マスク装着具
11か月前
個人
マスク
1か月前
個人
簡単帯
10か月前
個人
肩章付き衣服。
4か月前
個人
健康靴下
11か月前
東レ株式会社
防護服
19日前
個人
シャツ改造方法
6か月前
個人
:マスクカバー
2か月前
個人
作業補助ミトン
8か月前
個人
ボクサーパンツ
11か月前
個人
ショーツ
10か月前
個人
手首穴付き手袋
11か月前
東洋紡株式会社
マスク
25日前
株式会社聖
手足保護具
12日前
有限会社原電業
指手袋
10か月前
個人
靴下
11か月前
個人
足首用サポーター
8か月前
個人
手袋
7か月前
個人
車椅子用グローブ
2か月前
個人
内フィルムマスク
27日前
個人
ソフトキャミブラ
6か月前
株式会社聖
手足保護具
9か月前
個人
レインコート
5か月前
興和株式会社
マスク
8か月前
グンゼ株式会社
衣服
5か月前
個人
和装下着の半衿カバー
11か月前
続きを見る
他の特許を見る