TOP
|
特許
|
意匠
|
商標
特許ウォッチ
Twitter
他の特許を見る
10個以上の画像は省略されています。
公開番号
2025162344
公報種別
公開特許公報(A)
公開日
2025-10-27
出願番号
2024065585
出願日
2024-04-15
発明の名称
撹拌装置
出願人
三浦工業株式会社
代理人
SK弁理士法人
,
個人
,
個人
主分類
B01F
35/222 20220101AFI20251020BHJP(物理的または化学的方法または装置一般)
要約
【課題】内釜の内容物を効果的に混合可能な撹拌装置を提供する。
【解決手段】内釜10と、撹拌機構20と、モータ30と、制御装置40とを備える撹拌装置1であって、撹拌機構は、内釜の内側で回転可能に支持されているシャフト22と、シャフトに接続された複数の撹拌羽根24とを有し、モータは、撹拌機構のシャフトに接続されており、制御装置は、第1期間P1においてモータを第1速度V1で駆動させ、第1期間P1よりも後の第2期間P2においてモータを第1速度V1とは異なる第2速度V2で駆動させ、第1期間P1および第2期間P2の少なくとも一方は、撹拌機構のシャフトが1回転する1周期よりも長い期間であり、第1速度V1および第2速度V2のうち絶対値がより大きい方をVH、他方をVLとしたときに、-1≦(VL/VH)<1の関係式を満たす、撹拌装置が提供される。
【選択図】図1
特許請求の範囲
【請求項1】
内釜と、撹拌機構と、モータと、制御装置とを備える撹拌装置であって、
前記撹拌機構は、
前記内釜の内側で回転可能に支持されているシャフトと、
前記シャフトに接続された複数の撹拌羽根と
を有し、
前記モータは、前記撹拌機構の前記シャフトに接続されており、
前記制御装置は、第1期間において前記モータを第1速度で駆動させ、前記第1期間よりも後の第2期間において前記モータを前記第1速度とは異なる第2速度で駆動させ、
前記第1期間および前記第2期間の少なくとも一方は、前記撹拌機構の前記シャフトが1回転する1周期よりも長い期間であり、
前記第1速度および前記第2速度のうち絶対値がより大きい方をVH、他方をVLとしたときに(ただし、前記第1速度の絶対値が前記第2速度の絶対値に等しい場合には、前記第1速度および前記第2速度の任意の一方をVHとする)、-1≦(VL/VH)<1の関係式を満たす、撹拌装置。
続きを表示(約 680 文字)
【請求項2】
請求項1に記載の撹拌装置であって、
前記第2期間は、前記第1期間に連続する期間であり、
(VL/VH)>0である、撹拌装置。
【請求項3】
請求項2に記載の撹拌装置であって、
0.1≦(VL/VH)<1である、撹拌装置。
【請求項4】
請求項3に記載の撹拌装置であって、
0.1≦(VL/VH)≦0.6である、撹拌装置。
【請求項5】
請求項2または請求項3に記載の撹拌装置であって、
前記第1期間の長さは、前記第2期間の長さと同じである、撹拌装置。
【請求項6】
請求項2または請求項3に記載の撹拌装置であって、
前記制御装置は、前記第1期間および前記第2期間の組を複数回繰り返して前記モータを駆動させる、撹拌装置。
【請求項7】
請求項2に記載の撹拌装置であって、
前記制御装置は、前記第1期間と前記第2期間との間の第3期間において前記モータを停止させる、撹拌装置。
【請求項8】
請求項7に記載の撹拌装置であって、
0.1≦(VL/VH)<1である、撹拌装置。
【請求項9】
請求項8に記載の撹拌装置であって、
0.1≦(VL/VH)≦0.8である、撹拌装置。
【請求項10】
請求項7または請求項8に記載の撹拌装置であって、
前記第1期間の長さは、前記第2期間の長さと同じである、撹拌装置。
(【請求項11】以降は省略されています)
発明の詳細な説明
【技術分野】
【0001】
本発明は、撹拌装置に関する。
続きを表示(約 4,200 文字)
【背景技術】
【0002】
従来、食材を加熱しながら撹拌する調理装置が知られている。例えば下記の特許文献1は、サーボモータに接続された撹拌子(アジテータ)により、加熱釜に収容された食材を所定の撹拌パターンに従い撹拌するように構成された撹拌装置を開示している。
【先行技術文献】
【特許文献】
【0003】
特開2008-073587号公報
【発明の概要】
【発明が解決しようとする課題】
【0004】
しかしながら、このような調理装置における撹拌効率には改善の余地がある。
【課題を解決するための手段】
【0005】
本発明によれば、以下の発明が提供される。
[1]内釜と、撹拌機構と、モータと、制御装置とを備える撹拌装置であって、前記撹拌機構は、前記内釜の内側で回転可能に支持されているシャフトと、前記シャフトに接続された複数の撹拌羽根とを有し、前記モータは、前記撹拌機構の前記シャフトに接続されており、前記制御装置は、第1期間において前記モータを第1速度で駆動させ、前記第1期間よりも後の第2期間において前記モータを前記第1速度とは異なる第2速度で駆動させ、前記第1期間および前記第2期間の少なくとも一方は、前記撹拌機構の前記シャフトが1回転する1周期よりも長い期間であり、前記第1速度および前記第2速度のうち絶対値がより大きい方をVH、他方をVLとしたときに(ただし、前記第1速度の絶対値が前記第2速度の絶対値に等しい場合には、前記第1速度および前記第2速度の任意の一方をVHとする)、-1≦(VL/VH)<1の関係式を満たす、撹拌装置。
[2][1]に記載の撹拌装置であって、前記第2期間は、前記第1期間に連続する期間であり、(VL/VH)>0である、撹拌装置。
[3][2]に記載の撹拌装置であって、0.1≦(VL/VH)<1である、撹拌装置。
[4][3]に記載の撹拌装置であって、0.1≦(VL/VH)≦0.6である、撹拌装置。
[5][2]から[4]のいずれか1項に記載の撹拌装置であって、前記第1期間の長さは、前記第2期間の長さと同じである、撹拌装置。
[6][2]から[5]のいずれか1項に記載の撹拌装置であって、前記制御装置は、前記第1期間および前記第2期間の組を複数回繰り返して前記モータを駆動させる、撹拌装置。
[7][2]に記載の撹拌装置であって、前記制御装置は、前記第1期間と前記第2期間との間の第3期間において前記モータを停止させる、撹拌装置。
[8][7]に記載の撹拌装置であって、0.1≦(VL/VH)<1である、撹拌装置。
[9][8]に記載の撹拌装置であって、0.1≦(VL/VH)≦0.8である、撹拌装置。
[10][7]から[9]のいずれか1項に記載の撹拌装置であって、前記第1期間の長さは、前記第2期間の長さと同じである、撹拌装置。
[11][7]から[10]のいずれか1項に記載の撹拌装置であって、前記第3期間は、前記第1期間および前記第2期間のいずれよりも短い、撹拌装置。
[12][7]から[11]のいずれか1項に記載の撹拌装置であって、前記制御装置は、前記第2期間に続く第4期間において前記モータを停止させた後、前記第1期間、前記第3期間および前記第2期間をこの順に繰り返して前記モータを駆動させる、撹拌装置。
[13][1]に記載の撹拌装置であって、前記第2期間は、前記第1期間に連続する期間であり、(VL/VH)=0である、撹拌装置。
[14][1]に記載の撹拌装置であって、(VL/VH)<0である、撹拌装置。
[15][14]に記載の撹拌装置であって、-1≦(VL/VH)≦-0.1である、撹拌装置。
[16][14]または[15]に記載の撹拌装置であって、前記制御装置は、前記第1期間および前記第2期間の組を複数回繰り返して前記モータを駆動させる、撹拌装置。
[17][1]から[16]のいずれか1項に記載の撹拌装置であって、前記シャフトは、前記内釜の内側において水平に延びている、撹拌装置。
【0006】
本発明によれば、釜の内容物を効果的に混合可能な撹拌を実現する撹拌装置を提供できる。
【図面の簡単な説明】
【0007】
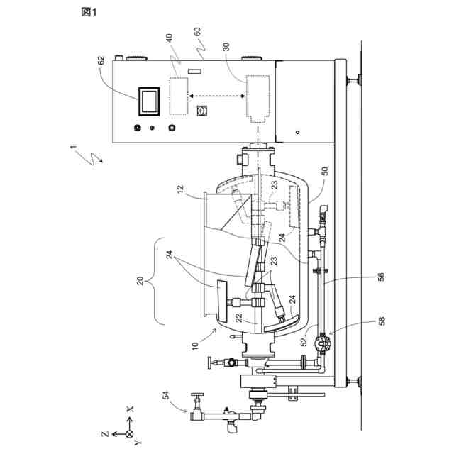
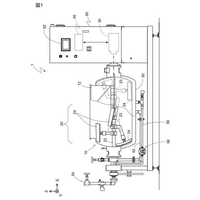
本発明のある実施形態による例示的な撹拌装置を模式的に示す図である。
図1に示す撹拌装置1をシャフト22に垂直に切断したときの模式的な断面図である。
制御装置40による、シャフト22の回転の制御の一例を説明するためのフローチャートである。
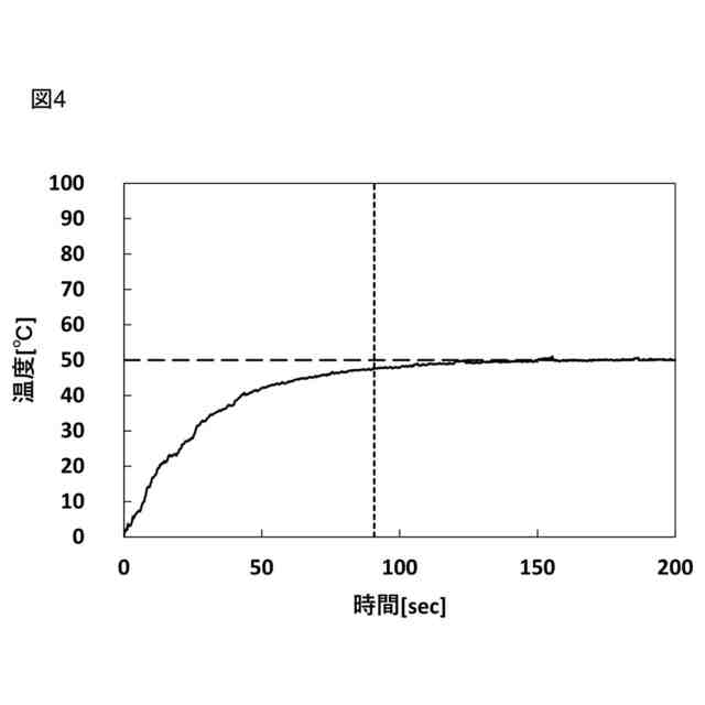
回転速度を切り替えてモータ30を駆動させたときの、2種の材料の混合のシミュレーション結果を示す図であり、本図は、100℃の温水および0℃の冷水の混合の時間的変化を示す。
回転速度を切り替えてモータ30を駆動させたときの、2種の材料の混合のシミュレーション結果を示す図であり、本図は、撹拌モーメントの時間的変化を示す。
回転速度を一定としてモータ30を駆動させたときの、2種の材料の混合のシミュレーション結果を比較例として示す図であり、本図は、100℃の温水および0℃の冷水の混合の時間的変化を示す。
回転速度を一定としてモータ30を駆動させたときの、2種の材料の混合のシミュレーション結果を比較例として示す図であり、本図は、撹拌モーメントの時間的変化を示す。
回転速度を切り替えてモータ30を駆動させたときの、2種の材料の混合のシミュレーション結果の他の例を示す図であり、本図は、100℃の温水および0℃の冷水の混合の時間的変化を示す。
回転速度を切り替えてモータ30を駆動させたときの、2種の材料の混合のシミュレーション結果の他の例を示す図であり、本図は、撹拌モーメントの時間的変化を示す。
シャフト22の1.5回転毎にシャフト22の回転を反転させたときの、2種の材料の混合のシミュレーション結果を示す図であり、本図は、100℃の温水および0℃の冷水の混合の時間的変化を示す。
シャフト22の1.5回転毎にシャフト22の回転を反転させたときの、2種の材料の混合のシミュレーション結果を示す図であり、本図は、撹拌モーメントの時間的変化を示す。
モータ30の回転速度を+16.5rpmに固定して撹拌を実行したときのシミュレーション結果を比較例として示す図であり、本図は、100℃の温水および0℃の冷水の混合の時間的変化を示す。
モータ30の回転速度を+16.5rpmに固定して撹拌を実行したときのシミュレーション結果を比較例として示す図であり、本図は、撹拌モーメントの時間的変化を示す。
第1速度V1を+7.5rpm、第2速度V2を-30rpmとしたときの、2種の材料の混合のシミュレーション結果を示す図であり、本図は、100℃の温水および0℃の冷水の混合の時間的変化を示す。
第1速度V1を+7.5rpm、第2速度V2を-30rpmとしたときの、2種の材料の混合のシミュレーション結果を示す図であり、本図は、撹拌モーメントの時間的変化を示す。
図14に示す例と比較して、モータ30の正回転時と逆回転時との間で回転速度の大きさを互いに入れ替えた例を示す図である。
図15に示す例と比較して、モータ30の正回転時と逆回転時との間で回転速度の大きさを互いに入れ替えた例を示す図である。
制御装置40による、シャフト22の回転の制御の他の一例を説明するためのフローチャートである。
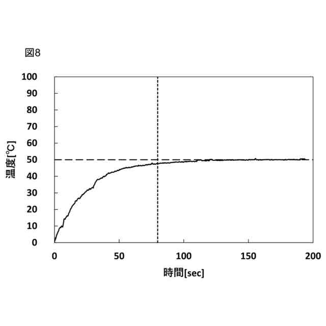
モータ30を停止させる第3期間P3を挟んで回転速度を切り替えてモータ30を駆動させたときの、2種の材料の混合のシミュレーション結果を示す図であり、本図は、100℃の温水および0℃の冷水の混合の時間的変化を示す。
モータ30を停止させる第3期間P3を挟んで回転速度を切り替えてモータ30を駆動させたときの、2種の材料の混合のシミュレーション結果を示す図であり、本図は、撹拌モーメントの時間的変化を示す。
モータ30を停止させる第3期間P3を挟んで回転速度を切り替えてモータ30を駆動させたときの、2種の材料の混合のシミュレーション結果の他の例を参考例として示す図であり、本図は、100℃の温水および0℃の冷水の混合の時間的変化を示す。
モータ30を停止させる第3期間P3を挟んで回転速度を切り替えてモータ30を駆動させたときの、2種の材料の混合のシミュレーション結果の他の例を参考例として示す図であり、本図は、撹拌モーメントの時間的変化を示す。
【発明を実施するための形態】
【0008】
以下、本発明の実施形態を説明する。以下に示す実施形態中で示した各種特徴事項は、互いに組み合わせ可能である。また、各特徴について独立して発明が成立する。
【0009】
<1.撹拌装置の基本的な構成>
本発明は、撹拌子の回転により対象物を混合する撹拌装置に向けられている。このような撹拌装置の代表例は、加熱しながらの食材の撹拌を実行する、蒸気ニーダと呼ばれる調理装置である。本発明の実施形態による撹拌装置によって実行される制御は、蒸気ニーダのような調理装置に有利に適用可能である。以下では、撹拌装置として蒸気ニーダを例にとって説明する。
【0010】
図1は、本発明のある実施形態による例示的な撹拌装置を示す。図1に示す撹拌装置1は、内釜10と、撹拌機構20と、モータ30と、制御装置40とを有する。説明の便宜のために、図1では、内釜10の外部のみならず、内釜10の一部を切り欠くことにより内釜10の内部もあわせて示している。また、図1には、互いに直交するX軸、Y軸およびZ軸の方向を示す3つの矢印が描かれている。ここでは、図に示すZ軸は、鉛直方向に平行である。
(【0011】以降は省略されています)
この特許をJ-PlatPat(特許庁公式サイト)で参照する
関連特許
三浦工業株式会社
燃焼装置
24日前
三浦工業株式会社
撹拌装置
5日前
三浦工業株式会社
貫流ボイラ
15日前
三浦工業株式会社
ガス化装置
18日前
三浦工業株式会社
流体殺菌装置
4日前
三浦工業株式会社
汚泥減容方法
1か月前
三浦工業株式会社
台数制御装置
29日前
三浦工業株式会社
劣化検出装置
29日前
三浦工業株式会社
燃焼システム
22日前
三浦工業株式会社
二重管接続構造
23日前
三浦工業株式会社
ウエスコポンプ
22日前
三浦工業株式会社
水蒸気発生装置
22日前
三浦工業株式会社
汚泥乾燥加熱釜
10日前
三浦工業株式会社
汚泥減容システム
22日前
三浦工業株式会社
水素貯蔵供給装置
18日前
三浦工業株式会社
熱媒供給システム
1か月前
三浦工業株式会社
船舶用発電システム
29日前
三浦工業株式会社
精製水供給システム
10日前
三浦工業株式会社
コンピュータプログラム
11日前
三浦工業株式会社
燃焼装置、アンモニア評価方法
15日前
東京瓦斯株式会社
電力供給システム
22日前
メタウォーター株式会社
焼却システム及び燃焼制御方法
1か月前
株式会社西部技研
除湿装置
16日前
株式会社日本触媒
ドロー溶質
10日前
ユニチカ株式会社
複合中空糸膜
1か月前
サンノプコ株式会社
消泡剤
8日前
東レ株式会社
中空糸膜モジュール
29日前
東レ株式会社
遠心ポッティング方法
2日前
松岡紙業 株式会社
油吸着体の製造方法
10日前
大和ハウス工業株式会社
反応装置
23日前
個人
気液混合装置
8日前
ヤマシンフィルタ株式会社
フィルタ装置
1か月前
株式会社フクハラ
圧縮空気圧回路ユニット
8日前
大陽日酸株式会社
CO2の回収方法
25日前
本田技研工業株式会社
ガス回収装置
25日前
富士電機株式会社
ガス処理システム
5日前
続きを見る
他の特許を見る