TOP
|
特許
|
意匠
|
商標
特許ウォッチ
Twitter
他の特許を見る
公開番号
2025164111
公報種別
公開特許公報(A)
公開日
2025-10-30
出願番号
2024067890
出願日
2024-04-19
発明の名称
遠心ポッティング方法
出願人
東レ株式会社
代理人
主分類
B01D
63/00 20060101AFI20251023BHJP(物理的または化学的方法または装置一般)
要約
【課題】ポッティング厚さが比較的均一かつ安定しやすい遠心ポッティングにおいて、細長い筒状容器を多数セットして使用する場合でも、複数本の中空糸膜を収容した筒状容器を短時間で効率よく上下の遠心ポッティング治具の間にセットすることができる遠心ポッティング方法を提供する。
【解決手段】筒状容器のポッティング樹脂注入側端面をセットするために配列された複数の筒状凹部とポッティング樹脂注入流路を有するポッティング治具2の下側治具20に、複数本の中空糸膜を収容した筒状容器をセットした後、複数の筒状容器が通り抜けるように下側治具の複数の筒状凹部と同じ配列で開孔部が設けられた枠体を、筒状容器のポッティング樹脂注入側端面の反対側から開孔部を通して下側治具に載せ、続いて下側治具の複数の筒状凹部と同じ配列の複数の筒状凹部を有するポッティング治具の上側治具を、筒状容器のポッティング樹脂注入側端面の反対側端面に被せる。
【選択図】図1
特許請求の範囲
【請求項1】
複数本の中空糸膜を収容する筒状容器の端部にポッティング樹脂を遠心力により注入し、前記端部を封止固定する遠心ポッティングにおいて、
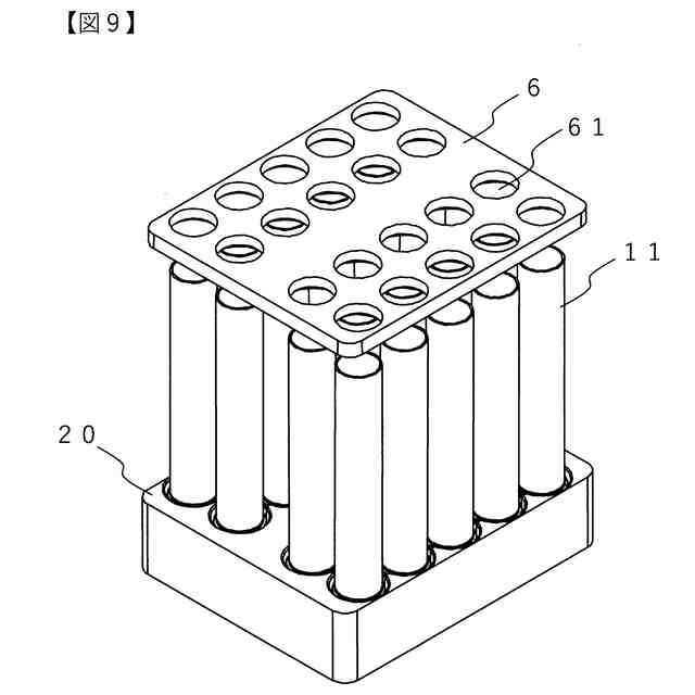
前記筒状容器のポッティング樹脂注入側端面をセットするために配列された複数の筒状凹部とポッティング樹脂注入流路を有するポッティング治具の下側治具に、複数本の中空糸膜を収容した前記筒状容器をセットした後、
複数の前記筒状容器が通り抜けるように前記ポッティング治具の下側治具の複数の筒状凹部と同じ配列で開孔部が設けられた枠体を、前記筒状容器のポッティング樹脂注入側端面の反対側から前記開孔部を通して前記ポッティング治具の下側治具に載せ、
続いて前記ポッティング治具の下側治具の複数の筒状凹部と同じ配列の複数の筒状凹部を有するポッティング治具の上側治具を、前記筒状容器のポッティング樹脂注入側端面の反対側端面に被せて行うことを特徴とする遠心ポッティング方法。
続きを表示(約 76 文字)
【請求項2】
前記枠体の開孔部の片側の稜線のC面取りの大きさが2mm以上であることを特徴とする、請求項1に記載の遠心ポッティング方法。
発明の詳細な説明
【技術分野】
【0001】
本発明は、複数本の中空糸膜を収容する筒状容器の端部にポッティング樹脂を遠心力により注入し、前記端部を封止固定する遠心ポッティング方法に関する。
続きを表示(約 2,000 文字)
【背景技術】
【0002】
浄水器や血液処理器等では被処理液のろ過、透析等の目的で、複数本の中空糸膜を収容した筒状容器の端部に接着剤(ポッティング樹脂)を注入して、筒状容器端部で中空糸膜と中空糸膜の間、及び中空糸膜と筒状容器の間を液密に封止固定した(以後、この処理のことをポッティングと記載する)中空糸膜モジュールが使用されている。
【0003】
注入されるポッティング樹脂が、中空糸膜と中空糸膜の間、および中空糸膜と筒状容器の間に浸透し、這い上がって形成される封止固定部分(ポッティング層)は、中空糸膜モジュールで被処理液をろ過する時、被処理液の圧力に耐えられるようにある一定の厚さ(ポッティング厚さ)が必要とされる。一方、中空糸膜モジュールとして、ポッティングされていない中空糸膜部分がろ過を行う部分であるので、ろ過性能を確保するために、ポッティング厚さが必要最小限の一定の厚さになるように、安定的にポッティングを行うことが重要となる。
【0004】
従来、中空糸膜モジュールのポッティング方法としては、重力によってポッティング樹脂を流し込む静置法や、遠心力を利用してポッティング樹脂を筒状容器端部に注入、充填する遠心法が知られている。一般に遠心法は、静置法に比べるとポッティング樹脂の浸透力が高く、ポッティング厚さが比較的均一かつ安定しやすいので、広く活用されている。
【0005】
ポッティングを行うには、複数本の中空糸膜を収容した筒状容器を装着することができ、装着された筒状容器にポッティング樹脂を送り込む流路を有したポッティング用治具が使用される。特に遠心法で用いられるポッティング用治具は、例えば特許文献1に開示されており、ポッティング樹脂は1箇所の樹脂注入口からすべての複数個の筒状凹部へ平面状に均一に流動し、中空糸膜モジュールに均一な樹脂層を確保することができ、かつポッティング後にポッティング治具から屑となる硬化樹脂を取り除く時、シート状に剥がすことが容易となり、ポッティング治具清掃時間の短縮が可能であることが記載されている。
【先行技術文献】
【特許文献】
【0006】
特開2018-69126号公報
【発明の概要】
【発明が解決しようとする課題】
【0007】
しかしながら、特許文献1のポッティング用治具を、細長い筒状容器を多数セットして使用する場合、ポッティング用治具の下側治具に所定の間隔で配された筒状凹部に複数本の中空糸膜を収容した筒状容器をセット後、下側治具に配された筒状凹部と同じ配列で筒状凹部が配されたポッティング用治具の上側治具を筒状容器の上側端面に被せて筒状容器を上下のポッティング用治具の間に固定する際に、筒状容器が下側治具の筒状凹部と筒状容器の間にできる隙間により様々な方向に傾いてしまうため、すべての筒状容器の傾きが下側治具に対し垂直になるように調整する必要があり、上側治具を被せるのに多くの時間を要するという問題点を有している。
【0008】
本発明は、上記の問題点に鑑み、ポッティング厚さが比較的均一かつ安定しやすい遠心ポッティングにおいて、細長い筒状容器を多数セットして使用する場合でも、複数本の中空糸膜を収容した筒状容器を短時間で効率よく上下の遠心ポッティング治具の間にセットすることができる遠心ポッティング方法を提供することを目的とする。
【課題を解決するための手段】
【0009】
本発明の遠心ポッティング方法は、
複数本の中空糸膜を収容する筒状容器の端部にポッティング樹脂を遠心力により注入し、前記端部を封止固定する遠心ポッティングにおいて、
前記筒状容器のポッティング樹脂注入側端面をセットするために配列された複数の筒状凹部とポッティング樹脂注入流路を有するポッティング治具の下側治具に、複数本の中空糸膜を収容した前記筒状容器をセットした後、
複数の前記筒状容器が通り抜けるように前記ポッティング治具の下側治具の複数の筒状凹部と同じ配列で開孔部が設けられた枠体を、前記筒状容器のポッティング樹脂注入側端面の反対側から前記開孔部を通して前記ポッティング治具の下側治具に載せ、
続いて前記ポッティング治具の下側治具の複数の筒状凹部と同じ配列の複数の筒状凹部を有するポッティング治具の上側治具を、前記筒状容器のポッティング樹脂注入側端面の反対側端面に被せて行う。
【0010】
このような方法によれば、複数本の中空糸膜を収容した前記筒状容器を短時間で効率よく上下の遠心ポッティング治具の間にセットすることができる。
(【0011】以降は省略されています)
この特許をJ-PlatPat(特許庁公式サイト)で参照する
関連特許
東レ株式会社
化粧料
15日前
東レ株式会社
防護服
1か月前
東レ株式会社
浄水器
1か月前
東レ株式会社
複合半透膜
2か月前
東レ株式会社
風車ブレード
2か月前
東レ株式会社
積層フィルム
29日前
東レ株式会社
積層フィルム
2か月前
東レ株式会社
加飾用フィルム
1か月前
東レ株式会社
無配向フィルム
23日前
東レ株式会社
黒色樹脂組成物
1か月前
東レ株式会社
光透過性表皮材
29日前
東レ株式会社
多孔質炭素シート
1か月前
東レ株式会社
飛翔体用ブレード
23日前
東レ株式会社
赤外線遮蔽構成体
23日前
東レ株式会社
貼合体の製造方法
23日前
東レ株式会社
不織布の製造装置
28日前
東レ株式会社
多層積層フィルム
1か月前
東レ株式会社
テーパ付き円筒部材
29日前
東レ株式会社
遮熱性アクリル繊維
1か月前
東レ株式会社
太陽電池モジュール
29日前
東レ株式会社
中空糸膜モジュール
1か月前
東レ株式会社
溶融紡糸口金パック
1か月前
東レ株式会社
繊維断面の検査方法
1か月前
東レ株式会社
フィルムの製造装置
23日前
東レ株式会社
車両用衝撃吸収部材
23日前
東レ株式会社
サンドイッチ構造体
1か月前
東レ株式会社
複合成形体の製造方法
1か月前
東レ株式会社
複合成形体の製造方法
23日前
東レ株式会社
ポリエステルフィルム
20日前
東レ株式会社
ポリエステルフィルム
1か月前
東レ株式会社
遠心ポッティング方法
7日前
東レ株式会社
ガス拡散層の製造方法
1か月前
東レ株式会社
プラスチック光ファイバ
1か月前
東レ株式会社
霧化状活性液体供給装置
2か月前
東レ株式会社
織物およびシート表皮材
1か月前
東レ株式会社
ポリプロピレンフィルム
1か月前
続きを見る
他の特許を見る