TOP
|
特許
|
意匠
|
商標
特許ウォッチ
Twitter
他の特許を見る
公開番号
2025162416
公報種別
公開特許公報(A)
公開日
2025-10-27
出願番号
2024065708
出願日
2024-04-15
発明の名称
分析デバイス及び分析方法
出願人
キヤノン株式会社
代理人
個人
,
個人
,
個人
,
個人
主分類
G01N
27/28 20060101AFI20251020BHJP(測定;試験)
要約
【課題】 複数の種類のイオン濃度を同時測定する近接した複数の作用電極をもつマイクロ流路デバイスにおいて、互いのイオン濃度測定に干渉しない分析デバイスを提供する。
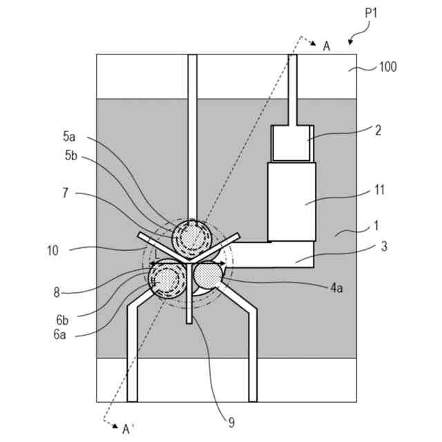
【解決手段】 基材上に設けられた参照電極を有する第1の流路領域を有し、第1の流路領域内あるいは第1の流路領域外に、基材上に設けられた第1の作用電極部を有し、第1の流路領域外に、基材上に設けられた第2の作用電極部を有し、第1の作用電極部には、第1作用電極が存在し、第2の作用電極部には、第2作用電極が存在し、第1の作用電極部と第2の作用電極部とを隔てる規制部材を有し、規制部材は、分析対象である検体が浸透しない部材であって、かつ、検体を分断しない高さである、分析デバイス。
【選択図】図1
特許請求の範囲
【請求項1】
基材の内部あるいは上に設けられた疎水性の流路壁で囲まれた親水性あるいは多孔質の流路領域を有する分析デバイスであって、
前記基材上に設けられた参照電極を有する第1の流路領域を有し、
前記第1の流路領域内あるいは前記第1の流路領域外に、前記基材上に設けられた第1の作用電極部を有し、
前記第1の流路領域外に、前記基材上に設けられた第2の作用電極部を有し、
前記第1の作用電極部には、第1作用電極が存在し、
前記第2の作用電極部には、第2作用電極が存在し、
前記第1の作用電極部と前記第2の作用電極部とを隔てる規制部材を有し、
前記規制部材は、分析対象である検体が浸透しない部材であって、かつ、前記検体を分断しない高さである、分析デバイス。
続きを表示(約 1,500 文字)
【請求項2】
第2の流路領域を有し、
(i)前記第1の流路領域内に前記第1の作用電極部を有する場合には、前記第2の流路領域が前記第2の作用電極部を有し、
前記第1の流路領域と前記第2の流路領域は互いに前記流路壁で隔てられており、
(ii)前記第1の流路領域外に前記第1の作用電極部を有する場合には、前記第2の流路領域を複数有し、
前記複数の第2の流路領域が前記第1の作用電極部及び前記第2の作用電極部をそれぞれ有し、
前記第1の流路領域と前記第2の流路領域は互いに前記流路壁で隔てられ、
前記複数の第2の流路領域は互いに前記流路壁で隔てられている、
請求項1に記載の分析デバイス。
【請求項3】
前記第1の流路領域の少なくとも一部、前記第1の作用電極部の少なくとも一部、前記第2の作用電極部の少なくとも一部、及び前記規制部材の少なくとも一部が、直径がLである円の範囲内に存在するように配置され、前記Lは導入される前記検体の液滴の直径以下の大きさである、請求項1又は2に記載の分析デバイス。
【請求項4】
前記第1の流路領域の少なくとも一部、前記第1の作用電極部の少なくとも一部、前記第2の作用電極部の少なくとも一部、及び前記規制部材の少なくとも一部を含む前記Lを直径とする円を含む領域を、測定時に前記検体を導入するための、測定時導入部とする請求項3に記載の分析デバイス。
【請求項5】
前記規制部材に隣接する前記第1の作用電極部と前記第2の作用電極部の沿面距離をSとしたとき、
Sが、測定時に、前記規制部材に隣接する前記第1の作用電極部と前記第2の作用電極部のそれぞれの近傍に発生する濃度分布の存在する層の厚み以上である、請求項1又は2に記載の分析デバイス。
【請求項6】
前記沿面距離Sが532μm以上となる請求項5に記載の分析デバイス。
【請求項7】
前記規制部材の高さが、導入される前記検体の液滴の高さ以下である請求項1又は2に記載の分析デバイス。
【請求項8】
前記規制部材の高さが3.57mm以下となる請求項1又は2に記載の分析デバイス。
【請求項9】
分析デバイスを用いて、検体の電解質濃度測定を行う分析方法であって、
前記分析デバイスが、
基材の内部あるいは上に設けられた疎水性の流路壁で囲まれた親水性あるいは多孔質の流路領域を有し、
前記基材上に設けられた参照電極を有する第1の流路領域を有し、
前記第1の流路領域内あるいは前記第1の流路領域外に、前記基材上に設けられた第1の作用電極部を有し、
前記第1の流路領域外に、前記基材上に設けられた第2の作用電極部を有し、
前記第1の作用電極部には、第1作用電極が存在し、
前記第2の作用電極部には、第2作用電極が存在し、
前記第1の作用電極部と前記第2の作用電極部とを隔てる規制部材を有し、
前記規制部材は、前記検体が浸透しない部材であって、かつ、前記検体を分断しない高さであり、
前記第1の作用電極部と前記第2の作用電極部と前記規制部材とに同時に接触する位置に前記検体が供給される、ことを特徴とする分析方法。
【請求項10】
前記規制部材は、前記第1の作用電極部において測定する第1選択イオンと、前記第2の作用電極部において測定する第2選択イオンとが、混じらないように、前記第1の作用電極部と前記第2の作用電極部とを隔てる部材である、請求項9に記載の分析方法。
(【請求項11】以降は省略されています)
発明の詳細な説明
【技術分野】
【0001】
本発明は、基材の内部あるいは上に設けられた疎水性の流路壁で囲まれた親水性あるいは多孔質の流路領域を形成した分析デバイス及び分析デバイスを用いた分析方法に関するものである。
続きを表示(約 1,800 文字)
【背景技術】
【0002】
近年、マイクロサイズの微細流路を利用して、生化学における分析を1つのチップ内で効率的に行うことができるマイクロ分析チップが、幅広い分野で注目されている。具体的には、生化学の研究はもとより医療、創薬、ヘルスケア、環境、食品等の各分野において注目されている。
【0003】
1990年代前半にフォトリソグラフィ法や金型等を用いてガラスやシリコン上にミクロンサイズの微細流路を形成し、サンプルの前処理、攪拌、混合、反応、検出を1チップ上で行うマイクロ分析チップが開発された。その結果、検査システムの小型化や迅速分析、及び検体や廃液の低減を実現した。
【0004】
電気化学分析は分析対象となる検体に浸漬した電極間の電位を測定するものであり、医療や環境の分野において広く使用されている。従来、電気化学分析では高度な機器を使用し、技術者によって行われていたため、測定を行うフィールドやリソースがある程度制限されていた。そこで、医療設備の整っていない途上国や僻地及び災害現場での医療活動や、感染症の広がりを水際で食い止めなければならない空港等での使用のため、安価で取り扱いが容易であり、使い捨て可能な電気化学分析用マイクロ分析チップに対するニーズが存在する。
【0005】
溶液内の電解質イオンの定量化等、電気化学分析においては定電位を維持することが可能な安定した参照電極を必要とする。従来のガラス体参照電極は高価であり、また内部液を必要とするため、小型化することができなかった。また、保存時にはイオンの濃縮溶液内での保存を必要とする等、取扱が容易ではなかった。
【0006】
特許文献1では、多孔質基材を用いた電位差測定が可能なマイクロ分析チップを含むシステムが提案されており、低コストかつ取り扱いが容易で廃棄性の高い電気化学測定を可能にしている。このマイクロ分析チップでは、多孔質基材上に1つ以上の作用電極と1つの参照電極を含む。このようなマイクロ分析チップでは、測定時には両電極を流体によって電気的に導通する必要がある。特許文献1には、測定時に参照電極において安定した電位を得るため、KClの高濃度水溶液を参照溶液とし、参照電極を含む参照領域へと分注することが記載されている。
【0007】
また、非特許文献1ではNaイオン濃度及びKイオン濃度を測定する濾紙ベースの分析デバイスについて提案されている。この分析デバイスは検体を導入するための導入部を持ち、導入された検体が導入部から作用電極及び参照電極それぞれの領域へと浸透する構成となっている。さらに、非特許文献1では参照電極における電位の安定性を得るため、KClイオン結晶を参照電極上に堆積させたデバイスが提案されている。測定時にKClが検体へ溶解することで参照電極領域のClイオンを高濃度に保持し、安定した参照電極の電位を得ることができる。
【0008】
また、特許文献2では、イオン濃度測定デバイスにおいて、十分なイオン選択性を得るために、検体導入部を作用電極部に設けたデバイスの提案を行っている。検体と作用電極部におけるイオン選択膜との接触面積及びイオン選択膜と反応する検体の量を十分に確保することができ、電解質濃度の測定感度とイオン選択性に優れたマイクロ分析チップを提供することができる。
【先行技術文献】
【特許文献】
【0009】
米国特許出願公開第2016/033438号
特開2023-048923号公報
【非特許文献】
【0010】
Nipapan Ruecha, Orawon Chailapakul, Koji Suzuki and Daniel Citterio『Fully Inkjet-Printed Paper-Based Potentiometric Ion-Sensing Devices』Analytical chemistry August 29, 2017 Published, 89, pp.10608-10616
【発明の概要】
【発明が解決しようとする課題】
(【0011】以降は省略されています)
この特許をJ-PlatPat(特許庁公式サイト)で参照する
関連特許
キヤノン株式会社
容器
9日前
キヤノン株式会社
容器
3日前
キヤノン株式会社
トナー
25日前
キヤノン株式会社
トナー
12日前
キヤノン株式会社
トナー
25日前
キヤノン株式会社
トナー
25日前
キヤノン株式会社
トナー
1か月前
キヤノン株式会社
測距装置
18日前
キヤノン株式会社
表示装置
1か月前
キヤノン株式会社
発光装置
1か月前
キヤノン株式会社
電子機器
1か月前
キヤノン株式会社
撮像装置
1か月前
キヤノン株式会社
記録装置
9日前
キヤノン株式会社
定着装置
1か月前
キヤノン株式会社
撮像装置
9日前
キヤノン株式会社
定着装置
1か月前
キヤノン株式会社
電子機器
1か月前
キヤノン株式会社
現像装置
23日前
キヤノン株式会社
現像容器
23日前
キヤノン株式会社
現像装置
23日前
キヤノン株式会社
現像容器
23日前
キヤノン株式会社
電子機器
1か月前
キヤノン株式会社
記録装置
23日前
キヤノン株式会社
撮影装置
23日前
キヤノン株式会社
記録装置
1か月前
キヤノン株式会社
定着装置
24日前
キヤノン株式会社
撮像装置
9日前
キヤノン株式会社
撮像装置
9日前
キヤノン株式会社
撮像装置
1か月前
キヤノン株式会社
撮像装置
3日前
キヤノン株式会社
撮像装置
1か月前
キヤノン株式会社
記録装置
1か月前
キヤノン株式会社
電子機器
1か月前
キヤノン株式会社
撮像装置
1か月前
キヤノン株式会社
定着装置
1か月前
キヤノン株式会社
撮像装置
1か月前
続きを見る
他の特許を見る