TOP
|
特許
|
意匠
|
商標
特許ウォッチ
Twitter
他の特許を見る
10個以上の画像は省略されています。
公開番号
2025146548
公報種別
公開特許公報(A)
公開日
2025-10-03
出願番号
2024062410
出願日
2024-03-21
発明の名称
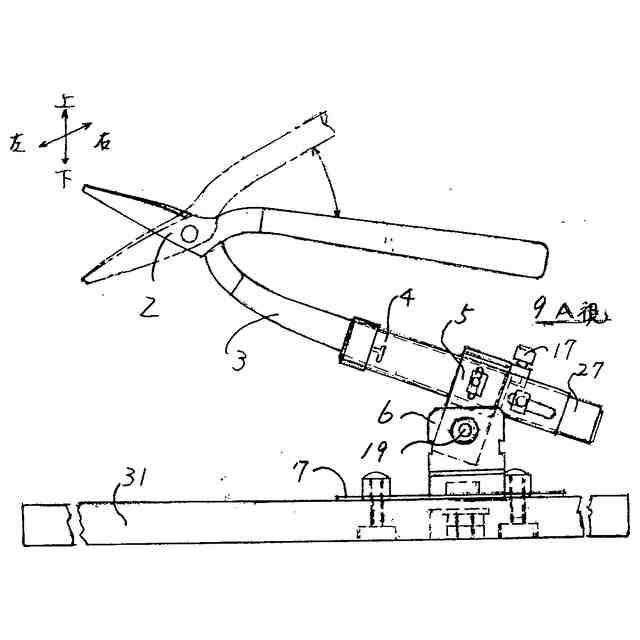
刈込鋏保持具
出願人
個人
代理人
主分類
A01G
3/04 20060101AFI20250926BHJP(農業;林業;畜産;狩猟;捕獲;漁業)
要約
【課題】 刈込鋏保持具で実用新案登録があるが、柄が筒内で動き不安定な状態であり最適な切断ができない不安定、不安全な作業である、その課題を解決する必要があり安全な刈込鋏保持具を考案した。
【解決手段】 本発明は、刈込鋏一方側の柄を挿入し保持する柄取付け固定具と、柄取り付け固定具を支持する上部支持具と、柄取付け固定具に柄の挿入方向と反対側で柄取付け固定具の背面側から柄を見て柄と柄取付け固定具を共に柄を時計方向に回動し、鋏刃の角度を調整固定できる。 また経時変化による鋏刃の切れ味が劣化しても再設定し改善出来る構造で、また椅子付き定盤などに取付けてより安全、安定した作業が出来る刈込鋏保持具である。
【選択図】図1
特許請求の範囲
【請求項1】
刈込鋏の一方側の柄を挿入し保持する柄取付け固定具と、
前記柄取り付け固定具を支持する上部支持具と、
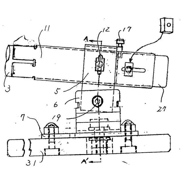
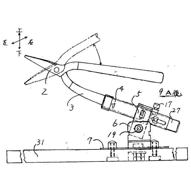
前記柄取付け固定具に前記柄を挿入する方向と反対側で前記柄取付け固定具の背面側から前記柄を見て、前記上部支持具内でこの前記柄と前記柄取付け固定具を共に時計方向に回動し鋏刃の角度を調整可能であって、かつ前記上部支持具に締結具などで前記柄と前記柄取付け固定具の回動と挿入方向の移動をともに防ぎ締結出来ることを特徴とする刈込鋏保持具。
続きを表示(約 670 文字)
【請求項2】
前記上部支持具の下部側に支点軸を用いて取付けた下部支持具と、
前記上部支持具を前記下部支持具に対して上下方向に回動可能であり、また前記柄取付け固定具を前記上部支持具に締結出来る上下回動支点軸セットと、
前記下部支持具を上部固定定板に取り付けたことを特徴とする請求項1に記載の刈込鋏保持具。
【請求項3】
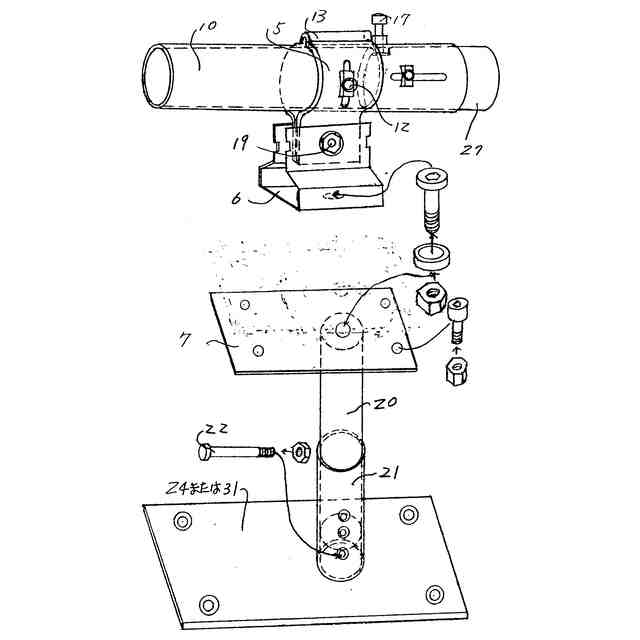
前記下部支持具を取り付けた前記上部固定定板と、
前記上部固定定板に取付けた上部円柱回転軸と、
前記上部円柱回転軸を差込み回動自在に受け止める下部円柱回転支持筒と、
前記下部円柱回転支持筒に高さを調整する高さ決め締結具で前記上部円柱回転軸を受け止めた構造と、
前記下部円柱回転支持筒の差込み側の反対側端末に円柱取付け定盤、広幅円柱取付け定盤、椅子付き定盤などに取り付けたことを特徴とする請求項1または請求項2のいずれかに記載の刈込鋏保持具。
【請求項4】
前記柄取付け固定具の他端部に取り付けたバランサー取付け部材と、
このバランサー取付け部材に重り、あるいはばねからなり前記刈込鋏の重みに対してバランスを取る構造としたことを特徴とする請求項1から請求項3のいずれかに記載の刈込鋏保持具。
【請求項5】
前記柄取り付け固定具に筒型部材を使用した筒型柄取り付け固定具、あるいは板材を展開図に基づき成形した形状の板を曲げ加工をして割型柄取り付け固定具としたことを特徴とする請求項1から請求項4のいずれかに記載の刈込鋏保持具。
発明の詳細な説明
【技術分野】
【0001】
本発明は刈込鋏保持具に関するものであって、詳しくは刈込鋏の回動と長手方向の動きを防ぐ事で切断がスムースに出来、押切カッターとしても使用出来る刈込鋏保持具に関する。
続きを表示(約 1,500 文字)
【背景技術】
【0002】
従来庭の生垣などの植木を刈込鋏や剪定鋏で刈り込んだ後の剪定枝は更に裁断しゴミとして破棄するか堆肥とするかであり、多量の裁断処理は時間が掛かりまた手、指に障害のある人や老人にはより身体に負担が掛かる作業である。
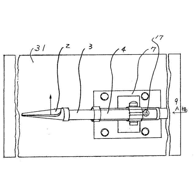
特許文献1には本願の図12に示すような板に取付けた筒に刈込鋏の一方側の柄を差し込み、その板を足で踏み地面に押し付け、他方の柄を押し下げて押切カッターとして使用出来る構造の保持具に関する記載がある。
【先行技術文献】
【0003】
実用新案登録第3208828号
【発明の概要】
【発明が解決しようとする課題】
【0004】
特許文献1に記載のものは、刈込鋏の柄の一方を筒材に投入し保持する機能を付加した治具であり、これを製作し実作業をしてみると、次の様な課題があった。
刈込鋏は両刃が連続し隙間なく、押し合って接する事で良好な切断が出来る、しかし柄が筒材内で回動、または柄の長手方向の移動で不安定な状態となり最適な刃の接触が維持されず切断できず、特に経年変化により切れ味が劣化するがその回復手段はなかった。
また筒の上下設定が一定であり作業高さが殆ど固定され中腰状態で切断するため不安定な作業であり、腰、膝が痛く不安定不安全な作業となり疲れやすく連続作業は困難であった。
【課題を解決するための手段】
【0005】
本発明は上記課題を解決するために次に述べるような構成となっている。
【0006】
ここで開示の第1の刈込鋏保持具は、刈込鋏の一方側の柄を挿入し保持する柄取付け固定具と、柄取り付け固定具を支持する上部支持具と、柄取付け固定具に柄を挿入する方向と反対側で柄取付け固定具の背面側から柄を見て、上部支持具内でこの柄と柄取付け固定具を共に時計方向に回動し鋏刃の角度を調整可能であって、前記上部支持具に締結具などで前記柄と前記柄取付け固定具の回動と挿入方向の移動をともに防ぎ締結出来ることを特徴とする刈込鋏保持具である。
【0007】
ここで開示の第2の刈込鋏保持具は、上部支持具の下部側に支点軸を用いて取付けた下部支持具と、上部支持具を下部支持具に対して上下方向に回動可能であり、また柄取付け固定具を上部支持具に締結出来る上下回動支点軸セットと、下部支持具を上部固定定板に取り付けたことを特徴とする刈込鋏保持具である。
【0008】
ここで開示の第3の刈込鋏保持具は、下部支持具を取り付けた上部固定定板と、上部固定定板に取付けた上部円柱回転軸と、上部円柱回転軸を差込み回動自在に受け止める下部円柱回転支持筒と、下部円柱回転支持筒に高さを調整する高さ決め締結具で上部円柱回転軸を受け止めた構造と、下部円柱回転支持筒の差込み側の反対側端末に円柱取付け定盤、広幅円柱取付け定盤、椅子付き定盤などに取り付けたことを特徴とする刈込鋏保持具である。
【0009】
ここで開示の第4の刈込鋏保持具は、柄取付け固定具の他端部に取り付けたバランサー取付け部材と、このバランサー取付け部材に重り、あるいはばねからなり刈込鋏の重みに対してバランスを取る構造としたことを特徴とする刈込鋏保持具である。
【0010】
ここで開示の第5の刈込鋏保持具は、柄取り付け固定具に筒型部材を使用した筒型柄取り付け固定具、あるいは板材を展開図に基づき成形した形状の板を曲げ加工をして割型柄取り付け固定具としたことを特徴とする刈込鋏保持具である。
【発明の効果】
(【0011】以降は省略されています)
この特許をJ-PlatPat(特許庁公式サイト)で参照する
関連特許
個人
虫捕り器
4日前
個人
巻糸係止具
25日前
個人
刈込鋏保持具
今日
個人
植物栽培用培地
1か月前
個人
飼育容器
14日前
個人
後付巻降ろし器
4日前
個人
イカ釣り用ヤエン
4日前
株式会社丹勝
緑化工法
1日前
個人
釣り仕掛け処理具
1か月前
個人
植木鉢用台
1か月前
井関農機株式会社
作業車両
4日前
井関農機株式会社
作業車両
4日前
井関農機株式会社
作業車両
2日前
株式会社シマノ
釣竿
4日前
個人
水耕栽培システム
14日前
井関農機株式会社
圃場作業機
25日前
個人
苔玉スタンド
1か月前
井関農機株式会社
作業車両
今日
井関農機株式会社
作業車両
14日前
個人
妻面トラス梁付き園芸用ハウス
16日前
松山株式会社
農作業機
1か月前
松山株式会社
農作業機
14日前
松山株式会社
農作業機
今日
個人
伸縮する草刈り機の可動装置。
4日前
松山株式会社
農作業機
1か月前
松山株式会社
農作業機
1か月前
みのる産業株式会社
苗植付装置
29日前
みのる産業株式会社
苗植付装置
29日前
トヨタ自動車株式会社
育苗装置
1日前
スガノ農機株式会社
圃場作業装置
1日前
個人
飼育水槽用の浄化装置
8日前
個人
給水方法及びこれを用いた給水装置
1か月前
株式会社クボタ
作業機
24日前
株式会社クボタ
田植機
25日前
株式会社クボタ
田植機
25日前
株式会社クボタ
田植機
28日前
続きを見る
他の特許を見る