TOP
|
特許
|
意匠
|
商標
特許ウォッチ
Twitter
他の特許を見る
公開番号
2025158682
公報種別
公開特許公報(A)
公開日
2025-10-17
出願番号
2024061465
出願日
2024-04-05
発明の名称
海苔箱船
出願人
株式会社オーツボ
代理人
個人
主分類
A01G
33/02 20060101AFI20251009BHJP(農業;林業;畜産;狩猟;捕獲;漁業)
要約
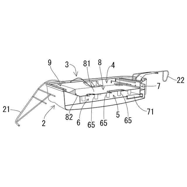
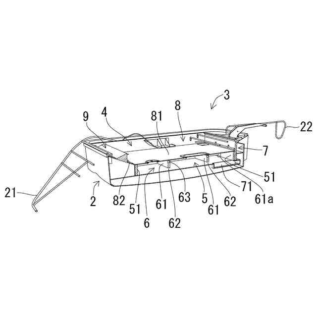
【課題】処理槽と保存槽の上下二層構造の反応液処理機構を有する海苔箱船であっても、処理槽の底壁強度を向上し、また保存槽内に処理液等の液体を貯留している場合でも、船の安定性を保持しうる海苔箱船を提供する。
【解決手段】箱船本体2と、当該箱船本体の上面に設けられた養殖海苔の反応液処理を行う反応液処理機構3と、を備えた海苔箱船であって、反応液処理機構3は、反応液に浸漬させて前記養殖海苔の反応液処理を行うための処理槽4と、反応液処理後の処理残液を保存しておくための保存槽5と、の上下二槽構造となっており、かつ保存槽5の内部空間に設けられ、処理槽4の底壁下面側を下から受ける補強手段6を有する。
【選択図】図2
特許請求の範囲
【請求項1】
箱船本体と、当該箱船本体の上面に設けられた養殖海苔の反応液処理を行う反応液処理機構と、を備えた海苔箱船であって、
前記反応液処理機構は、反応液に浸漬させて前記養殖海苔の反応液処理を行うための処理槽と、反応液処理後の処理残液を保存しておくための保存槽と、の上下二槽構造となっており、
かつ前記保存槽の内部空間に設けられ、前記処理槽の底壁下面側を下から受ける補強手段を有することを特徴とする海苔箱船。
続きを表示(約 680 文字)
【請求項2】
前記補強手段は、前記保存槽の内部空間を横切るように設置されて前記処理槽の底壁下面側を受ける横材を有することを特徴とする請求項1記載の海苔箱船。
【請求項3】
前記横材は、下部側に液体を通流させうる間隙を形成して設けられたことを特徴とする請求項2記載の海苔箱船。
【請求項4】
前記横材は、前記保存槽の底壁との間に前記間隙を形成し、前記保存槽の内部空間の上部側を複数の区画に分割するように架設された梁状部材を含むことを特徴とする請求項3記載の海苔箱船。
【請求項5】
前記横材には、空気を通流させうる通気部が設けられたことを特徴とする請求項3記載の海苔箱船。
【請求項6】
前記補強手段は、前記保存槽の内部空間に互いに所定の間隔をあけて配列され、上端が前記処理槽の底壁下面側に当接するように前記保存槽の底壁から立設された複数の縦材を含むことを特徴とする請求項1記載の海苔箱船。
【請求項7】
前記反応液処理機構は、上面側を開口した一つの槽体と、
前記槽体の上下中間位置に着脱可能に設置されて該槽体内を上下に仕切るとともに前記処理槽の底壁を形成するユニットと、を有し、
前記槽体に底壁ユニットが設置されることにより、前記槽体内に前記処理槽と前記保存槽の上下二層構造を形成し、
前記補強手段は、前記槽体の下部側に設けられ、前記底壁ユニットを下から着脱可能に支持するように設けられたことを特徴とする請求項1ないし6のいずれかに記載の海苔箱船。
発明の詳細な説明
【技術分野】
【0001】
本発明は、海苔の養殖において、養殖海苔の活性処理や施肥処理等の作業に使用される海苔箱船に関する。
続きを表示(約 1,800 文字)
【背景技術】
【0002】
海苔の養殖では、養殖海苔に付着した他の海藻や病原菌を駆除するための活性処理や、養殖海苔の成長を促進させるための施肥処理が行われる。これらの作業は船によって行われるが、この作業に利用される船としては、安価な小型の箱船、いわゆる、箱船(海苔箱船)が用いられることが多い。箱船には、その船上に活性処理液や施肥処理が貯留される処理層が設けられている。そして、活性処理や施肥処理では、海苔の養殖場に展張されている海苔網を箱船の前方側から船上に引き揚げ、箱船上の処理層内に海苔網を浸漬させることで、養殖海苔の活性処理や施肥処理が行われる。この場合、箱船は海苔網の下をくぐりながら進行することで、養殖海苔の処理が連続して行われる。
【0003】
ところで、海苔箱船は、通常の船よりも移動効率が悪いため、養殖海苔の活性処理や施肥処理が行われる期間(約3か月程度)においては、海苔の養殖場付近、つまり、海上に停泊されている。通常、箱船において活性処理や施肥処理に使用したそれぞれの処理後の処理残液は、処理残液の海洋投棄を防止するために、箱船とは別の親船によって供給あるいは回収される運用がなされている。しかしながら、回収の都度、親船を使用した回収作業を行う必要があり効率が悪くコストもかさむ問題があった。そこで、本出願人は、先に出願した特許文献1、2において、箱船に、処理槽と保存槽を上下二層とした構造の反応液処理機構を設けて、当該処理残液を保存槽に保存可能としたことで、処理残液回収のためにその都度親船を使用することなく、より効率的な当該処理残液の再利用や回収を可能とする海苔箱船を提案している(例えば、特許文献1、2参照)。
【先行技術文献】
【特許文献】
【0004】
特許第7280648号公報
特許第7343950号公報
【発明の概要】
【発明が解決しようとする課題】
【0005】
特許文献1、2で提案した海苔箱船は、上記のように効率的な当該処理残液の再利用や回収を可能とする利点があるものの、処理槽と保存槽を上下二層とした構造であることから、下記のような課題があった。例えば、箱船や反応液処理機構等をメンテナンスや清掃する際に、処理槽上に作業者や重量物が載る場合があるが、当該処理槽の下方側は保存槽の中空空間となっているため、重量物等により当該処理槽の底壁が変形したり破損したりするおそれがあった。また、保存槽に処理残液等を保存している状態では、例えば、急な横波等の影響で処理残液等が保存槽内で急激に偏ることによって箱船の重心が移動してしまい、箱船の安定性及び安全性に影響がでるおそれがあった。
【0006】
本発明は上記従来の課題に鑑みてなされたものであり、その一つの目的は、処理槽と保存槽の上下二層構造の反応液処理機構を有する海苔箱船であっても、処理槽の底壁強度を向上しうる海苔箱船を提供することにある。さらに、保存槽内に処理液等の液体を貯留している場合でも、船の安定性を保持しうる海苔箱船を提供することにある。
【課題を解決するための手段】
【0007】
上記課題を解決するために本発明の海苔箱船は、箱船本体と、当該箱船本体の上面に設けられた養殖海苔の反応液処理を行う反応液処理機構と、を備えた海苔箱船であって、前記反応液処理機構は、反応液に浸漬させて前記養殖海苔の反応液処理を行うための処理槽と、反応液処理後の処理残液を保存しておくための保存槽と、の上下二槽構造となっており、かつ前記保存槽の内部空間に設けられ、前記処理槽の、底壁下面側を下から受ける補強手段を有する。
【0008】
また、前記補強手段は、前記保存槽の内部空間を横切るように設置されて前記処理槽の底壁下面側を受ける横材を有することとしてもよい。
【0009】
また、前記横材は、下部側に液体を通流させうる間隙を形成して設けられたこととしてもよい。
【0010】
また、前記横材は、前記保存槽の底壁との間に前記間隙を形成し、前記保存槽の内部空間の上部側を複数の区画に分割するように架設された梁状部材を含むこととしてもよい。
(【0011】以降は省略されています)
この特許をJ-PlatPat(特許庁公式サイト)で参照する
関連特許
株式会社オーツボ
海苔箱船
1日前
株式会社オーツボ
海苔剥ぎ装置
1日前
株式会社オーツボ
箱船用ガイド装置及び海苔箱船
19日前
個人
草刈り鋏
1日前
個人
虫捕り器
19日前
個人
刈込鋏保持具
15日前
個人
後付巻降ろし器
19日前
個人
飼育容器
29日前
株式会社丹勝
緑化工法
16日前
個人
イカ釣り用ヤエン
19日前
株式会社シマノ
釣竿
19日前
井関農機株式会社
作業車両
19日前
井関農機株式会社
作業車両
17日前
井関農機株式会社
作業車両
9日前
井関農機株式会社
作業車両
9日前
井関農機株式会社
作業車両
19日前
個人
水耕栽培システム
29日前
個人
四足動物用装着具
2日前
大栄工業株式会社
捕獲器
9日前
井関農機株式会社
作業車両
15日前
井関農機株式会社
作業車両
2日前
井関農機株式会社
作業車両
29日前
株式会社オーツボ
海苔箱船
1日前
松山株式会社
農作業機
15日前
個人
妻面トラス梁付き園芸用ハウス
1か月前
個人
伸縮する草刈り機の可動装置。
19日前
松山株式会社
農作業機
29日前
トヨタ自動車株式会社
育苗装置
16日前
みのる産業株式会社
茎葉処理装置
3日前
スガノ農機株式会社
圃場作業装置
16日前
個人
飼育水槽用の浄化装置
23日前
トヨタ自動車株式会社
植物栽培装置
1か月前
井関農機株式会社
コンバイン
16日前
グローブライド株式会社
釣竿
9日前
株式会社デンソー
農業用装置
11日前
株式会社スズテック
播種装置
1日前
続きを見る
他の特許を見る