TOP
|
特許
|
意匠
|
商標
特許ウォッチ
Twitter
他の特許を見る
10個以上の画像は省略されています。
公開番号
2025164709
公報種別
公開特許公報(A)
公開日
2025-10-30
出願番号
2025053552
出願日
2025-03-27
発明の名称
蜜蜂保護装置
出願人
個人
代理人
主分類
A01K
47/06 20060101AFI20251023BHJP(農業;林業;畜産;狩猟;捕獲;漁業)
要約
【課題】養蜂で飼育される蜜蜂をオオスズメバチの襲撃から保護するための防護装置を提供する。
【解決手段】蜜蜂もオオスズメバチも通過できるが柵状部材を巣門前に蜜蜂を挟んでしまわない間隔で平行に複数設置し、その中の1つを左右に可動させることによって、オオスズメバチを圧殺、または捕獲することによって、巣門近くでのスズメバチの襲撃をなくし、これによって蜜蜂の反撃もなくさせ、養蜂巣箱の蜜蜂を保護することができる。
【選択図】図1
特許請求の範囲
【請求項1】
養蜂巣箱の巣門前に設置され、蜜蜂をオオスズメバチから保護する蜜蜂保護装置であって、
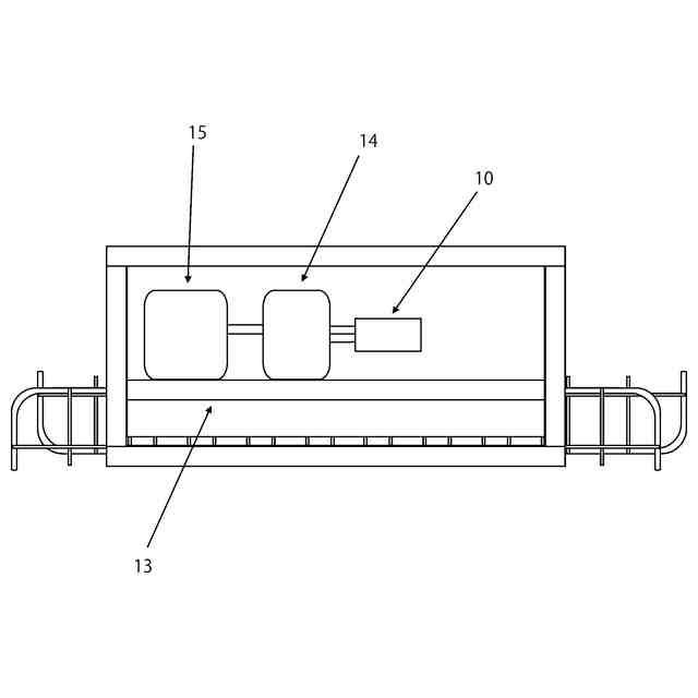
第1の間隔で複数の第1縦棒が配置された第1柵状部材と、前記第1柵状部材と平行に第2の間隔を置いて配置され、前記第1縦棒と同じ間隔で複数の第2縦棒が配置された第2柵状部材と、前記第2の間隔を保って前記第1柵状部材を前記第2柵状部材に対して相対的に往復動させる駆動手段とを備えることを特徴とする蜜蜂保護装置。
続きを表示(約 500 文字)
【請求項2】
前記第1の柵状部材を挟むように、前記第2の間隔を保って、平行に配置された第3柵状部材を更に備え、前記第1柵状部材を前記第2柵状部材及び前記第3柵状部材に対して相対的に往復動させることを特徴とする請求項1に記載の蜜蜂保護装置。
【請求項3】
前記第2の間隔は、4~6mmに設定されていることを特徴とする請求項1又は2に記載の蜜蜂保護装置。
【請求項4】
前記第1及び第2柵状部材を電気柵としたことを特徴とする請求項1に記載の蜜蜂保護装置。
【請求項5】
粘着シートと、オオスズメバチを挟持した前記第1及び第2柵状部材を、前記粘着シートの設置場所へ移動させる移動手段とを備えたことを特徴する請求項1に記載の蜜蜂保護装置。
【請求項6】
往復動する前記第1及び第2柵状部材の前側に、第1の棒状部材と、前記第1棒状部材に交差して所定間隔で前記第1棒状部材に接続する複数の第2棒状部材からなる追い払い部材と、前記追い払い部材を駆動する駆動手段とからなる保護機構を更に備えることを特徴とする請求項1に記載のミツバチ保護装置。
発明の詳細な説明
【技術分野】
【0001】
この発明は蜜蜂をオオスズメバチから保護する装置に関するものである。
続きを表示(約 2,000 文字)
【背景技術】
【0002】
養蜂家にとってスズメバチによる被害は甚大なものとなっている。これはスズメバチが蜜蜂を餌とするため巣箱前に飛来して蜜蜂を襲撃するためである。キイロスズメバチやコガタスズメバチは巣門前でホバリングし、蜜蜂を1匹捕らえると近くの木の枝などにとまり、蜜蜂を肉団子にして自分の巣に持ち帰る。このような場合多少の被害は生じるものの巣箱の群れが全滅してしまうようなことはない。
しかし、オオスズメバチによる襲撃は被害の甚大さがまるで違う。オオスズメバチは蜜蜂の巣箱の巣門に降り立ち、巣箱の巣門近くにいる蜜蜂を次々に噛み殺す。殺した蜜蜂をすぐに巣に持ち帰るのではなく、出てくる蜜蜂を次々に噛み殺し、蜜蜂の死体の山を築いていく。その数は数千匹にも及ぶ。やがてその内の一匹を肉団子にして自分の巣に持ち帰る。それと同時に仲間のオオスズメバチに蜜蜂の巣箱の位置を教え、数匹から数十匹で襲撃を行うようになる。オオオスズメバチは巣門近くで蜜蜂を待ち伏せし、オオスズメバチに反撃するため巣箱から次々と出てくる蜜蜂を噛み殺し、やがて巣箱内の蜜蜂の数が減少すると、巣箱内に侵入し、蜜蜂の群れを全滅させ、成虫、蛹、幼虫、蜂蜜を自分たちの巣に持ち帰り餌としてしまう。このように数十匹のオオスズメバチで襲撃された場合、1つの蜜蜂の巣箱の群れが全滅してしまうまでに早ければ30分から1時間もかからない。
これを防止しようと、これまで、オオスズメバチが巣箱内に侵入できないようにするための防護網やスズメバチが容易に巣箱に近づけないようにするための蜜蜂保護装置が開発されてきた。
【先行技術文献】
【特許文献】
【0003】
特開2014-050344号広報
特開2020-184902号広報
特開2005-160339号広報
【0004】
例えば、特開2014-050344号広報では、養蜂巣箱の巣門の外側に、蜜蜂は通過できるがスズメバチは通過できない大きさの防護装置を設置し、スズメバチが巣箱内に侵入することが出来ないようにしている。
【0005】
また、特開2020-184902号広報の、スズメバチが巣箱内に侵入できない防護装置に加え、巣門前にスズメバチの接近を妨害するための複数本の線状部材を巣門の前方に配置して、スズメバチが容易に巣門に近づけないようにするための蜜蜂保護装置などが知られている。
【0006】
さらに、特開2005-160339号広報にあるような、蜜蜂巣箱の巣門前に蜜蜂は接触しないがスズメバチは接触するような間隔に電気を通す金属部材を設け、その部材に電源の電極を接続し電気ショックによってスズメバチが蜜蜂を攻撃しないようにする方法などが試みられてきた。
【発明の概要】
【発明が解決しようとする課題】
【0007】
しかしながら上述した蜜蜂保護装置ではオオスズメバチを巣箱内に侵入させることは防ぐことが出来るが、オオスズメバチが巣箱内に出入りする蜜蜂と巣門近くで容易に接触することが出来、多くの蜜蜂が蜜蜂保護装置を通り抜けようとする際に噛み殺されてしまう。またオオスズメバチの襲撃を受けた蜜蜂の群れは、やがて反撃するために安全な巣門内にはとどまらず、自ら巣門の外に出ていってオオスズメバチに噛み殺されてしまう。最終的に巣箱内の多数の蜜蜂がオオスズメバチに噛み殺されることになり、蜜蜂群は群れを維持するのに十分な数の働き蜂を維持することが出来ず全滅してしまう。
【0008】
特開2020-184902号広報の蜜蜂保護装置においても、飛翔しながら巣箱に近づくスズメバチには効果を発揮するが、歩いて近づくスズメバチに対しては接近を許してしまい同様の結果になってしまう。
【0009】
特開2005-160339号広報の電気ショックによるスズメバチの撃退も一時的にスズメバチの動きを止める程度にすぎず、反撃しようとする蜜蜂はオオスズメバチが電気ショックを受けない場所でスズメバチに噛み殺されてしまう。
【課題を解決するための手段】
【0010】
上記の課題を解決するため、本発明は、養蜂巣箱の巣門前方に、蜜蜂もオオスズメバチも容易に通過できるような格子状の金網、あるいは蜜蜂もオオスズメバチも容易に通過できる間隔で直線に配置された棒状の部材を柵状に構成させ、複数列配置する。列と列の間隔は蜜蜂を挟んで圧死させない距離であり、4~6ミリが望ましい。この距離はオオスズメバチが通り抜けられない距離である。養蜂に利用する蜜蜂の種類による体格差、また飼育地域における蜜蜂の体格差があるため列と列の間隔は4~8ミリの中で、飼育している蜜蜂に適した距離に設定すると良い。
(【0011】以降は省略されています)
この特許をJ-PlatPat(特許庁公式サイト)で参照する
関連特許
個人
草刈り鋏
18日前
個人
蠅捕獲器
14日前
個人
刈込鋏保持具
1か月前
個人
蜜蜂保護装置
5日前
個人
種子の製造方法
11日前
個人
草刈機用回転刃
14日前
個人
昆虫捕集器
11日前
株式会社丹勝
緑化工法
1か月前
井関農機株式会社
作業車両
26日前
井関農機株式会社
作業車両
26日前
井関農機株式会社
作業車両
1か月前
個人
四足動物用装着具
19日前
大栄工業株式会社
捕獲器
26日前
株式会社オーツボ
海苔箱船
18日前
井関農機株式会社
作業車両
19日前
井関農機株式会社
作業車両
14日前
井関農機株式会社
作業車両
1か月前
松山株式会社
農作業機
1か月前
松山株式会社
草刈作業機
5日前
トヨタ自動車株式会社
育苗装置
1か月前
みのる産業株式会社
茎葉処理装置
20日前
スガノ農機株式会社
圃場作業装置
1か月前
グローブライド株式会社
釣竿
26日前
株式会社小川農具製作所
穴明け装置
27日前
株式会社三生
足括り罠
7日前
株式会社デンソー
農業用装置
28日前
グローブライド株式会社
釣竿
27日前
井関農機株式会社
コンバイン
1か月前
株式会社スズテック
播種装置
18日前
株式会社クボタ
移植機
19日前
グローブライド株式会社
魚釣用リール
25日前
株式会社クボタ
移植機
19日前
グローブライド株式会社
釣用のルアー
28日前
アイミット株式会社
爪とぎ器具
11日前
株式会社笑農和
制御装置および送水装置
1か月前
株式会社クボタ
コンバイン
27日前
続きを見る
他の特許を見る