TOP
|
特許
|
意匠
|
商標
特許ウォッチ
Twitter
他の特許を見る
10個以上の画像は省略されています。
公開番号
2025163732
公報種別
公開特許公報(A)
公開日
2025-10-30
出願番号
2024067212
出願日
2024-04-18
発明の名称
情報処理装置、情報処理装置の制御方法、プログラム及び記憶媒体
出願人
キヤノン株式会社
代理人
弁理士法人ひのき国際特許事務所
主分類
G06F
3/12 20060101AFI20251023BHJP(計算;計数)
要約
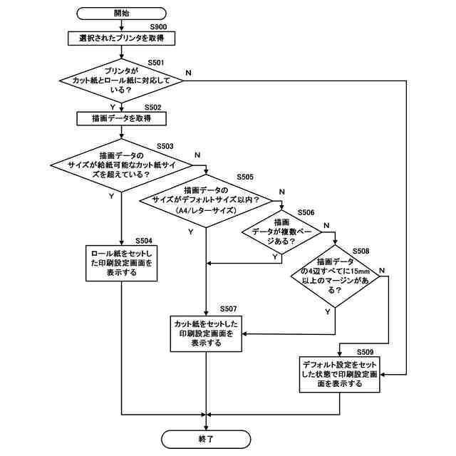
【課題】従来、ロール紙とカット紙を同時にセットすることが可能な印刷装置で印刷する場合に、印刷時に給紙設定を印刷ジョブの内容に応じて自動で決定して印刷する技術があるが、自動的に決定された給紙設定はユーザの意図に反する可能性があり、ユーザの意図に反する印刷が行われてしまう可能性があった。
【解決手段】PC100の印刷情報取得部203が、ロール紙とカット紙を同時にセット可能なプリンタ110で印刷する印刷ジョブの情報を取得し(S500)、印刷設定生成部204が前記取得した印刷ジョブの情報に基づいて、印刷設定として、ロール紙に印刷する第1設定、又は、カット紙に印刷する第2設定が設定された設定画面を表示するように制御し(S501~S509)、前記設定画面に表示された前記第1設定または前記第2設定をユーザ操作に応じて変更する(S1001~S1002)。
【選択図】図10
特許請求の範囲
【請求項1】
ロール紙とカット紙を同時にセットすることが可能な印刷装置と通信可能な情報装置であって、
印刷ジョブの情報を取得する第1取得手段と、
前記第1取得手段で取得した印刷ジョブの情報に基づいて、印刷設定として、ロール紙に印刷する第1設定、又は、カット紙に印刷する第2設定が設定された設定画面を表示するように制御する制御手段と、
前記設定画面に表示された前記第1設定または前記第2設定をユーザ操作に応じて変更する変更手段と、
を有することを特徴とする情報処理装置。
続きを表示(約 1,300 文字)
【請求項2】
前記制御手段は、前記第1取得手段で取得した印刷ジョブの情報が、描画データのサイズが給紙可能なカット紙のサイズを超えていることを示す場合、前記第1設定として前記設定画面を表示することを特徴とする請求項1に記載の情報処理装置。
【請求項3】
前記制御手段は、前記第1取得手段で取得した印刷ジョブの情報が、描画データのサイズが規定サイズを超えていないことを示す場合、前記第2設定として前記設定画面を表示することを特徴とする請求項1に記載の情報処理装置。
【請求項4】
前記制御手段は、前記第1取得手段で取得した印刷ジョブの情報が、描画データが複数ページであることを示す場合、前記第2設定として前記設定画面を表示することを特徴とする請求項1に記載の情報処理装置。
【請求項5】
前記制御手段は、前記第1取得手段で取得した印刷ジョブの情報が、描画データの4辺すべてに所定サイズ以上のマージンがあることを示す場合、前記第2設定として前記設定画面を表示することを特徴とする請求項1に記載の情報処理装置。
【請求項6】
前記制御手段は、前記第1取得手段で取得した印刷ジョブの情報が、描画データの4辺の少なくともいずれかに所定サイズ以上のマージンがないことを示す場合、所定の設定で前記設定画面を表示することを特徴とする請求項1に記載の情報処理装置。
【請求項7】
前記印刷装置から該印刷装置の給紙設定を取得する第2取得手段を有し、
前記設定画面の制御で前記設定画面に設定した給紙設定と、前記第2取得手段により取得した前記印刷装置の給紙設定とが異なる場合、前記印刷装置の給紙設定と前記設定画面の給紙設定とが異なることを示す警告を表示するように制御することを特徴とする請求項1~6のいずれか1項に記載の情報処理装置。
【請求項8】
前記警告に応じて前記設定画面の給紙設定を前記印刷装置の給紙設定に合わせるか否かをユーザ操作に応じて選択するための選択手段を有し、
前記制御手段は、前記選択手段により前記印刷装置の給紙設定に合わせることが選択された場合、前記印刷装置の給紙設定と同じ給紙設定が設定された設定画面を表示するように制御することを特徴とする請求項7に記載の情報処理装置。
【請求項9】
ロール紙とカット紙を同時にセットすることが可能な印刷装置と通信可能な情報装置の制御方法であって、
印刷ジョブの情報を取得する取得工程と、
前記取得工程で取得した印刷ジョブの情報に基づいて、印刷設定として、ロール紙に印刷する第1設定、又は、カット紙に印刷する第2設定が設定された設定画面を表示するように制御する制御工程と、
前記設定画面に表示された前記第1設定または前記第2設定をユーザ操作に応じて変更する変更工程と、
を有することを特徴とする情報処理装置の制御方法。
【請求項10】
コンピュータを、請求項1~6のいずれか1項に記載された情報処理装置の各手段として機能させるためのプログラム。
(【請求項11】以降は省略されています)
発明の詳細な説明
【技術分野】
【0001】
本発明は、情報処理装置、情報処理装置の制御方法、プログラム及び記憶媒体に関するものである。
続きを表示(約 1,600 文字)
【背景技術】
【0002】
ロール紙とカット紙を同時にセットすることが可能な印刷装置がある。また、印刷時に給紙設定を印刷ジョブの内容に応じて自動でセットする技術がある(特許文献1参照)。
【先行技術文献】
【特許文献】
【0003】
特開2011―245804号公報
【発明の概要】
【発明が解決しようとする課題】
【0004】
従来技術では、印刷ジョブの内容に応じて、印刷実行後に自動的に給紙設定がカット紙かロール紙かが決まり印刷が行われてしまう。しかし、自動的に決められた給紙設定はユーザの意図に反する可能性があり、ユーザの意図に反する印刷が行われてしまう可能性があった。
【0005】
本発明は、上記の課題を解決するためになされたものである。本発明は、印刷設定時にユーザがカット紙かロール紙かを選択する給紙設定の手間を省きつつ、ユーザの意図に反して印刷まで行われる可能性を低減することができる仕組みを提供することを目的とする。
【課題を解決するための手段】
【0006】
本発明は、ロール紙とカット紙を同時にセットすることが可能な印刷装置と通信可能な情報装置であって、印刷ジョブの情報を取得する第1取得手段と、前記第1取得手段で取得した印刷ジョブの情報に基づいて、印刷設定として、ロール紙に印刷する第1設定、又は、カット紙に印刷する第2設定が設定された設定画面を表示するように制御する制御手段と、前記設定画面に表示された前記第1設定または前記第2設定をユーザ操作に応じて変更する変更手段と、を有することを特徴とする。
【発明の効果】
【0007】
本発明によれば、印刷設定時にユーザがカット紙かロール紙かを選択する給紙設定の手間を省きつつ、ユーザの意図に反して印刷まで行われる可能性を低減することができる。
【図面の簡単な説明】
【0008】
本実施形態に係る印刷システムのハードウェア構成の一例を示す図。
本実施形態の情報処理装置のソフトウェア構成の一例を示す図。
印刷関連情報の一例を示す図。
印刷時に設定が必要な印刷設定に含まれる給紙設定項目の一例を示す図。
第1実施形態の印刷設定画面表示処理の一例を示すフローチャート。
PCの表示装置に表示する印刷設定画面の一例を示す図。
描画データのマージン幅を説明する図。
第1実施形態の給紙設定変更処理の一例を示すフローチャート。
第1実施形態のプリンタ変更処理の一例を示すフローチャート。
第1実施形態の印刷実行までの処理の一例を示すフローチャート。
第2実施形態のプリンタとの給紙整合確認処理の一例を示すフローチ。
第2実施形態におけるPCの表示装置に表示する警告表示の一例を示す図。
【発明を実施するための形態】
【0009】
以下、添付図面を参照して本発明の実施形態を詳しく説明する。尚、以下の実施形態は特許請求の範囲に係る本発明を限定するものでなく、また本実施形態で説明されている特徴の組み合わせの全てが本発明の解決手段に必須のものとは限らない。
【0010】
〔第1実施形態〕
図1を用いて本実施形態の印刷システムの全体構成について説明する。
図1は、本発明の一実施形態に係る印刷システムのハードウェア構成の一例を示すブロック図である。
本実施形態では、ホストコンピュータであるPC100と、印刷装置であるプリンタ110とが、LAN(Local Area Network)等の通信バス30(ネットワーク)を介して通信可能に接続されている。図1では、プリンタは1つのみ図示されているが、通信バス30を介して任意の数のプリンタが接続可能である。
(【0011】以降は省略されています)
この特許をJ-PlatPat(特許庁公式サイト)で参照する
関連特許
キヤノン株式会社
容器
15日前
キヤノン株式会社
容器
9日前
キヤノン株式会社
トナー
18日前
キヤノン株式会社
トナー
1日前
キヤノン株式会社
現像装置
22日前
キヤノン株式会社
記録装置
1日前
キヤノン株式会社
測距装置
3日前
キヤノン株式会社
電子機器
1日前
キヤノン株式会社
記録装置
1日前
キヤノン株式会社
撮像装置
15日前
キヤノン株式会社
撮像装置
2日前
キヤノン株式会社
電子機器
1日前
キヤノン株式会社
撮像装置
9日前
キヤノン株式会社
撮像装置
15日前
キヤノン株式会社
表示装置
9日前
キヤノン株式会社
記録装置
15日前
キヤノン株式会社
撮像装置
15日前
キヤノン株式会社
撮像装置
1日前
キヤノン株式会社
雲台装置
1日前
キヤノン株式会社
液体収容体
4日前
キヤノン株式会社
液体収容体
3日前
キヤノン株式会社
画像処理装置
4日前
キヤノン株式会社
情報処理装置
11日前
キヤノン株式会社
画像形成装置
18日前
キヤノン株式会社
画像形成装置
4日前
キヤノン株式会社
光電変換装置
1日前
キヤノン株式会社
視線検出装置
3日前
キヤノン株式会社
電子写真装置
16日前
キヤノン株式会社
画像形成装置
18日前
キヤノン株式会社
画像形成装置
18日前
キヤノン株式会社
画像形成装置
12日前
キヤノン株式会社
光電変換装置
12日前
キヤノン株式会社
画像形成装置
3日前
キヤノン株式会社
画像形成装置
3日前
キヤノン株式会社
画像形成装置
2日前
キヤノン株式会社
画像形成装置
2日前
続きを見る
他の特許を見る