TOP
|
特許
|
意匠
|
商標
特許ウォッチ
Twitter
他の特許を見る
10個以上の画像は省略されています。
公開番号
2025159598
公報種別
公開特許公報(A)
公開日
2025-10-21
出願番号
2024062299
出願日
2024-04-08
発明の名称
画像形成装置
出願人
キヤノン株式会社
代理人
弁理士法人大塚国際特許事務所
主分類
G03G
15/08 20060101AFI20251014BHJP(写真;映画;光波以外の波を使用する類似技術;電子写真;ホログラフイ)
要約
【課題】間違った色のトナーが充填された現像剤容器を入れてしまうと現像器内で異なった色のトナーが混ざってしまう。
【解決手段】カラー画像を形成する画像形成装置が提供される。その装置は、色成分ごとの現像剤を収容した現像剤容器を収納するトレイを備えた色成分ごとの現像部と、現像部により色成分ごとの現像剤で現像された画像をシート材に転写してカラー画像を形成する画像形成部と、トレイに装着された現像剤容器に対応する色成分を検知する検知部とを有する。検知部は、現像剤容器が装着されたトレイを現像部へと収納する動きに応じて、現像剤容器に設けられた色成分を示す特徴部から現像剤容器に対応する色成分を検知する。
【選択図】図7
特許請求の範囲
【請求項1】
第1現像剤を収容する第1カートリッジと、第2現像剤を収容する第2カートリッジと、を着脱可能な画像形成装置であって、
前記第1カートリッジから供給された前記第1現像剤を収容するように構成された第1現像室と前記第2カートリッジから供給された前記第2現像剤を収容するように構成された第2現像室を備えたロータリーと、
前記第1カートリッジを着脱可能に支持し、前記第1カートリッジが前記ロータリーの外部に位置される第1位置と、前記第1カートリッジが前記ロータリーの内部に位置される第2位置とに前記ロータリーに対して変位する第1トレイと、
前記第2カートリッジを着脱可能に支持し、前記第2カートリッジが前記ロータリーの外部に位置される第3位置と、前記第1カートリッジが前記ロータリーの内部に位置される第4位置とに前記ロータリーに対して変位する第2トレイと、
被接触部を備えた回路と接続された検知部と、
を備え、
前記第1トレイに支持された前記第1カートリッジが前記第1位置から前記第2位置に移動を開始した後、前記第1カートリッジが備える第1接触部は、前記被接触部と当接し、
前記第1接触部と前記被接触部が当接した場合に、前記回路に第1電流が発生し、前記検知部は前記第1電流に基づく信号を検知し、
前記第1トレイに支持された前記第2カートリッジが前記第1位置から前記第2位置に移動を開始した後、前記第2カートリッジが備える第2接触部は、前記被接触部と当接し、
前記第2接触部と前記被接触部が当接した場合に、前記回路に第2電流が発生し、前記検知部は前記第2電流に基づく信号を検知する、
ことを特徴とする画像形成装置。
続きを表示(約 1,800 文字)
【請求項2】
請求項1に記載の画像形成装置であって、
前記第1カートリッジは前記第1接触部を含む第1回路を有し、第2カートリッジは前記第2接触部を含む第2回路を有し、前記第1接触部及び前記第2接触部は前記被接触部と電気的に接続でき、前記第1回路と前記第2回路は互いに異なる抵抗値を持ち、
前記第1電流は前記第1回路の抵抗値に、前記第2電流は前記第2回路の抵抗値に応じた電流である
ことを特徴とする画像形成装置。
【請求項3】
請求項2に記載の画像形成装置であって、
前記第1接触部は2つの電極を含み、前記第1回路は前記2つの電極それぞれに端子が接続された第1抵抗を含み、前記第2接触部は2つの電極を含み、前記第2回路は前記2つの電極それぞれに端子が接続された、前記第1抵抗とは抵抗値が異なる第2抵抗を含む
ことを特徴とする画像形成装置。
【請求項4】
請求項3に記載の画像形成装置であって、
前記検知部は、前記第1トレイを収納する動きに応じて、前記被接触部が、前記第1カートリッジの前記第1接触部または前記第2カートリッジの前記第2接触部に接した後、前記第1接触部または前記第2接触部から離れたことを検知したことで、前記第1トレイまたは前記第2トレイの前記ロータリーへの収納の完了を検知する
ことを特徴とする画像形成装置。
【請求項5】
請求項1に記載の画像形成装置であって、
前記第1接触部および第2接触部は、相異なる導通部の組み合わせを含み、
前記検知部は、前記第1トレイを収納する動きに応じて前記導通部の組み合わせを特定して前記第1トレイに対応するカートリッジであることを検知する
ことを特徴とする画像形成装置。
【請求項6】
請求項5に記載の画像形成装置であって、
前記導通部の組み合わせは、前記第1カートリッジ及び前記第2カートリッジに設けられた少なくとも2組の電極の組の、それぞれの組の電極の間の電気的な接続の有無により構成され、
前記検知部は、前記少なくとも2組の電極のそれぞれに接触する前記被接触部を介して前記導通部の組み合わせを特定して前記第1トレイに装着されたカートリッジが前記第1カートリッジであることを検知する
ことを特徴とする画像形成装置。
【請求項7】
請求項1に記載の画像形成装置であって、
前記第1接触部及び前記第2接触部は、相異なる数の突起を含み、
前記検知部は、前記第1トレイを収納する動きに応じて前記突起の数を特定して前記第1トレイに装着されたカートリッジが前記第1カートリッジであることを検知する
ことを特徴とする画像形成装置。
【請求項8】
請求項7に記載の画像形成装置であって、
前記突起は、前記第1トレイを収納する動きの方向に沿って設けられ、
前記検知部は、前記突起によりオンとなるスイッチにより前記突起の数を特定して前記第1トレイに装着されたカートリッジが前記第1カートリッジであることを検知する
ことを特徴とする画像形成装置。
【請求項9】
請求項1乃至8のいずれか一項に記載の画像形成装置であって、
前記第1トレイに装着されたカートリッジに収容された現像剤を前記第1現像室に供給するための開閉式の弁を開く開弁手段と、
制御手段と、
を更に有し、
前記制御手段は、前記検知部により前記第1トレイに装着されたカートリッジが前記第1カートリッジであることが検知された場合に、前記開弁手段により前記弁を開く
ことを特徴とする画像形成装置。
【請求項10】
請求項9に記載の画像形成装置であって、
前記第1カートリッジまたは前記第2カートリッジが前記ロータリーに収納されたことを検知する手段を更に有し、
前記制御手段は、前記検知部により前記第1トレイに装着されたカートリッジが前記第1カートリッジであることが検知され、かつ前記第1カートリッジが前記ロータリーに収納された場合に、前記開弁手段により前記弁を開く
ことを特徴とする画像形成装置。
発明の詳細な説明
【技術分野】
【0001】
本発明は、画像形成装置に関する。
続きを表示(約 2,400 文字)
【背景技術】
【0002】
トナー等の現像剤が入っている交換可能な現像剤容器と現像器が別体であるカラーの画像形成装置がある。
【先行技術文献】
【特許文献】
【0003】
特開2012-61706号公報
【発明の概要】
【発明が解決しようとする課題】
【0004】
上記背景のような構成において、間違った色の現像剤容器を現像器に対して装着された場合、現像器に誤った色の現像剤が供給されてしまう。そこで、本発明の目的は、誤った現像剤容器が現像器に対して装着されることを防止することである。
【課題を解決するための手段】
【0005】
上記目的を達成するために本発明の一態様によれば、第1現像剤を収容する第1カートリッジと、第2現像剤を収容する第2カートリッジと、を着脱可能な画像形成装置であって、
前記第1カートリッジから供給された前記第1現像剤を収容するように構成された第1現像室と前記第2カートリッジから供給された前記第2現像剤を収容するように構成された第2現像室を備えたロータリーと、
前記第1カートリッジを着脱可能に支持し、前記第1カートリッジが前記ロータリーの外部に位置される第1位置と、前記第1カートリッジが前記ロータリーの内部に位置される第2位置とに前記ロータリーに対して変位する第1トレイと、
前記第2カートリッジを着脱可能に支持し、前記第2カートリッジが前記ロータリーの外部に位置される第3位置と、前記第1カートリッジが前記ロータリーの内部に位置される第4位置とに前記ロータリーに対して変位する第2トレイと、
被接触部を備えた回路と接続された検知部と、
を備え、
前記第1トレイに支持された前記第1カートリッジが前記第1位置から前記第2位置に移動を開始した後、前記第1カートリッジが備える第1接触部は、前記被接触部と当接し、
前記第1接触部と前記被接触部が当接した場合に、前記回路に第1電流が発生し、前記検知部は前記第1電流に基づく信号を検知し、
前記第1トレイに支持された前記第2カートリッジが前記第1位置から前記第2位置に移動を開始した後、前記第2カートリッジが備える第2接触部は、前記被接触部と当接し、
前記第2接触部と前記被接触部が当接した場合に、前記回路に第2電流が発生し、前記検知部は前記第2電流に基づく信号を検知する、
ことを特徴とする画像形成装置が提供される。
【発明の効果】
【0006】
本発明によれば、現像剤容器のコスト上昇を抑制しつつ、現像剤容器の装着位置の誤りを防止することができる。
【図面の簡単な説明】
【0007】
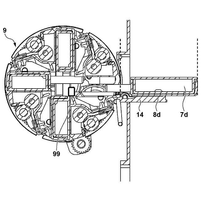
実施形態に関わる画像形成装置の概略断面図
画像形成装置に設けられたトナーカートリッジから現像ユニットへのトナー補給構成を示す概念図
画像形成装置に設けられたロータリー周辺の断面図
画像形成装置に設けられたロータリーの外観図
画像形成装置の外観図
画像形成装置に設けられたロータリー周辺の断面図(トナーカートリッジ交換時)
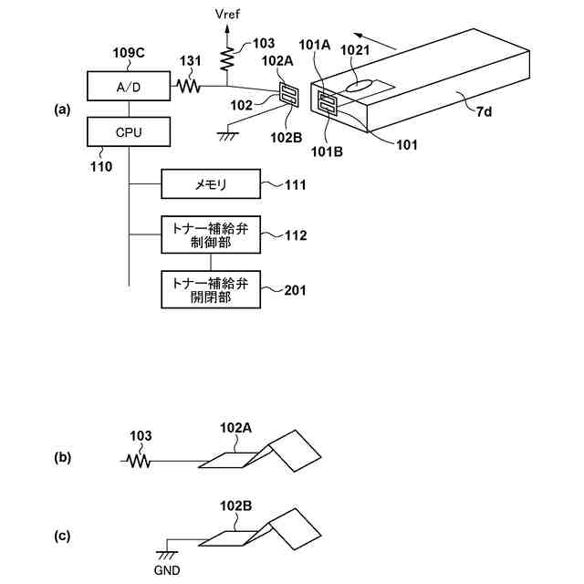
実施形態1のトナーカートリッジと画像形成装置1の接点構成図
実施形態1のトナーカートリッジと画像形成装置1の接点の流れを示す図。
実施形態1のトナーカートリッジ挿入時のロータリー内のトレイの状態を示す断面図
実施形態1のA/Dポートの電圧値を示す図
実施形態1を示すフローチャート
実施形態2のトナーカートリッジと画像形成装置の接点構成図
実施形態2のトナーカートリッジの接点部を示す構成図
実施形態2の画像形成装置内の板バネ形状を示す構成図
実施形態2の接点の状態を示す上視図
実施形態2のI/Oポートの状態を示す図
実施形態2を示すフローチャート
実施形態3のトナーカートリッジと画像形成装置の接点構成図
実施形態3の接点の状態を示す上視図
実施形態3のスイッチの状態を示す状態図
実施形態3を示すフローチャート
ロータリー内のトレイの配置を示す斜視図
ロータリー内のトレイ配置を示す断面図
トレイ挿抜の駆動構成を示す斜視図
トレイ挿抜の駆動構成を示す断面図
画像形成装置本体とトナーカートリッジの接点構成の一例を示す斜視図
【発明を実施するための形態】
【0008】
以下、添付図面を参照して実施形態を詳しく説明する。なお、以下の実施形態は特許請求の範囲に係る発明を限定するものではない。実施形態には複数の特徴が記載されているが、これらの複数の特徴の全てが発明に必須のものとは限らず、また、複数の特徴は任意に組み合わせられてもよい。さらに、添付図面においては、同一若しくは同様の構成に同一の参照番号を付し、重複した説明は省略する。
【0009】
<実施形態1>
図1~11を用いて、本発明に関わる画像形成装置の実施形態について説明する。
(画像形成装置の全体構成)
本実施形態に関わる画像形成装置について説明する。ここでは、複数の現像ユニットを備えた画像形成装置として、4つの現像ユニットを備えたカラーレーザービームプリンタを例示している。
【0010】
図1~図2を用いて、カラーレーザービームプリンタの概略構成及び画像形成動作について説明する。図1は、カラーレーザービームプリンタの概略断面である。
(【0011】以降は省略されています)
この特許をJ-PlatPat(特許庁公式サイト)で参照する
関連特許
キヤノン株式会社
トナー
今日
キヤノン株式会社
トナー
13日前
キヤノン株式会社
トナー
13日前
キヤノン株式会社
トナー
18日前
キヤノン株式会社
トナー
13日前
キヤノン株式会社
電子機器
20日前
キヤノン株式会社
現像容器
11日前
キヤノン株式会社
発光装置
25日前
キヤノン株式会社
表示装置
25日前
キヤノン株式会社
撮像装置
18日前
キヤノン株式会社
測距装置
6日前
キヤノン株式会社
定着装置
12日前
キヤノン株式会社
撮像装置
14日前
キヤノン株式会社
記録装置
11日前
キヤノン株式会社
撮像装置
26日前
キヤノン株式会社
現像容器
11日前
キヤノン株式会社
現像装置
4日前
キヤノン株式会社
記録装置
18日前
キヤノン株式会社
現像装置
11日前
キヤノン株式会社
撮影装置
11日前
キヤノン株式会社
現像装置
11日前
キヤノン株式会社
電子機器
26日前
キヤノン株式会社
電子機器
26日前
キヤノン株式会社
収容装置
26日前
キヤノン株式会社
電子機器
22日前
キヤノン株式会社
定着装置
26日前
キヤノン株式会社
光学センサ
13日前
キヤノン株式会社
モジュール
13日前
キヤノン株式会社
現像剤容器
19日前
キヤノン株式会社
半導体装置
20日前
キヤノン株式会社
画像形成装置
11日前
キヤノン株式会社
画像形成装置
22日前
キヤノン株式会社
画像形成装置
22日前
キヤノン株式会社
画像形成装置
22日前
キヤノン株式会社
画像形成装置
11日前
キヤノン株式会社
画像形成装置
22日前
続きを見る
他の特許を見る