TOP
|
特許
|
意匠
|
商標
特許ウォッチ
Twitter
他の特許を見る
10個以上の画像は省略されています。
公開番号
2025163884
公報種別
公開特許公報(A)
公開日
2025-10-30
出願番号
2024067488
出願日
2024-04-18
発明の名称
サクション基礎及びサクション基礎の地盤設置方法
出願人
カナデビア株式会社
代理人
個人
,
個人
主分類
E02D
27/32 20060101AFI20251023BHJP(水工;基礎;土砂の移送)
要約
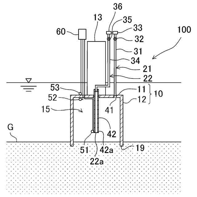
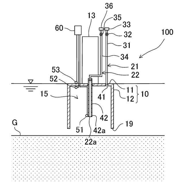
【課題】地盤の浸透破壊の発生を低減する。
【解決手段】サクション基礎100は、天井壁11と天井壁11から下方に延びて水中の地盤Gに貫入される側周壁12とを有する基礎本体10と、基礎本体10に設けられ、基礎本体10の内部で且つ地盤Gより上の空間から水を排出する第1排水部21と、基礎本体10に設けられ、基礎本体10の内部に位置する地盤Gの中から水を排出する第2排水部22とを備える。
【選択図】図1
特許請求の範囲
【請求項1】
天井壁と、前記天井壁から下方に延びて水中の地盤に貫入される側周壁とを有する基礎本体と、
前記基礎本体に設けられ、前記基礎本体の内部で且つ前記地盤より上の空間から水を排出する第1排水部と、
前記基礎本体に設けられ、前記基礎本体の内部に位置する前記地盤の中から水を排出する第2排水部とを備えるサクション基礎。
続きを表示(約 1,400 文字)
【請求項2】
請求項1に記載のサクション基礎において、
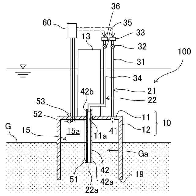
前記第1排水部が前記基礎本体の内部で且つ前記地盤より上の空間から水を排出して前記基礎本体が前記地盤に貫入された状態で、前記第2排水部は、前記基礎本体の内部に位置する前記地盤の中から水を排出するサクション基礎。
【請求項3】
請求項1に記載のサクション基礎において、
前記第2排水部は、前記地盤に貫入されて前記地盤の中から水を吸い込む吸込口を含み、
前記第2排水部の前記吸込口は、前記側周壁の下端よりも上方に位置するサクション基礎。
【請求項4】
請求項1に記載のサクション基礎において、
前記第2排水部は、前記地盤に貫入される先端を含む排水管を有し、
前記排水管の前記先端は、前記側周壁の下端よりも上方に位置するサクション基礎。
【請求項5】
請求項1に記載のサクション基礎において、
前記基礎本体の内部に位置する前記地盤の間隙水圧を検出する第1水圧センサと、
前記基礎本体の内部で且つ前記第1水圧センサよりも上の水圧を検出する第2水圧センサとを備えるサクション基礎。
【請求項6】
請求項5に記載のサクション基礎において、
前記第2排水部は、前記地盤に貫入される先端を含む排水管を有し、
前記排水管の前記先端は、前記側周壁の下端よりも上方に位置し、
前記第1水圧センサは、前記排水管の前記先端に位置するサクション基礎。
【請求項7】
請求項5に記載のサクション基礎において、
前記第2水圧センサは、前記基礎本体の内部で且つ前記地盤より上の空間の水圧を検出するサクション基礎。
【請求項8】
請求項5乃至7の何れか1つに記載のサクション基礎において、
前記第1水圧センサによって検出された測定値と前記第2水圧センサによって検出された測定値とに基づいて、前記基礎本体の内部に位置する前記地盤の動水勾配を演算し、演算された動水勾配が予め定められた閾値を超えないように、前記第1排水部及び前記第2排水部のうちの少なくとも前記第2排水部の流量を制御する制御装置をさらに備えるサクション基礎。
【請求項9】
天井壁と、前記天井壁から下方に延びて水中の地盤に貫入される側周壁とを有する基礎本体と、
前記基礎本体に設けられ、前記基礎本体の内部の水を排出する排水部とを備え、
前記排水部は、前記基礎本体の内部で且つ前記側周壁の下端よりも上方に開口して水を吸い込む吸込口を含み、
前記排水部の前記吸込口が、前記基礎本体の内部に位置する前記地盤に貫入された状態で、前記排水部は、前記基礎本体の内部に位置する前記地盤の中から水を排出するサクション基礎。
【請求項10】
天井壁と、前記天井壁から下方に延びて水中の地盤に貫入される側周壁とを有する基礎本体とを備えるサクション基礎を水中の地盤に設置する方法であって、
前記基礎本体を前記水中に沈めることと、
前記基礎本体の内部で且つ前記地盤より上の空間から水を排出して前記基礎本体を前記地盤に貫入することと、
前記基礎本体の内部に位置する前記地盤の中から水を排出することとを備えるサクション基礎の地盤設置方法。
(【請求項11】以降は省略されています)
発明の詳細な説明
【技術分野】
【0001】
ここに開示された技術は、サクション基礎及びサクション基礎の地盤設置方法に関する。
続きを表示(約 1,500 文字)
【背景技術】
【0002】
従来より、水中の地盤に設置されるサクション基礎が知られている。例えば、特許文献1には、天井部と天井壁から下方に延びる周壁部とを有する基礎本体を備えたサクション基礎が開示されている。周壁部が水底地盤中に貫入されることにより、基礎本体が地盤に支持される。
【先行技術文献】
【特許文献】
【0003】
特開平11-140880号公報
【発明の概要】
【発明が解決しようとする課題】
【0004】
ところで、前述のようなサクション基礎では、基礎本体内の水を強制排出することにより、基礎本体内外の水圧差(サクション圧)を発生させ、サクション圧に伴う貫入力を利用して基礎本体を地盤に貫入させる。しかしながら、サクション圧により、基礎本体内の水底地盤にも負圧が作用し、水底地盤内に上向きの浸透流が発生する。上向きの浸透流により、水底地盤の破壊(浸透破壊)が発生する虞がある。
【0005】
ここに開示された技術は、かかる点に鑑みてなされたものであり、その目的とするところは、地盤の浸透破壊の発生を低減することにある。
【課題を解決するための手段】
【0006】
ここに開示されたサクション基礎は、天井壁と前記天井壁から下方に延びて水中の地盤に貫入される側周壁とを有する基礎本体と、前記基礎本体に設けられ、前記基礎本体の内部で且つ前記地盤より上の空間から水を排出する第1排水部と、前記基礎本体に設けられ、前記基礎本体の内部に位置する前記地盤の中から水を排出する第2排水部とを備える。
【0007】
ここに開示されたサクション基礎は、天井壁と前記天井壁から下方に延びて水中の地盤に貫入される側周壁とを有する基礎本体と、前記基礎本体に設けられ、前記基礎本体の内部の水を排出する排水部とを備え、前記排水部は、前記基礎本体の内部で且つ前記側周壁の下端よりも上方に開口して水を吸い込む吸込口を含み、前記排水部の前記吸込口が、前記基礎本体の内部に位置する前記地盤に貫入された状態で、前記排水部は、前記基礎本体の内部に位置する前記地盤の中から水を排出する。
【0008】
ここに開示されたサクション基礎の地盤設置方法は、天井壁と、前記天井壁から下方に延びて水中の地盤に貫入される側周壁とを有する基礎本体とを備えるサクション基礎を水中の地盤に設置する方法であって、前記基礎本体を前記水中に沈めることと、前記基礎本体の内部で且つ前記地盤より上の空間から水を排出して前記基礎本体を前記地盤に貫入することと、前記基礎本体の内部に位置する前記地盤の中から水を排出することとを備える。
【0009】
ここに開示されたサクション基礎の地盤設置方法は、天井壁と、前記天井壁から下方に延びて水中の地盤に貫入される側周壁とを有する基礎本体とを備えるサクション基礎を水中の地盤に設置する方法であって、前記基礎本体を前記水中に沈めることと、前記基礎本体に設けられた排水部の吸込口より前記基礎本体の内部の水を排出して、前記基礎本体を前記地盤に貫入し、前記吸込口を前記基礎本体の内部に位置する前記地盤に貫入することと、前記排水部の前記吸込口より前記基礎本体の内部に位置する前記地盤の中から水を排出することとを備える。
【発明の効果】
【0010】
前記サクション基礎及びサクション基礎の地盤設置方法によれば、地盤の浸透破壊の発生を低減できる。
【図面の簡単な説明】
(【0011】以降は省略されています)
この特許をJ-PlatPat(特許庁公式サイト)で参照する
関連特許
カナデビア株式会社
サクション基礎
28日前
カナデビア株式会社
排ガス処理システム
9日前
カナデビア株式会社
封止装置および電池製造方法
1か月前
カナデビア株式会社
全固体電池およびその製造方法
29日前
カナデビア株式会社
電池製造装置および電池製造方法
1か月前
カナデビア株式会社
電池製造装置および電池製造方法
1か月前
カナデビア株式会社
情報処理装置および情報管理システム
27日前
カナデビア株式会社
積層型電池および積層型電池の製造方法
28日前
カナデビア株式会社
線形摩擦接合方法および線形摩擦接合装置
29日前
カナデビア株式会社
全固体電池の製造方法および電池製造装置
28日前
カナデビア株式会社
吸収転換触媒及び炭化水素化合物の製造方法
2か月前
カナデビア株式会社
情報処理装置、学習方法、および学習プログラム
1か月前
カナデビア株式会社
情報処理装置、学習方法、および学習プログラム
27日前
カナデビア株式会社
サクション基礎及びサクション基礎の地盤設置方法
7日前
カナデビア株式会社
異常検知システム、異常検知方法、及び制御プログラム
1か月前
カナデビア株式会社
制御装置、水電解システム、制御方法および制御プログラム
28日前
カナデビア株式会社
情報処理装置、情報処理プログラム、情報処理システムおよび情報端末装置
27日前
カナデビア株式会社
スケジュール管理装置、スケジュール管理方法、及びスケジュール管理プログラム
1か月前
国立大学法人 奈良先端科学技術大学院大学
データ作成システムおよびデータ作成方法
1か月前
個人
バケット
7日前
個人
建物の不同沈下の修正方法
14日前
鈴健興業株式会社
敷板部材
1か月前
株式会社大林組
操縦装置
10日前
千代田工営株式会社
回転貫入杭
21日前
株式会社ネクステリア
平板基礎
1か月前
株式会社富田製作所
継手部構造
7日前
株式会社熊谷組
山留壁用親杭
27日前
株式会社熊谷組
地盤改良方法
1か月前
日立建機株式会社
作業機械
21日前
日立建機株式会社
作業車両
23日前
日立建機株式会社
建設機械
今日
日本車輌製造株式会社
建設機械
23日前
日立建機株式会社
建設機械
28日前
日立建機株式会社
作業機械
27日前
日立建機株式会社
作業機械
27日前
日立建機株式会社
建設機械
28日前
続きを見る
他の特許を見る