TOP
|
特許
|
意匠
|
商標
特許ウォッチ
Twitter
他の特許を見る
公開番号
2025150518
公報種別
公開特許公報(A)
公開日
2025-10-09
出願番号
2024051426
出願日
2024-03-27
発明の名称
積層型電池および積層型電池の製造方法
出願人
カナデビア株式会社
代理人
弁理士法人 HARAKENZO WORLD PATENT & TRADEMARK
主分類
H01M
10/04 20060101AFI20251002BHJP(基本的電気素子)
要約
【課題】製造不良が発生する可能性を低減する。
【解決手段】積層型電池(1A)は、所定方向に沿って配置された複数の集電体(2)と、複数の集電体(2)の間のそれぞれに配置された複数の電極体(3)と、集電体(2)の間であって、電極体(3)の周囲に隣接して設けられた絶縁部材(4)と、を備え、絶縁部材(4)は、電極体(3)よりも圧縮しやすい材料特性を有する第1圧縮材料を含む。
【選択図】図1
特許請求の範囲
【請求項1】
所定方向に沿って配置された複数の集電体と、
前記複数の集電体の間のそれぞれに配置された複数の電極体と、
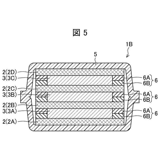
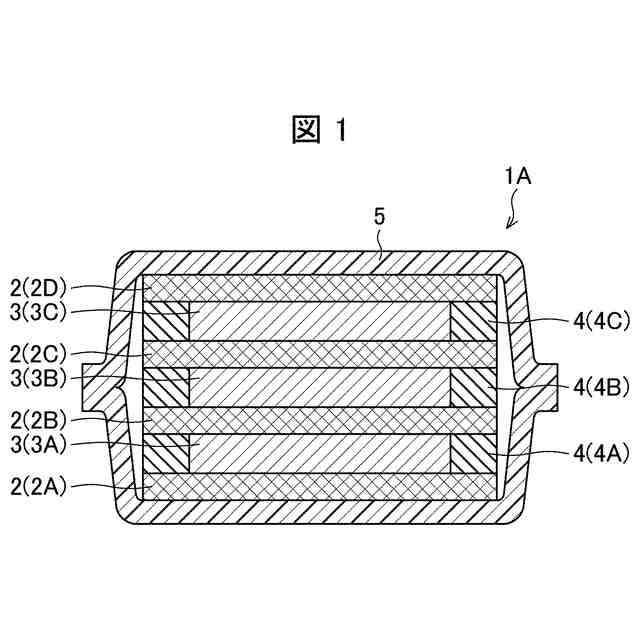
前記集電体の間であって、前記電極体の周囲に隣接して設けられた絶縁部材と、を備え、
前記絶縁部材は、前記電極体よりも圧縮しやすい材料特性を有する第1圧縮材料を含む、積層型電池。
続きを表示(約 1,200 文字)
【請求項2】
前記絶縁部材は、真空封止時に印加される圧力により前記絶縁部材の厚さが前記電極体の厚さ以下となるように構成されている、請求項1に記載の積層型電池。
【請求項3】
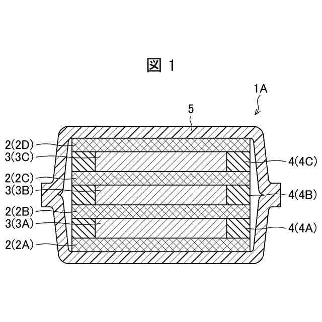
前記絶縁部材は、前記第1圧縮材料を含む第1層と、前記第1圧縮材料と圧縮のしやすさが異なる材料特性を有する第2圧縮材料を含む第2層とを備え、
前記絶縁部材は、真空封止後に前記絶縁部材の厚さと前記電極体の厚さがとが同等またはほぼ同等となるように構成されている、請求項1に記載の積層型電池。
【請求項4】
前記積層型電池は、外装体に装入して使用され、
前記絶縁部材は、前記積層型電池が前記外装体に装入される際に印加される圧力により前記絶縁部材の厚さと前記電極体の厚さとが同等またはほぼ同等となるように構成されている、請求項1に記載の積層型電池。
【請求項5】
前記積層型電池は、外装体に装入して使用され、
前記絶縁部材は、前記第1圧縮材料を含む第1層と、前記第1圧縮材料と圧縮のしやすさが異なる材料特性を有する第3圧縮材料を含む第2層とを備え、
前記絶縁部材は、前記積層型電池が前記外装体に装入される際に印加される圧力により前記絶縁部材の厚さと前記電極体の厚さとが同等またはほぼ同等となるように構成されている、請求項1に記載の積層型電池。
【請求項6】
前記第1圧縮材料は、樹脂、樹脂スポンジ、ゴム、および粘着剤から選択される1または2以上の部材から構成される、請求項1に記載の積層型電池。
【請求項7】
所定方向に沿って配置された複数の集電体と、前記複数の集電体の間のそれぞれに配置された複数の電極体と、前記集電体の間であって、前記電極体の周囲に隣接して設けられた絶縁部材と、を備える積層型電池を製造する積層型電池の製造方法であって、
前記集電体としての第1集電体上に前記絶縁部材を配置する第1工程、前記絶縁部材の間に前記電極体を配置する第2工程、および、前記電極体の前記集電体側とは反対側に前記集電体としての第2集電体を配置する第3工程を含む工程を少なくとも2回行うことにより、前記集電体および前記電極体が積層された第1構造体を作製する第1構造体作製工程と、
前記第1構造体を真空封止する真空封止工程と、を含み、
前記絶縁部材は、前記電極体よりも圧縮しやすい材料特性を有する第1圧縮材料を含む、積層型電池の製造方法。
【請求項8】
前記絶縁部材は、前記第1圧縮材料を含む第1層と、前記第1圧縮材料よりも圧縮しにくい材料特性を有する第3圧縮材料を含む第2層とを備え、
前記第1工程において、前記第2層を前記第1層よりも前記集電体に近い位置に配置する、請求項7に記載の積層型電池の製造方法。
発明の詳細な説明
【技術分野】
【0001】
本発明は、積層型電池などに関する。
続きを表示(約 1,600 文字)
【背景技術】
【0002】
集電体と電極体とが交互に積層され、真空封止された積層型電池が広く用いられている。このような積層型電池では、特許文献1に記載されているように、隣接する集電体間の短絡を防ぐためおよび/または電極体を位置決めするために電極体の周囲に絶縁部材が設けられる場合がある。
【先行技術文献】
【特許文献】
【0003】
国際公開2012-014730号
【発明の概要】
【発明が解決しようとする課題】
【0004】
特許文献1に記載の技術のように電極体の周囲に絶縁部材が設けられる場合では、真空封止後に隣接する電極体と集電体とを接触させるためには、絶縁部材の厚さを電極体の厚さ以下にする必要がある。しかしながら、真空封止前に絶縁部材の厚さを薄くした場合、電極体の平坦度が低いと絶縁部材の間に電極体を位置させる際に電極体が絶縁部材に乗り上げ積層不良を起こす虞がある。
【0005】
また、積層数が多い場合、電極体の厚さの合計と絶縁部材の厚さの合計との差が大きくなり、絶縁部材と集電体とが接触できず、隣接する集電体を絶縁部材により固定できなくなる虞があるとともに、真空封止したときの圧力が電極体の端部に印加され電極体が損傷する虞がある。
【0006】
本発明の一態様は、製造不良が発生する可能性を低減することができる積層型電池およびその製造方法を実現することを目的とする。
【課題を解決するための手段】
【0007】
上記の課題を解決するために、本発明の一態様に係る積層型電池は、所定方向に沿って配置された複数の集電体と、前記複数の集電体の間のそれぞれに配置された複数の電極体と、前記集電体の間であって、前記電極体の周囲に隣接して設けられた絶縁部材と、を備え、前記絶縁部材は、前記電極体よりも圧縮しやすい材料特性を有する第1圧縮材料を含む。
【0008】
上記の課題を解決するために、本発明の一態様に係る積層型電池の製造方法は、所定方向に沿って配置された複数の集電体と、前記複数の集電体の間のそれぞれに配置された複数の電極体と、前記集電体の間であって、前記電極体の周囲に隣接して設けられた絶縁部材と、を備える積層型電池を製造する積層型電池の製造方法であって、前記集電体としての第1集電体上に前記絶縁部材を配置する第1工程、前記絶縁部材の間に前記電極体を配置する第2工程、および、前記電極体の前記集電体側とは反対側に前記集電体としての第2集電体を配置する第3工程を含む工程を少なくとも2回行うことにより、前記集電体および前記電極体が積層された第1構造体を作製する第1構造体作製工程と、前記第1構造体を真空封止する真空封止工程と、を含み、前記絶縁部材は、前記電極体よりも圧縮しやすい材料特性を有する第1圧縮材料を含む。
【発明の効果】
【0009】
本発明の一態様によれば、製造不良が発生する可能性を低減することができる。
【図面の簡単な説明】
【0010】
本発明の実施形態1に係る積層型電池の構成を示す断面図である。
上記積層型電池の製造の手順の一例を示すフローチャートである。
上記積層型電池の製造方法の一例を説明するための模式図である。
上記積層型電池の製造方法の一例を説明するための模式図である。
本発明の実施形態2に係る積層型電池の構成を示す断面図である。
本発明の実施形態3に係る積層型電池の構成を示す断面図である。
上記積層型電池の製造の手順の一例を示すフローチャートである。
本発明の実施形態4に係る積層型電池の構成を示す断面図である。
【発明を実施するための形態】
(【0011】以降は省略されています)
この特許をJ-PlatPat(特許庁公式サイト)で参照する
関連特許
カナデビア株式会社
サクション基礎
9日前
カナデビア株式会社
封止装置および電池製造方法
15日前
カナデビア株式会社
全固体電池およびその製造方法
10日前
カナデビア株式会社
電池製造装置および電池製造方法
11日前
カナデビア株式会社
電池製造装置および電池製造方法
15日前
カナデビア株式会社
情報処理装置および情報管理システム
8日前
カナデビア株式会社
積層型電池および積層型電池の製造方法
9日前
カナデビア株式会社
全固体電池の製造方法および電池製造装置
9日前
カナデビア株式会社
線形摩擦接合方法および線形摩擦接合装置
10日前
カナデビア株式会社
吸収転換触媒及び炭化水素化合物の製造方法
1か月前
カナデビア株式会社
診断装置、診断方法、および診断プログラム
1か月前
カナデビア株式会社
情報処理装置、学習方法、および学習プログラム
11日前
カナデビア株式会社
情報処理装置、学習方法、および学習プログラム
8日前
カナデビア株式会社
異常検知システム、異常検知方法、及び制御プログラム
19日前
カナデビア株式会社
樹脂シートの押出成形装置及び樹脂シートの押出成形方法
1か月前
カナデビア株式会社
制御装置、水電解システム、制御方法および制御プログラム
9日前
カナデビア株式会社
情報処理装置、情報処理プログラム、情報処理システムおよび情報端末装置
8日前
カナデビア株式会社
情報処理装置、形状差分モデルの生成方法、推定方法、および推定プログラム
2か月前
カナデビア株式会社
スケジュール管理装置、スケジュール管理方法、及びスケジュール管理プログラム
17日前
国立大学法人 奈良先端科学技術大学院大学
データ作成システムおよびデータ作成方法
29日前
日本発條株式会社
積層体
19日前
個人
フレキシブル電気化学素子
8日前
ローム株式会社
半導体装置
17日前
ローム株式会社
半導体装置
17日前
ローム株式会社
半導体装置
10日前
株式会社ユーシン
操作装置
8日前
個人
防雪防塵カバー
19日前
日新イオン機器株式会社
イオン源
4日前
ローム株式会社
半導体装置
17日前
ローム株式会社
半導体装置
15日前
株式会社GSユアサ
蓄電設備
8日前
株式会社GSユアサ
蓄電設備
8日前
個人
半導体パッケージ用ガラス基板
18日前
株式会社ホロン
冷陰極電子源
15日前
株式会社ホロン
冷陰極電子源
2日前
株式会社GSユアサ
蓄電装置
15日前
続きを見る
他の特許を見る