TOP
|
特許
|
意匠
|
商標
特許ウォッチ
Twitter
他の特許を見る
公開番号
2025164948
公報種別
公開特許公報(A)
公開日
2025-10-30
出願番号
2025144751,2023146404
出願日
2025-09-01,2023-09-08
発明の名称
タップ切換台
出願人
株式会社ダイヘン
代理人
個人
,
個人
主分類
H01F
29/02 20060101AFI20251023BHJP(基本的電気素子)
要約
【課題】電気絶縁性が高いタップ切換台を提供する。
【解決手段】変圧器に用いられるタップ切換台1であって、複数のタップ端子3を有する台部2と、一端部が台部2に設けられ、他端部がアース端子に固定される、絶縁性の固定脚部4とを備える。
【選択図】図1
特許請求の範囲
【請求項1】
変圧器に用いられるタップ切換台であって、
複数のタップ端子を有する台部と、
一端部が前記台部に設けられ、他端部がアース端子に固定される、絶縁性の固定脚部と
を備えるタップ切換台。
続きを表示(約 270 文字)
【請求項2】
前記台部は板形状であり、
前記固定脚部は前記台部に対して斜めに延びている請求項1に記載のタップ切換台。
【請求項3】
前記固定脚部に設けられ、前記固定脚部の長さ方向と交差する方向に延びる凹凸部を備える請求項1に記載のタップ切換台。
【請求項4】
前記固定脚部は熱可塑性樹脂製である請求項1に記載のタップ切換台。
【請求項5】
前記台部は熱可塑性樹脂製であり、
前記台部及び前記固定脚部は一体形成されている請求項1から4の何れか一項に記載のタップ切換台。
発明の詳細な説明
【技術分野】
【0001】
本発明は、タップ切換台に関する。
続きを表示(約 1,000 文字)
【背景技術】
【0002】
従来、変圧器におけるタップを切り替える絶縁性のタップ切換台が用いられていた(特許文献1,2参照)。このような絶縁性のタップ切換台は、コイルを備えた巻鉄心を固定するための鉄心締付金具に設けられたアース端子に取り付けられている。
【先行技術文献】
【特許文献】
【0003】
特開平6-112060号公報
特開平6-112061号公報
【発明の概要】
【発明が解決しようとする課題】
【0004】
タップ切換台はタップ端子を有するので、タップ端子と前記アース端子との電気絶縁を確保しないといけない。しかし、特許文献1,2においては、タップ端子とアース端子との電気絶縁について十分に検討されていない。
【0005】
本発明は斯かる事情に鑑みてなされたものであり、電気絶縁性が高いタップ切換台を提供することを目的とする。
【課題を解決するための手段】
【0006】
本発明に係るタップ切換台は、変圧器に用いられるタップ切換台であって、複数のタップ端子を有する台部と、一端部が前記台部に設けられ、他端部がアース端子に固定される、絶縁性の固定脚部とを備える。
【発明の効果】
【0007】
本発明によれば、電気絶縁性が高いタップ切換台を提供できる。
【図面の簡単な説明】
【0008】
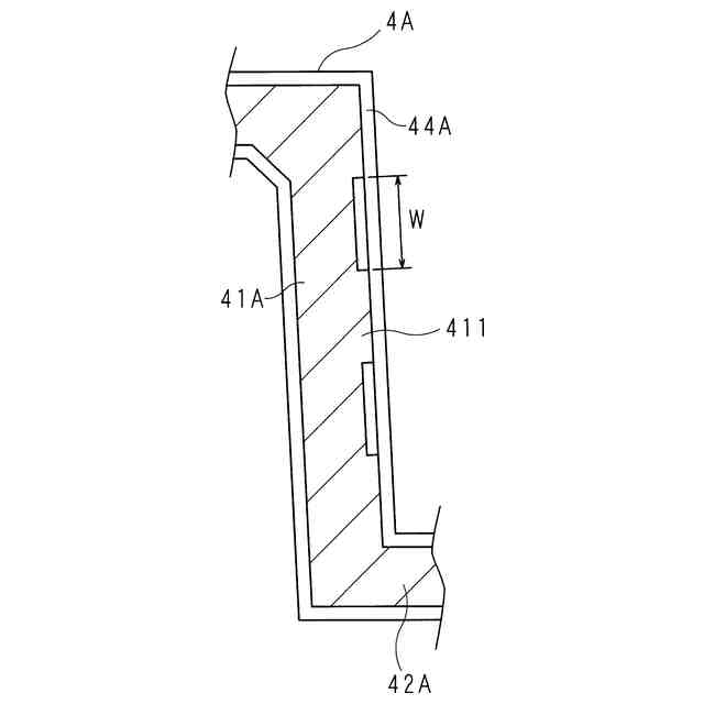
実施形態1に係るタップ切換台の斜視図である。
実施形態1に係るタップ切換台の正面図及び底面図である。
実施形態2に係るタップ切換台の斜視図である。
実施形態2に係るタップ切換台の正面図及び底面図である。
図4Bの破線楕円部の拡大断面図である。
【発明を実施するための形態】
【0009】
以下、本発明をその実施の形態を示す図面に基づいて説明する。
【0010】
(実施形態1)
図1は、実施形態1に係るタップ切換台1の斜視図であり、図2は、実施形態1に係るタップ切換台1の正面図及び底面図である。図2Aは、タップ切換台1の正面図であり、図2Bは底面図である。説明の便宜上、実施形態1では、単相用のタップ切換台1を挙げて説明する。
(【0011】以降は省略されています)
特許ウォッチbot のツイートを見る
この特許をJ-PlatPat(特許庁公式サイト)で参照する
関連特許
株式会社ダイヘン
充電装置
26日前
株式会社ダイヘン
充電装置
26日前
株式会社ダイヘン
制御装置
26日前
株式会社ダイヘン
充電装置
26日前
株式会社ダイヘン
搬送装置
26日前
株式会社ダイヘン
充電装置
26日前
株式会社ダイヘン
溶接トーチ
1日前
株式会社ダイヘン
溶接電源装置
26日前
株式会社ダイヘン
電極交換装置
1日前
株式会社ダイヘン
回生ユニット
27日前
株式会社ダイヘン
電力システム
29日前
株式会社ダイヘン
電力変換装置
29日前
株式会社ダイヘン
研削システム
1日前
株式会社ダイヘン
パルス電源装置
26日前
株式会社ダイヘン
絶縁紙巻回装置
1か月前
株式会社ダイヘン
変圧器組立装置
26日前
株式会社ダイヘン
インバータ装置
26日前
株式会社ダイヘン
プラズマ発生器
1か月前
株式会社ダイヘン
インバータ装置
21日前
株式会社ダイヘン
レーザ接合装置
1日前
株式会社ダイヘン
熱加工用電源装置
7日前
株式会社ダイヘン
積層造形システム
6日前
株式会社ダイヘン
積層造形システム
6日前
株式会社ダイヘン
ロボットシステム
1か月前
株式会社ダイヘン
積層造形システム
6日前
株式会社ダイヘン
ロボットシステム
1か月前
株式会社ダイヘン
パワーモジュール
26日前
株式会社ダイヘン
パワーモジュール
26日前
株式会社ダイヘン
パワーモジュール
26日前
株式会社ダイヘン
熱加工用電源装置
13日前
株式会社ダイヘン
溶接ワイヤ送給装置
1日前
株式会社ダイヘン
直流パルス電源装置
27日前
株式会社ダイヘン
溶接ワイヤ送給機構
1日前
株式会社ダイヘン
アーク溶接システム
26日前
株式会社ダイヘン
溶接ワイヤ送給機構
1日前
株式会社ダイヘン
制御装置及び研削システム
26日前
続きを見る
他の特許を見る