TOP
|
特許
|
意匠
|
商標
特許ウォッチ
Twitter
他の特許を見る
10個以上の画像は省略されています。
公開番号
2025163974
公報種別
公開特許公報(A)
公開日
2025-10-30
出願番号
2024067656
出願日
2024-04-18
発明の名称
車両用空気調和装置
出願人
サンデン株式会社
代理人
個人
主分類
B60H
3/00 20060101AFI20251023BHJP(車両一般)
要約
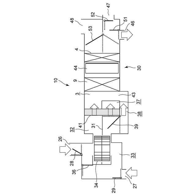
【課題】車両の窓ガラスを曇らせず、車室内の快適性を保ちながら、効率的な車室内空調を実現することができる車両用空気調和装置を提供する。
【解決手段】車両用空気調和装置は、内部に空気を流通させる室内送風機34と温度調節部20が設けられたHVAC10と、HVAC10内に構成され、導入された外気が流通する外気通路32と、HVAC10内に構成され、吸引された内気を換気として車室外に排出する換気通路37と、外気通路32と換気通路37とに跨がって配置されたデシカントロータ41と、デシカントロータ41の回転を制御する制御装置を備え、制御装置は、デシカントロータ41の回転数を変更する。
【選択図】図1
特許請求の範囲
【請求項1】
内部に空気を流通させる送風機と温度調節部が設けられたHVACと、
該HVAC内に構成され、当該HVAC内に導入された外気が流通する外気通路と、
前記HVAC内に構成され、当該HVAC内に吸引された内気を換気として車室外に排出する換気通路と、
前記外気通路と前記換気通路とに跨がって配置されたデシカントロータと、
該デシカントロータの回転を制御する制御装置を備え、
該制御装置は、前記デシカントロータの回転数を変更することを特徴とする車両用空気調和装置。
続きを表示(約 1,200 文字)
【請求項2】
前記制御装置は、車両の窓ガラスが曇らない範囲において、車室内湿度を上げる方向で前記デシカントロータの回転数を調整することを特徴とする請求項1に記載の車両用空気調和装置。
【請求項3】
前記制御装置は、
前記デシカントロータを所定の高回転数で回転させることで全熱交換機能とし、
前記高回転数より低く、前記デシカントロータがデシカント機能となる所定の低回転数よりも高い所定の中回転数で前記デシカントロータを回転させることで、当該デシカントロータを中間機能とすることを特徴とする請求項1に記載の車両用空気調和装置。
【請求項4】
前記制御装置は、車両の窓ガラスの表面温度と、前記窓ガラス近傍の空気の露点温度とに基づき、前記デシカントロータの回転数を調整することを特徴とする請求項3に記載の車両用空気調和装置。
【請求項5】
前記制御装置は、前記窓ガラス近傍の空気の露点温度が、前記窓ガラスの表面温度に基づいて設定される所定の閾値を超えない範囲において、車室内湿度を上げる方向で前記デシカントロータの回転数を調整することを特徴とする請求項4に記載の車両用空気調和装置。
【請求項6】
前記制御装置は、前記窓ガラス近傍の空気の露点温度が前記閾値より低い場合、前記デシカントロータの回転数を高くし、前記窓ガラス近傍の空気の露点温度が前記閾値以上の場合、前記デシカントロータの回転数を低くする方向で変更することを特徴とする請求項5に記載の車両用空気調和装置。
【請求項7】
前記制御装置は、
外気の絶対湿度が内気の絶対湿度よりも低く、且つ、外気の相対湿度が内気の相対湿度よりも高い場合、前記デシカントロータの回転数を前記中回転数とし、当該デシカントロータを中間機能とすることを特徴とする請求項3に記載の車両用空気調和装置。
【請求項8】
前記制御装置は、外気の絶対湿度が内気の絶対湿度より高い場合、前記デシカントロータの回転数を前記高回転数とし、当該デシカントロータを全熱交換機能とすることを特徴とする請求項7に記載の車両用空気調和装置。
【請求項9】
前記デシカントロータは、前記HVAC内を流通する空気の流れにおいて、前記送風機の下流側であって、前記温度調節部より上流側に配置されていることを特徴とする請求項1乃至請求項8のうちの何れかに記載の車両用空気調和装置。
【請求項10】
前記温度調節部は、
冷媒を放熱させて前記HVAC内を流通する空気を加熱するための放熱器と、
冷媒を吸熱させて前記HVAC内を流通する空気を冷却するための吸熱器を備えたことを特徴とする請求項9に記載の車両用空気調和装置。
(【請求項11】以降は省略されています)
発明の詳細な説明
【技術分野】
【0001】
本発明は、車両の車室内を空調する車両用空気調和装置に関するものである。
続きを表示(約 1,900 文字)
【背景技術】
【0002】
従来より車両用空気調和装置は、車室外から導入された外気と車室内から吸引された内気が流通するHVAC内に、例えば冷媒回路を構成する放熱器や吸熱器から成る温度調節部を配置し、この温度調節部にて冷却、加熱された空気を車室内に吹き出して空調するものであった。その場合、HVACには外気が流通する外気通路と、吸引した内気を換気として排出する換気通路が設けられるが、それらを交差させる交差部に全熱交換器を配設して空調効率を改善するものも考案されていた(例えば、特許文献1参照)。
【0003】
即ち、前記特許文献1では、HVACを経て車室内に導入する外気と、HVACに吸引された内気の内、車室外に排出される分、即ち、換気の潜熱(湿度)と顕熱(温度)を全熱交換器で熱交換することで、夏季は高温高湿の外気と低温低湿の換気を熱交換して外気をより低温低湿とする。また、冬季は低温低湿な外気を高温高湿の換気により加熱加湿して車室内に供給することで、冷暖房負荷を減らすことができるものであった。
【先行技術文献】
【特許文献】
【0004】
特開昭57-138413号公報
特開2016-70577号公報
特開2019-82308号公報
【発明の概要】
【発明が解決しようとする課題】
【0005】
しかしながら、夏季は問題が無いものの、車両用空気調和装置としては冬季に問題が生じる。その理由を図11の空気線図を用いて説明する。図11において縦軸は絶対湿度、横軸は温度(乾球温度)、曲線は相対湿度である。また、図中の点Paは冬季の外気の温度・湿度、点Prは冬季の換気(車室内から排出される内気)の温度・湿度(空調が安定した状態)であり、この例の場合、外気(Pa)の温度は+5(℃)、絶対湿度は0.003(kg/kg)、相対湿度は50(%)、換気の温度(Pr)は25(℃)、絶対湿度は0.006(kg/kg)、相対湿度は30(%)であるものとする。即ち、外気の相対湿度が換気(内気)の相対湿度以上の場合である。
【0006】
この状態で外気と換気を全熱交換すると、図中細い実線矢印で示す如く外気は加湿されて絶対湿度が上がるため、車両の窓ガラス(特にフロントガラス)が曇ってしまい、車両の走行が危険となる問題があった。また、冬季に内気循環にすると搭乗者の呼気により窓ガラスの曇りが生じるため、外気導入率を多くしなければならなくなり、空調負荷が増大する。
【0007】
一方、家屋の空調装置では、デシカントロータにより外気と換気を熱交換させるものも開発されている(例えば、特許文献2、特許文献3参照)。その場合、特許文献2ではデシカントロータの回転数を切り換えることで全熱交換機能とデシカント機能を切り替えられるようにしていた。即ち、デシカントロータの回転数を所定の高回転数(例えば、480rph~1200rph)とすることで全熱交換機能とし、所定の低回転数(例えば、2rph~20rph)とすることでデシカント機能とするものであった。更に、特許文献3ではデシカントロータの回転数の切替以外に、冷媒流路の切替もするといった複雑な操作を行っていた。
【0008】
しかしながら、これを車両用空気調和装置に採用した場合、冬季にデシカントロータの回転数を高回転数として全熱交換機能とすると、外気が内気により加湿/加熱されるため、車室内の湿度が上がりすぎて上述した全熱交換器の場合と同様に窓ガラスが曇ってしまう。尚、これは家屋では特に安全上の問題とはならない。
【0009】
また、冬季にデシカントロータの回転数を低回転数としてデシカント機能とすると、外気の絶対湿度が換気(内気)の絶対湿度よりも低く、且つ、外気の相対湿度が換気(内気)の相対湿度よりも高いとき、相対湿度が高い外気は水分を吸着するときの発熱により加熱されるものの、図11中に破線矢印で示す如く外気の絶対湿度が下がるため(温度が上がるため相対湿度も下がる)、車室内の湿度が下がり過ぎ、搭乗者が不快に感じる問題が生じる。
【0010】
本発明は、係る従来の技術的課題を解決するためになされたものであり、車両の窓ガラスを曇らせず、且つ、車室内の快適性を保ちながら、効率的な車室内空調を実現することができる車両用空気調和装置を提供することを目的とする。
【課題を解決するための手段】
(【0011】以降は省略されています)
この特許をJ-PlatPat(特許庁公式サイト)で参照する
関連特許
サンデン株式会社
情報処理装置
5日前
サンデン株式会社
電力変換装置
2か月前
サンデン株式会社
可変容量型圧縮機
5日前
サンデン株式会社
スクロール圧縮機
1か月前
サンデン株式会社
スクロール圧縮機
1か月前
サンデン株式会社
スクロール圧縮機
1か月前
サンデン株式会社
車両用空気調和装置
5日前
サンデン株式会社
車両用空気調和装置
5日前
サンデン株式会社
車両用空気調和装置
5日前
サンデン株式会社
熱マネジメントシステム
5日前
サンデン株式会社
スクロール式コンプレッサ
1か月前
サンデン株式会社
車両用熱マネジメントシステム
1か月前
サンデン株式会社
車両用熱マネジメントシステム
1か月前
サンデン株式会社
車両用熱マネジメントシステム
1か月前
サンデン株式会社
車両用熱マネジメントシステム
1か月前
サンデン株式会社
車両用熱マネジメントシステム
1か月前
サンデン株式会社
充電制御システム及び配車管理システム
5日前
サンデン株式会社
電動圧縮機用モータ及びそれを備えた電動圧縮機
1か月前
個人
カーテント
5か月前
個人
タイヤレバー
3か月前
個人
前輪キャスター
2か月前
個人
上部一体型自動車
1か月前
個人
ホイルのボルト締結
4か月前
個人
ルーフ付きトライク
2か月前
個人
タイヤ脱落防止構造
2か月前
個人
車輪清掃装置
5か月前
個人
空間形成装置
5日前
井関農機株式会社
作業車両
4か月前
日本精機株式会社
表示装置
3か月前
日本精機株式会社
表示装置
3か月前
個人
キャンピングトライク
4か月前
日本精機株式会社
表示装置
2か月前
日本精機株式会社
表示装置
3か月前
個人
マスタシリンダ
1か月前
個人
車両通過構造物
3か月前
井関農機株式会社
作業車両
4か月前
続きを見る
他の特許を見る